фермиевскими функциями распределения, соответствующими мгновенным концентрациям nc (t), nc1 (t) и p(t) электронов и дырок. Так в форму-
лах (5.26) фигурирует функция распределения fcc электронов в зоне c, со- |
||
|
1 |
|
ответствующая энергии εc (kcc(l ) ) в точке l-фотонного резонанса kcc(l ) |
между |
|
1 |
1 |
|
зонами c и c1: |
|
|
fcc1 ={exp (εc (kcc(l )1 ) − μc (nc )) |
kBT +1}−1 . |
(5.29) |
Аналогичным образом вводятся функции распределения fc и fp электронов в зоне c и дырок в зоне v, соответствующие энергиям εc (k(vcn) ) и εv (k(vcn) ) в точке n-фотонного резонанса k(vcn) между зонами v и c. В случае
относительно больших квантов возбуждающего света (hω t 1 эВ) и не очень малых продолжительностей световых импульсов (τI t 1 пс) такое приближение оказывается не очень плохим с учетом малых сечений внутризонного поглощения света и коротких времен внутризонной релаксации
электронов и дырок. Разумеется, в области бóльших длин волн (hω d 0.1 эВ) пользоваться этим приближением нельзя (см. [67]).
Для вычисления химических потенциалов μc и μp ( μp > 0) для элек-
тронов и дырок, фигурирующих в формулах для функций распределения, воспользуемся трансцендентными уравнениями:
|
|
|
nc (t) |
−Φ |
|
(μ* ) |
= 0, |
|
p(t) |
−Φ |
(μ* ) |
= 0 |
, |
(5.30) |
|||||||||||
|
|
|
|
|
|
|
|||||||||||||||||||
|
|
|
Nc (T ) |
|
1/ 2 |
|
|
c |
|
|
|
|
N p (T ) |
1/ 2 |
|
p |
|
|
|
||||||
|
|
|
|
|
|
|
|
|
|
|
|
|
|
|
|
|
|
|
|
|
|||||
где, μ |
= μ |
c, p |
k T , |
N |
c |
и N |
p |
обозначают эффективные плотности состоя- |
|||||||||||||||||
c, p |
|
B |
|
|
|
|
|
|
|
|
|
|
|
|
|
|
|
|
|
|
|||||
ний в зоне проводимости и валентной зоне: |
|
|
|
|
|
|
|||||||||||||||||||
|
|
Nc |
|
2πmckBT |
3/ 2 |
|
|
|
|
2πmvkBT |
|
3/ 2 |
|
(5.31) |
|||||||||||
|
|
= 2 |
(2πh) |
2 |
|
|
, |
|
N p = 2 |
(2πh) |
2 |
|
, |
|
|||||||||||
|
|
|
|
|
|
|
|
|
|
|
|
|
|
|
|
|
|
||||||||
Ф1/2(x) – интеграл Ферми-Дирака: |
|
|
|
|
|
|
|
|
|
|
|
||||||||||||||
|
|
|
|
|
|
Φ1/ 2 (x) = |
2 |
|
∞ |
|
z1 2dz |
. |
|
|
|
|
(5.32) |
||||||||
|
|
|
|
|
|
π ∫0 1+ exp(z − x) |
|
|
|
|
|||||||||||||||
|
|
|
|
|
|
|
|
|
|
|
|
|
|
|
|
|
|
|
|||||||
Таким образом, требуется получить самосогласованное решение системы нелинейных дифференциальных уравнений (5.26) и трансцендентных уравнений (5.30). Сложность этой задачи делает невозможным качественный анализ динамики системы типа того, что был проведён в § 2.4, и получение простых формул для пороговых интенсивностей света и времен установления квазиравновесных населенностей в электронной системе. Поэтому будем использовать результаты численных расчётов, которые приводятся в следующем параграфе.
83
§ 5.5. Результаты численного решения уравнений баланса
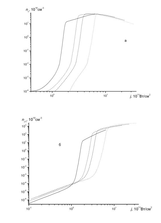
На рис. 5.6-5.7 приведены результаты численного решения уравнений (5.26-5.30) для случая l = 2. На рис. 5.6 (а, б, в) сплошными линиями даются зависимости квазиравновесных концентраций электронов в обеих зонах проводимости (nc, nc1 ) и дырок в валентной зоне (p) от интенсивности све-
та. На этих рисунках штриховыми линиями показаны те же зависимости, рассчитанные с теми же параметрами, но без учета трехфотонных процессов оже-типа. На рис. 5.6 (г) дается зависимость времени установления квазиравновесных населенностей τeq от интенсивностей. Отметим следующие качественные особенности этих зависимостей. Имеется четко выраженное скачкообразное увеличение концентраций неравновесных носителей с ростом j вблизи порогового значения (при выбранных значениях параметров jth ≈ 2.7 1010 Вт/см2). При этом значении интенсивности происходит резкое возрастание времени τeq. Указанные особенности являются типичными для эффекта фотонной лавины, причем в рассматриваемом случае реализуется многофотонная лавина. Видно также, что концентрации неравновесных носителей при j > jth оказываются на 1-2 порядка выше, чем при обычных многофотонных межзонных переходах с вероятностями, рассчитанными при тех же значениях параметров.
На рис. 5.6 (г) видно, что при j ~ 1012 Вт/см2 время τeq ~ 1 пс. При уменьшении интенсивности j времена τeq быстро возрастают и для j ~ 1011 Вт/см2 оказываются уже в наносекундном диапазоне, тогда как максимальный практический интерес представляет взаимодействие с твердыми телами более коротких импульсов. Поэтому следует также рассмотреть генерацию неравновесных электрон-дырочных пар при продолжительностях лазерных импульсов τp, малых по сравнению с τeq.
На рис. 5.7 (а, б, в) показаны зависимости от интенсивности концентраций nc, nc1 и p, возникших в результате действия импульсов с продол-
жительностями 1, 5, 10 и 50 пс. Приведенные зависимости построены для импульсов, имеющих гауссову форму. Видно, что и здесь имеется область чрезвычайно резкого роста концентраций с увеличением интенсивности (при росте j на 30-40% концентрации возрастают на 4-5 порядков). При этом возможна ситуация, когда совсем небольшого увеличения интенсивности света оказывается достаточным для перехода от обратимого предпробойного возбуждения материала к его деструкции, возникающей при концентрациях неравновесных носителей, превышающей 1019 см−3. Если обозначить через jth′ интенсивность, вблизи которой скорость изменения,
например, p(j) максимальна, то имеем следующую приближенную зависи-
мость: j′ τ −1
3 .
th p
84
85
Рис. 5.6. Зависимости квазиравновесных концентраций электронов в зонах c (a), c1 (б), дырок в зоне v (в) и времени установления квазиравновесных концентраций (г) от интенсивности света для случая l = 2; штриховая линия (а, б, в) – те же зависимости, рассчитанные без учета процесса c1 + 3hω → ccv ; в расче-
тах использовались следующие значения параметров: Eg = 5.5 эВ, Eg′ = 2.28 эВ,
Ñω = 1.17 эВ, mc =0.9 m, m = 0.03m , mv = 0.9 m, |
d |
c |
= 3×10-4 |
см3/пс, dc=0.01 |
c |
|
|
|
|
1 |
|
1 |
|
|
см3/пс, Wc1c =1.0 пc-1, T = 103 K, ε¶ = 4.5, ε0 = 12.4, p0 = 1014 см-3, n0 = 1014 см-3
86
87