Материал: Біологічна та біоорганічна хімія_Мардашко О.О._ изд. 2008-342 с._ОНМедУ-2012

Внимание! Если размещение файла нарушает Ваши авторские права, то обязательно сообщите нам

близьких за будовою пепсинів. З пепсиногену I утворюються пепсин А і пепсин В, а з пепсиногену II — пепсин С (гастриксин). Вони виявляють максимальну активність при різних значеннях рН: пепсини А і В — при рН=1,5–1,8, а гастриксин — при рН=2,0–3,0. Співвідношення гастриксин/пепсин у нормі дорівнює 1 : 5, змінюється при патологічних станах (наприклад, при виразці шлунка становить 1 : 4, при гіперацидному гастриті — 1 : 3). При переважанні рослинного білка в їжі пептидні зв’язки в ньому розщеплюються за допомогою гастриксину.

Перетворення неактивного пепсиногену на активний пепсин відбувається за участю Н+ соляної кислоти і пепсину шляхом обмеженого протеолізу, тобто відщепленням від молекули пепсиногену кількох пептидів, один з яких має властивості інгібітора пепсину. У результаті відщеплення пептидів поліпептидний ланцюг пепсиногену (молекулярна маса 42 000) коротшає, вивільняється активний центр ферменту, і пепсиноген перетворюється на пепсин (молекулярна маса

— близько 32 700). Під дією пепсину розщеплюються пептидні зв’язки в глибині молекули білка, тобто пепсин є ендопептидазою. У шлунку пепсин гідролізує пептидні зв’язки в білках, утворені ароматичними амінокислотами, розщеплює практично всі білки, за винятком кератину, протамінів, гістонів і мукопротеїнів. У шлунку дітей грудного віку виявляє високу активність фермент ренін (сичуговий фермент). За структурою він близький до пепсину, також складається з одного поліпептидного ланцюга з молекулярною масою близько 40 000. Однак за механізмом і специфічністю дії ренін різко відрізняється від пепсину. Головне призначення реніну — відщеплення пептиду від білка молока казеїногену. При цьому казеїноген перетворюється на казеїн, а останній взаємодіє з солями кальцію з утворенням казеїнату кальцію, який погано розчинний у воді, тому випадає в осад на слизову шлунка, що сприяє затримці його в шлунку на більш тривалий час і розщепленню пепсином. У дорослих людей ренін мало активний і перетворення казеїногену на казеїн відбувається під дією пепсину. У шлунку також піддаються розщепленню складні білки, нуклеопротеїни і хромопротеїни. Під дією соляної кислоти і пепсину вони перетворюються на прості білки, нуклеїнові кислоти і гем.

Основним джерелом пепсину в організмі є головні клітини, що синтезують і виділяють пепсиноген I. Обкладкові клітини (у людини) продукують соляну кислоту і внутрішній фактор. Ендокринні клітини хаотично розміщені по всій поверхні кислотопродукуючого епітелію і представлені ентерохромафіноподібними клітинами (секретують гістамін) і D-клітинами (синтезують і виділяють соматостатин). Слизові клітини синтезують і виділяють пепсиноген II. Основні ендокринні клітини: гастринвмісні G-клітини і соматостатинвмісні D-клітини.

Роль обкладкових клітин у секреції HCl

При активації обкладкових клітин гастрином або гістаміном у них утворюються внутрішні секреторні канальці, необхідні для секреції соляної кислоти. Ключовим ферментом, що визначає здатність обкладкових клітин активно транспортувати Н+ проти хімічного градієнта, є Na+, К+- АТФаза. На кожний виділений у порожнину шлунку протон (Н+) у цитоплазмі обкладкової клітини залишається один іон ОН. Для запобігання розвитку внутрішньоклітинного алкалозу і загибелі клітини фермент карбоангідраза каталізує утворення НСО3з СО2 і ОН:

Карбоангідраза

ОН+ СО2 НСО3

Бікарбонат-іон, який утворюється в даній реакції, переноситься через мембрану в обмін на Сl. Таким чином, на кожний протон, виділений у порожнину шлунка, надходить одна молекула НСО3. Здатність активованих обкладкових клітин підвищувати місцеву концентрацію цього буфера (НСО3/СО2) в своєму безпосередньому мікрооточенні оберігає їх від ушкодження, зумовленого зворотною дифузією іонів Н+ із порожнини шлунка в тканину.

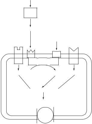
Регулятори секреції шлункового соку

Основні стимулятори секреції шлункового соку — це гастрин, гістамін, ацетилхолін. Відомо, що обкладкові клітини іннервуються як власними нервами, так і парасимпатичною нервовою системою (рис. 16.1).

Ацетилхолін, що виділяється нервовими закінченнями, зв’язується мускариновими рецепторами (М3) і активує фосфатидилінозитолову систему.

Гістамін діє на специфічні Н2-рецептори обкладкових клітин, активуючи аденілатциклазу, у результаті чого підвищується рівень цАМФ у цитоплазмі, активуються протеїнкінази і фосфорилуються білки, що регулюють іонні канали в канальцевих мембранах.

Гастрин — це основний ендокринний стимулятор обкладкових клітин. Він синтезується, зберігається і виділяється G-клітинами антрального епітелію. Активність цих ендокринних клітин регулюється вмістом порожнини шлунково-киш- кового тракту, нервової системи і паракринними факторами.

Основними стимуляторами виділення гормону гастрину є білки, амінокислоти і пептиди, а соляна кислота — його потужний інгібітор. Виділення гастрину пригнічується при рН=2,0–2,5. Секреція гастрину G-клітинами може пригнічуватися соматостатином, який виділяється розташованими поряд D-клітинами. Паракринна регуляція може відігравати роль у пригніченні секреції гастрину кислотою, що стимулює виділення соматостатину D-клітинами.

234

Гастрин

 

ЕХЛ

 

Гістамін

 

Ацетил-

ПГЕ2 Гастрин

холін

 

Gs АЦ Gi

Ca2+ АТФ

цАМФ

Са2+

Протеїнкінази

Фосфорилування білків

К+

Н+

Рис. 16.1. Регулювання секреції кислоти парентальними клітинами шлунка (ЕХЛ — ентерохромафіноподібний кислотопродукуючий епітелій; АЦ — аденілатциклаза)

Вплив гастрину на секрецію соляної кислоти

Гастрин стимулює обкладкові клітини прямим і непрямим шляхом. По-перше, він безпосередньо зв’язується з рецептором на обкладкових клітинах і підвищує рівень фосфатидилінозитолової системи й іонів Са2+ в цитозолі, де відбувається фосфорилування ключових білків, які беруть участь у трансформації обкладкової стінки. Подруге, гастрин впливає на ентерохромафіноподібні клітини, спричинюючи викид гістаміну, який паракринно стимулює обкладкові клітини (цАМФ — «вторинний месенджер»).

Блокатори Н2-рецепторів — циметидин (тагамет), ранітидин (зантак), фамотидин (пепсид) — знижують секрецію соляної кислоти і сприяють загоєнню виразок шлунка.

Основні фази шлункової секреції такі. Церебральна фаза забезпечує при їді секрецію

20–30 % соляної кислоти, що починається у момент вживання їжі (до її надходження в шлунок) або навіть викликається виглядом, запахом і смаком апетитної їжі. Ця фаза перебуває під впливом блукаючого нерва, який іннервує обкладкові або G-клітини.

Шлункова фаза забезпечує при їді секрецію 60–70 % соляної кислоти, починається після надходження їжі в шлунок. Вона регулюється нервовими, хімічними і ендокринними впливами на

обкладкові клітини. Як довгі (ваговагальні), так і короткі (внутрішні) нервові шляхи діють на обкладкові клітини або безпосередньо, або змінюючи секрецію гастрину чи соматостатину.

Кишкова фаза забезпечує під час надходження їжі секрецію близько 10 % соляної кислоти, розпочинається, коли їжа потрапляє в тонку кишку. Вона частково зумовлена викидом гастрину з проксимальних відділів дванадцятипалої кишки, оскільки близько 30 % гастрину в організмі виділяється з проксимальних відділів тонкого кишечнику. Кишкова фаза секреції шлункового соку пов’язана також із розтягненням тонкої кишки хімусом.

Перетравлювання білків у тонкому кишечнику

Зі шлунка в тонкий кишечник потрапляють білки і пептиди, де під дією протеолітичних ферментів підшлункової залози і слизової оболонки тонкого кишечнику вони розщеплюються до амінокислот. У підшлунковій залозі виробляються такі ферменти, як трипсин, хімотрипсин, карбоксипептидаза, еластаза, колагеназа; у слизовій тонкого кишечнику — ентерокіназа, амінопептидаза, дипептидаза. Ферменти підшлункової залози виробляються в неактивній формі, у вигляді проферментів, надходять через панкреатичну протоку до тонкої кишки, де відбувається їхнє перетворення на активні форми ферментів. Трипсиноген перетворюється на трипсин під дією спочатку ентерокінази, а потім — автокаталітично. При цьому відбувається відщеплення з N-кінця гексапептиду і відповідно — вкорочення поліпептидного ланцюга. Процес перебігає за участю іонів кальцію. Оптимум дії трипсину проявляється при рН=7,8. Він діє як ендопептидаза, розщеплює близько 1/3 всіх пептидних зв’язків білків і високомолекулярних пептидів. Трипсин має вузьку субстратну специфічність, розриваючи пептидні зв’язки, в утворенні яких беруть участь карбоксильні групи аргініну і лізину (діамінокарбонові амінокислоти).

З підшлункової залози в кишечник надходить також хімотрипсиноген. Розрізняють хімотрипсиноген А і В, які незначно розрізняються за амінокислотним складом. У кишечнику хімотрипсиноген А і В під впливом активного трипсину і хімотрипсину піддаються обмеженому протеолізу. У результаті відщеплення від молекул хімотрипсиногену А і В поліпептидів вони перетворюються з неактивних форм на активні. При цьому утворюється ціла група хімотрипсинів з однаковою протеолітичною специфічністю, але з різною активністю. Хімотрипсин є також ендопептидазою, але має ширшу субстратну специфічність, ніж трипсин. Він гідролізує пептидні зв’язки, в утворенні яких беруть участь карбоксильні групи ароматичних амінокислот — фенілаланіну, тиро-

зину.

Завдяки гідролітичній дії на білки пепсину, трипсину і хімотрипсину утворюються пептиди різної довжини і незначна кількість вільних амінокислот. Подальший гідроліз пептидів до

235

вільних амінокислот здійснюється під впливом групи ферментів. Ці ферменти відщеплюють по одній амінокислоті від пептидного ланцюга і тому належать до екзопептидаз. Карбоксипептидази синтезуються підшлунковою залозою й активуються трипсином у кишечнику. Розрізняють дві карбоксипептидази — А і В. Карбоксипептидаза А розриває переважно пептидні зв’язки, утворені С-кінцевими ароматичними амінокислотами, а карбоксипептидаза В — зв’язки, в утворенні яких беруть участь С-кінцеві аргінін або лізин, тобто основні амінокислоти.

Фізіологічні функції панкреатичного соку

Панкреатичний сік містить ферменти, необхідні для розщеплення вуглеводів, ліпідів і білків їжі на компоненти, які всмоктуються активним і пасивним шляхом в тонкому кишечнику. Без цих ферментів перетравлення їжі порушується, спостерігається синдром мальабсорбції й настає смерть. Тому хворим із недостатньою функцією підшлункової залози разом з їжею призначають панкреатичні ферменти.

Роль секретину при кишковій фазі секреції панкреатичного соку

Секретин виділяється в кров S-клітинами дванадцятипалої кишки. Головний стимул виділення секретину — підвищення кислотності вмісту дванадцятипалої кишки. Під дією секретину відбувається секреція бікарбонату НСО3, який нейтралізує кислий вміст, що надходить зі шлунка в проксимальні відділи дванадцятипалої кишка, тому що оптимум дії ферментів підшлункової залози і кишечнику перебуває в межах рН 7,0– 8,0 — для захисту слизової оболонки кишечнику від ушкоджуючої дії соляної кислоти, оскільки слизова оболонка кишечнику, на відміну від шлунка, не має такого могутнього захисного бар’єру.

Механізм секреції НСО3

В ацинарних клітинах підшлункової залози відбуваються синтез і секреція всіх панкреатичних ферментів і електролітів (NaCl і NaHCO3). Ці клітини мають Na+, K+-АТФазу, яка регулює обмін трьох іонів Na+ з клітини на два іони K+. Цим створюється електрохімічний потенціал, який сприяє зворотній дифузії Na+ в клітину і супроводжується паралельним виведенням із неї протонів (Н+) шляхом вторинного активного транспорту з участю Na+/H+ транспортних систем. Іони ОН, що залишилися в клітині, взаємодіють із СО2 під дією карбоангідрази; НСО3, що утворився, активно переноситься в обмін на іон Cl. Для збереження електронейтральності секрету в порожнину проток надходять іони Na+, де вони зв’язуються з НСО3з утворенням NaHCO3.

Роль холецистокініну при кишковій фазі панкреатичної секреції

Надходження білків, ліпідів або продуктів їх розщеплення в дванадцятипалу кишку активує викид гормону холецистокініну, який стимулює секрецію панкреатичних ферментів (активує фосфатидилінозитолову систему).

Амінопептидази продукуються в клітинах слизової оболонки тонкого кишечнику і також активуються трипсином. У результаті дії на пептиди карбокси- й амінопептидаз в остаточному підсумку залишаються дипептиди (що складаються з двох амінокислот), на які діють специфічні дипептидази, що розщеплюють дипептиди на окремі амінокислоти. Крім згаданих протеолітичних ферментів, у тонкому кишечнику на білки діють також еластаза і колагеназа, що синтезуються підшлунковою залозою і активуються в кишечнику трипсином. Обидва ферменти належать до ендопептидаз. Еластаза гідролізує еластин сполучної тканини, а колагеназа — колаген кісткової й хрящової тканин.

Складні білки (зокрема, нуклеопротеїни, хромопротеїни й інші) у тонкому кишечнику під впливом трипсину і хімотрипсину розщеплюються до білків і відповідних простетичних груп. Білки піддаються гідролізу до амінокислот за участю перерахованих вище ферментів. Далі під впливом дезоксирибонуклеази і рибонуклеази ДНК і РНК розщеплюються на нуклеотиди, а нуклеотиди під впливом нуклеотидаз — на нуклеозиди. Топографічно основні процеси гідролізу білків, вуглеводів і жирів перебігають на поверхні слизової оболонки кишечнику, що дістало назву пристінкового травлення.

Всмоктування продуктів гідролізу білків

Через мембрани клітин слизової оболонки тонкого кишечнику в кров всмоктуються переважно амінокислоти й у невеликих кількостях — низькомолекулярні пептиди. Всмоктування амінокислот відбувається шляхом пасивного транспорту, полегшеної дифузії, а також переважно шляхом активного транспорту за участю специфічних білків-переносників і АТФ.

Внутрішній фактор (фактор Касла) відіграє істотну роль у зв’язуванні та перенесенні вітаміну В12 через слизову оболонку дистальних відділів тонкого кишечнику.

Розщеплення нуклеопротеїнiв

ушлунково-кишковому тракті

Ворганізмі нуклеїновi кислоти входять до складу клітин і надходять із продуктами харчування в шлунково-кишковий тракт у виглядi нуклеопротеїнiв.

Нуклеопротеїни = протеїни + нуклеїновi кислоти.

HCl, пепсин

 

Білки

 

Нуклеопротеїн

Нуклеїнові кислоти

У шлунку нуклеопротеїни під дією соляної кислоти і пепсину розщеплюються на прості білки і нуклеїновi кислоти. Під впливом соляної кислоти розриваються переважно сольові зв’язки між нуклеїновими кислотами і білками основного характеру (протамінами і гістонами), а більш стійкі зв’язки при рН шлункового соку (рН=1,5– 2,5) розщеплюються пепсином.

236

 

 

 

 

 

 

Трипсин

 

 

 

рювання, аналогічне поліневриту (бері-бері) у

 

 

 

 

 

 

 

 

 

Пепсин (шлунок)

Хімотрипсин

 

Амінокислоти

людини. При додаванні до очищеного рису ри-

Білки

 

 

Карбокси-

 

(тонкий

сових висівок у людей і курчат захворювання не

 

 

 

 

 

 

пептидази

 

 

кишечник)

розвивалося, а виготовлений із висівок рису екс-

 

 

 

 

 

 

Амінопептидази

 

 

 

 

 

 

 

 

тракт мав лікувальний ефект у людей, хворих на

 

 

 

 

 

 

 

 

 

 

 

 

 

 

 

 

 

 

 

 

 

 

 

 

бері-бері. Ці спостереження довели, що в оболонці

Білки в шлунку і тонкiй кишцi пiддаються

рису містяться якісь речовини, необхідні для нор-

гідролізу до амінокислот, що всмоктуються в ки-

мальної життєдіяльності організму. У 1911 р.

шечнику.

 

 

 

 

 

 

польський учений К. Функ виділив у крис-

Нуклеїновi кислоти під дією ферментів нукле-

талічній формі з рисових висівок речовину, що

аз тонкого кишечнику і підшлункової залози

охороняла від розвитку бері-бері. При аналізі

розщеплюються до олiгонуклеотидiв і полiнук-

хімічного складу цієї речовини вчений виявив

леотидiв, а далі — до мононуклеотидiв:

аміногрупу. З огляду на важливе значення подіб-

 

 

 

 

 

 

 

 

 

 

 

 

них речовин для життя й наявність аміногрупи

 

 

 

 

 

 

 

 

 

 

Олігонуклеотиди

в складі виділеної ним речовини, К. Функ запро-

 

 

 

 

 

 

 

 

 

 

Нуклеїнові кислоти

 

Ендонуклеази

 

понував називати ці невідомі речовини «вітамі-

 

 

нами», що означає «аміни життя». Згодом ви-

 

 

 

 

 

 

 

 

 

 

Полінуклеотиди

 

 

 

 

 

 

 

 

 

 

явилося, що деякі з вітамінів не містять аміногру-

 

 

 

 

 

 

 

 

 

 

 

 

 

 

 

 

 

 

 

 

 

 

пу і взагалі азот, однак термін «вітаміни» міцно

Мононуклеотиди під дією ферментів тонкої

вкорінився в біології та медицині.

кишки нуклеотидаз розпадаються на нуклеози-

Вітаміни — це різноманітні за хімічною струк-

ди і неорганічний фосфат:

 

 

 

турою речовини. Більшість із них швидко руйну-

 

 

 

 

 

 

 

 

 

 

 

 

ються під дією високих температур, сильних кис-

Нуклеотид

Нуклеозидаза

Нуклеозид + Н3РО4

лот і лугів, іонізуючого випромінювання та

 

 

 

 

 

інших факторів, що необхідно враховувати при

 

 

 

 

 

 

 

 

 

 

 

 

 

 

 

 

 

зберіганні та консервуванні продуктів, виготов-

Нуклеозиди далі розщеплюються під дією нук-

ленні лікарських форм, які містять вітаміни.

леозидаз:

 

 

 

 

 

 

Більшість вітамінів синтезуються не в організмі

 

 

 

Нуклеозидаза

 

 

 

людини, а рослинами і кишковими бактеріями,

 

 

 

 

 

 

тому джерелом вітамінів для людини є продукти

Нуклеозид

 

 

 

 

 

Азотиста основа + Пентоза

 

 

 

переважно рослинного походження. Деякі вітамі-

 

 

 

 

 

 

 

 

 

 

 

 

 

 

 

ни (РР, D, К) утворюються в організмі людини в

Однак внаслідок малої активності нуклеози-

таких незначних кількостях, які не забезпечують

даз основними продуктами, що всмоктуються че-

потреб організму. Вітаміни А i D людина одер-

рез слизову оболонку тонкої кишки, є мононук-

жує разом із продуктами тваринного походжен-

леотиди, які включаються в тканинний обмін.

ня (молоко, масло, риб’ячий жир), інші містяться

 

 

 

 

 

 

 

 

 

 

 

 

у рослинах (фолієва кислота). Отже, вітаміни —

 

 

 

 

 

 

 

 

 

 

 

 

це харчові речовини, наявні в невеликих кілько-

 

 

 

 

 

 

 

 

 

 

 

 

стях у їжі, вони забезпечують нормальний пе-

16.3. ВІТАМІНИ ЯК КОМПОНЕНТИ

ребіг біохімічних і фізіологічних процесів шляхом

участі в регуляції обміну цілісного організму.

ХАРЧУВАННЯ: ЕКЗОГЕННІ

 

 

Незамінні амінокислоти, деякі рослинні ненаси-

ТА ЕНДОГЕННІ ГІПОВІТАМІНОЗИ.

чені жирні кислоти (лінолева, ліноленова й ін.)

ВОДОРОЗЧИННІ (КОФЕРМЕНТНІ)

також є незамінними для людини, оскільки вони

ВІТАМІНИ

 

 

 

 

 

 

не синтезуються в організмі. Однак в останньо-

 

 

 

 

 

 

 

 

 

 

 

 

му випадку згадані речовини не належать до

 

 

 

 

 

 

 

 

 

 

 

 

вітамінів, оскільки вітаміни відрізняються від

У 1880 р. російський учений М. І. Лунін про-

інших органічних речовин двома характерними

вів експериментальні дослідження на двох групах

ознаками: не включаються в структуру тканин;

мишей. Одна група одержувала штучно виго-

не використовуються організмом як джерело

товлене молоко з білків (казеїну), жирів, молоч-

енергії.

ного цукру, солей і води. Друга група мишей

При недостатньому надходженні в організм

одержувала свіже молоко. Перша група тварин

вітамінів, їх повній відсутності у споживаній їжі

загинула, а друга залишилася здоровою і нор-

або порушенні їхнього всмоктування, транспор-

мально розвивалася. На підставі цих досліджень

ту тощо розвиваються ті чи інші захворювання.

учений дійшов висновку, що, крім білків, жирів,

Хвороби, що виникають при повній відсутності

молочного цукру, солей і води, тварини мають

в їжі або повному порушенні засвоєння якого-

потребу в якихось ще невідомих речовинах, не-

небудь вітаміну, називаються авітамінозами.

обхідних для життя.

 

 

 

 

 

 

Хвороби, що виникають через недостатнє над-

У 1886 р. голландський лікар Х. Ейкман, який

ходження вітамінів з їжею або погане їх засвоєн-

працював в’язничним лікарем на о. Ява, де ос-

ня, називаються гіповітамінозами. Гіпо- й авіта-

новним продуктом харчування людей був полі-

мінози можуть бути первинними (екзогенними) й

рований (очищений) рис, помітив, що у курчат,

вторинними (ендогенними). Первинні гіпо- й аві-

які одержували полірований рис, виникло захво-

тамінози виникають при недостатній або повній

237

відсутності вітамінів у їжі. Вторинні гіпо- й аві-

лота, біотин, вітамін С та ін., до жиророзчинних

тамінози виникають тоді, коли організм не може

— вітаміни А, D, Е і К. Коли хімічна будова й ме-

засвоювати або використовувати ті вітаміни, які

ханізм дії вітамінів ще не були відомі, їх позна-

є в їжі, або ж витрачає їх у великій кількості. Це

чали літерами латинського алфавіту (перша на-

спостерігається:

 

 

 

зва). З дослідженням хімічної структури вони

а) при порушенні процесу всмоктування

одержували раціональну (другу) назву (В1

вітамінів при захворюваннях шлунково-кишко-

тіамін, В2 — рибофлавін і т. ін.). Третю назву

вого тракту;

 

 

 

вітамін одержував, виходячи з його основного

б) при порушеннях кишкової мікрофлори,

біологічного ефекту, іноді з префіксом «анти» або

коли мікроорганізми спричинюють посилений

«а», що підкреслювало здатність вітаміну запо-

розпад вітамінів у кишечнику або посилюється

бігати або усувати розвиток відповідного захво-

використання вітамінів кишковою мікрофлорою;

рювання (В1 — тіамін, антиневритний, аневрин

в) при підвищеній потребі у вітамінах при де-

тощо). Характерною рисою вітамінів, розчинних

яких фізіологічних і патологічних станах (ва-

у воді, є те, що більшість із них беруть участь у

гітність, лактація, тиреотоксикоз та ін.).

побудові молекул коферментів. Коферменти (або

У дітей іноді спостерігають вітамінзалежні ста-

простетичні групи) — це відносно низькомолеку-

ни, коли явища авітамінозу виникають на фоні

лярні органічні сполуки небілкової природи, що

забезпечення вітамінами у дозах добової потре-

беруть участь разом з апоферментом у хімічних ре-

би, і позбавитись авітамінозу можна призначен-

акціях. Доведена коферментна роль для таких

ням мегадоз вітамінів. Спостерігаються явища

вітамінів: В1, В2, РР, В6, В12, ліпоєвої, фолієвої, пан-

авітамінозів, які не корегуються навіть мегадоза-

тотенової кислот,

біотину,

убіхінону.

ми вітамінів (вітамінрезистентні стани) і зумов-

 

 

 

 

 

 

 

 

 

 

 

 

 

лені вродженими або спадковими порушеннями

 

 

 

 

 

 

 

 

 

 

 

 

 

обміну вітамінів (всмоктування, перетворення на

Вітамін В1

(тіамін, антиневритний

коферментну форму), зокрема порушенням синтезу

вітамін, аневрин)

 

 

 

 

ферментного білка, у якого коферментом є той чи

Хімічна структура. Тіамін складається з двох

інший вітамін.

 

 

 

 

 

 

гетероциклічних сполук: піримідину, зв’язаного

Зустрічаються також патологічні стани —

гіпервітамінози, позв’язані з надходженням над-

з метильною групою й аміногрупою, і тіазолу,

мірних кількостей вітамінів у організм. Особли-

зв’язаного з метильною і гідроксіетильною гру-

во часті гіпервітамінози при призначенні з ліку-

пами. Похідні піримідину і тіазолу з’єднані між

вальною метою високих доз жиророзчинних

собою метиленовою групою.

вітамінів (рис. 16.2).

 

 

 

 

 

 

NH2

 

 

 

 

 

 

 

 

 

За фізико-хімічними властивостями (зокрема

 

 

N

CH

 

N+

 

CH

розчинністю) вітаміни поділяють на дві групи:

 

 

 

 

2

 

 

 

 

3

 

 

 

H3C

 

 

 

 

 

 

 

CH2 CH2OH

водорозчинні й жиророзчинні. До водорозчин-

 

N

 

 

 

S

 

 

 

 

 

 

 

 

 

них вітамінів належать В1, В2, РР, В6, В12, ліпоє-

 

 

 

 

Тіамін

 

 

 

 

ва кислота, пантотенова кислота, фолієва кис-

 

 

 

 

 

 

 

 

 

 

 

 

 

 

 

 

 

 

 

 

 

 

 

 

 

 

 

 

 

 

 

Надходження з їжею

 

 

 

 

 

 

 

 

 

 

 

 

 

Ендогенний синтез

 

 

 

 

 

 

 

 

 

 

 

 

 

 

 

 

 

 

 

 

 

 

 

 

 

 

 

 

 

 

 

 

 

 

Не виконують функції:

 

 

ВІТАМІНИ

 

 

 

 

 

 

 

 

Реалізують функції

— структурну;

 

 

 

 

 

 

 

 

 

 

через ферментні системи

 

 

 

 

 

 

 

 

 

— енергетичну

 

 

 

 

 

 

 

 

 

 

 

 

 

 

 

 

 

 

 

 

 

 

 

 

 

 

 

 

 

 

 

 

 

 

 

 

 

 

 

 

 

 

 

 

 

 

 

 

 

 

 

 

 

 

 

 

 

 

 

 

 

 

 

 

 

Авітамінози, гіповітамінози

 

 

 

 

 

 

 

 

Гіпервітамінози

 

 

 

 

 

 

 

 

 

 

 

 

 

 

 

 

 

 

 

Екзогенні

 

Ендогенні:

 

 

а) підвищення потреби;

 

 

 

б) посилений розпад у ШКТ;

 

 

в) порушення всмоктування

 

 

 

 

 

 

Вітамінзалежні стани

 

Вітамінрезистентні стани

(мегавітамінна терапія)

 

(вроджені порушення обміну

 

 

і функції вітамінів)

 

 

 

 

 

Рис. 16.2. Роль вітамінів у харчуванні

238