Материал: Авдеев Е.Ф., Ющенко Н.Е. Лабораторный практикум по курсу Механика жидкости и газа

Внимание! Если размещение файла нарушает Ваши авторские права, то обязательно сообщите нам

Из уравнения Д. Бернулли, записанного для узкого и широкого сечений (рис. 6.1), имеем

h

=

α(V 2

V 2 )

p p

(6.13)

 

1

 

2

2

1

 

 

 

 

в.р.

 

 

2g

 

 

ρg

 

 

 

 

 

 

 

или

 

 

α(V 2

V 2 )

 

 

 

h

=

h .

(6.14)

 

1

 

2

 

в.р.

 

 

2g

 

 

 

 

 

 

 

 

 

 

 

 

Подставляя в (6.14) выражение для потерь напора при внезапном расширении

 

h

= ξ

 

 

V 2

 

 

 

 

 

 

 

 

 

 

 

 

 

 

 

 

2

 

 

,

 

 

 

 

 

 

 

 

 

(6.15)

 

в.р. 2g

 

 

 

 

 

 

 

 

 

 

 

 

в.р.

 

 

 

 

 

 

 

 

 

 

 

 

 

 

 

 

найдем

 

 

 

 

 

 

 

 

 

 

 

 

 

 

 

 

 

 

 

 

 

 

 

 

 

 

 

 

 

2

 

 

 

 

 

2g

 

 

h

 

 

 

 

ξв.р. = α

 

V1

1

 

 

.

 

 

(6.16)

2

 

 

V

2

 

 

 

 

 

 

 

 

V

 

 

 

 

 

 

 

 

 

 

 

 

 

 

 

 

 

 

 

2

 

 

 

 

 

 

 

 

2

 

 

 

 

 

Если принять α = 1 и заменить

V 2

=

 

d 4

 

, а

V =

4Q

, то выра-

1

 

 

 

2

 

 

 

 

 

 

 

 

 

 

 

V 2

 

 

 

d 4

 

 

 

 

2

πd 2

 

жение (6.16) примет вид

 

 

 

 

 

 

 

 

2

 

 

 

 

 

1

 

 

 

 

 

2

 

 

 

 

 

 

 

 

 

 

 

 

 

2

 

 

 

 

 

 

 

 

 

4

 

 

 

 

 

 

2

 

2g

h

 

 

 

ξвн.р. =

d2

1

 

 

πd2

 

 

 

 

,

 

(6.17)

4

 

 

 

 

Q

2

 

d1

 

 

 

 

 

4

 

 

 

 

 

 

 

 

 

 

где Q – объемный расход; d1 и d2 – диаметры соответственно узкого и широкого сечений трубы.

Аналогично получается выражение для коэффициента местного сопротивления при внезапном сужении

 

2

2

2g

h

 

4

 

 

ξв.с. =

πd1

 

+

d1

1 .

(6.18)

Q

2

4

 

4

 

 

d2

 

 

Цель работы

1.Определить тарировочный коэффициент расходомерной шайбы.

2.Определить коэффициенты местных сопротивлений при внезапном сужении и внезапном расширении трубы; сравнить полученные значения с расчетными.

41

Описание экспериментальной установки

Работа выполняется на экспериментальной установке, описанной в лабораторной работе №4, однако с заменой трубы 12 на трубу с внезапным расширением и внезапным сужением.

Порядок выполнения работы

1.Измерить объемный расход и перепад давления при протекании потока через мерную диафрагму (шайбу).

2.Измерить объемный расход и разность пьезометрических высот на участках внезапного расширения и внезапного сужения трубы.

3.Повторить замеры при трех различных расходах.

4.Результаты замеров занести в таблицу.

Расчет

1.По измеренным значениям объемных расходов и перепадам пьезометрических высот на диафрагме, пользуясь формулой (6.12), вычислить тарировочный коэффициент С. Определить его среднее значение.

2.По измеренным значениям объемных расходов и перепадам пьезометрических высот по формулам (6.17) и (6.18) вычислить экспериментальные значения коэффициентов местных сопротивлений соответственно внезапного расширения и внезапного сужения. Определить их средние величины и сравнить с расчетными и табличными значениями.

Контрольные вопросы

1.Почему тарировочный коэффициент расходомерной шайбы мало изменяет свою величину? Чем могут быть обусловлены его изменения?

2.Запишите выражение для потерь давления при внезапном расширении через скорость в узком сечении.

3.Почему в широкой части трубы пьезометрическая высота больше?

4.Почему поток при внезапном расширении движется в сторону большего давления? Когда будет обратное движение?

5.Больше или меньше была бы разность пьезометрических высот на участке внезапного расширения (сужения) при отсутствии сопротивления?

42

Таблица измеренных и вычисленных величин

 

Диафрагма

Внезапное

 

Внезапное

 

расширение

 

сужение

 

 

 

 

 

Q , см3

 

 

 

 

 

 

 

 

 

 

h , м

 

 

 

 

 

 

 

 

 

 

С

 

 

 

 

 

 

 

 

 

 

ξ

 

 

 

 

 

 

 

 

 

 

 

 

 

 

d1=

 

d1=

 

 

 

 

d2=

 

d2=

ЛАБОРАТОРНАЯ РАБОТА №7

Определение коэффициента расхода при истечении жидкости из малых отверстий и из насадков

При истечении жидкости из отверстий и насадков основными задачами, интересными с практической стороны, могут быть определение расхода при постоянном напоре или определение времени опорожнения резервуара.

Малым считается такое отверстие, характерный размер которого значительно меньше напора, под которым происходит истечение; в этом случае можно принять, что напор по сечению отверстий не изменяется.

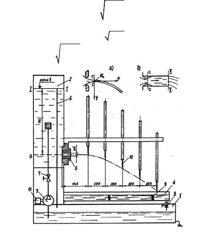
Характерной особенностью истечения из отверстия является сжатие струи на выходе. В случае круглого отверстия наиболее сжатое сечение обычно находится от плоскости отверстия на расстоянии, равном половине его диаметра.

Сжатие струи характеризуют коэффициентом сжатия струи ε, который вводится как отношение площади сжатого сечения струи σc к площади отверстия σо:

ε =

σс

(7.1)

 

σ

 

Расход жидкости Q при истечении из отверстия определяется, если будет известна средняя скорость Vc в сжатом сечении

Q =Vcσc

или (с учетом (7.1))

 

Q =εσоVc .

(7.2)

 

43

Скорость Vc легко определяется из уравнения Д. Бернулли, записанного для сечения 1–1, совпадающего со свободной поверхностью, и сжатого сечения струи С–С (рис. 7.1):

 

 

 

 

H +

p

 

p

 

 

αV 2

V 2

 

 

 

 

 

 

a

=

a

+

c

 

c

,

(7.3)

 

 

 

 

ρg

ρg

 

 

 

 

 

 

 

 

 

2g

c 2g

 

где ξ

V 2

– потери удельной энергии на сжатие потока на выходе

 

c

c 2g

 

 

 

 

 

 

 

 

 

 

 

 

 

 

 

из отверстия. Из уравнения (7.3) получим

 

 

 

 

 

 

 

 

 

 

 

V =

 

 

2gH

 

 

 

 

 

 

 

 

 

 

 

 

c

 

 

α+ξc

 

 

 

 

 

 

 

 

 

 

 

 

 

 

 

 

 

 

или

 

 

 

 

 

 

 

 

 

 

 

 

 

 

 

 

 

 

 

 

 

 

 

Vc = ϕ

2gH ,

 

 

 

(7.4)

где величину ϕ =

1

 

называют коэффициентом скорости.

 

 

 

 

 

 

 

 

α+ ξc

 

 

 

 

 

 

 

 

 

 

Рис. 7.1. Принципиальная схема установки

44

Подставив в формулу (7.2) выражение для скорости, найдем

 

Q =μσо 2gH ,

(7.5)

где

μ = ϕε

(7.6)

называется коэффициентом расхода.

 

Из выражения (7.5) найдем

 

 

μ =

Q

 

 

 

.

(7.7)

 

σо 2gH

Коэффициент расхода μ определяется, если будет известно действительное значение расхода Q.

Коэффициент расхода можно определить и другим путем по известным значениям коэффициентов скорости ϕ и сжатия ε (форму-

ла 7.6).

Коэффициент сжатия ε при истечении из круглого отверстия согласно формуле (7.1) находится по измеренным значениям диаметров сжатого сечения струи dc и отверстия dо:

2

 

ε =

dc

.

(7.8)

 

do

 

Диаметр сжатого сечения можно определить при помощи шайбы с четырьмя микрометрическими винтами или другим путем.

Для отверстий иных форм площадь сжатого сечения струи определить труднее.

Поскольку всякий коэффициент местного сопротивления зависит в общем случае от числа Рейнольдса (Re), то коэффициент расхода μ должен согласно (7.6) также зависеть от числа Рейнольдса. До Re 102 эта зависимость почти линейная, при больших числах Рейнольдса для круглых отверстий μ 0.62 (рис. 7.2)

Детальные исследования показывают, что на величину μ влияют также числа Фруда и Вебера, т.е. силы тяжести и поверхностного натяжения.

В этом случае уравнения движения частиц, имеющих начальную скорость Vc, будут иметь вид

x =V t ,

y =

gt

2

,

 

 

c

 

2

 

 

 

 

 

 

где х, у – продольная и поперечная координаты. Исключая время t, найдем

45