1. Какие виды пшеничных заквасок Вы знаете?
2. Какие микроорганизмы входят в состав различных заквасок для пшеничного теста?
3. Каковы преимущества использования разных видов заквасок?
4. Какие виды заквасок применяют при приготовлении ржаного или ржано-пшеничного теста?
5. Что такое разводочный и производственный циклы приготовления закваски?
6. Каков видовой состав молочнокислых бактерий густой и жидкой заквасок для ржаного теста?
7. Какие виды лактобактерина Вы знаете?
Технологический процесс производства хлеба включает следующие стадии:
Пшеничная мука имеет довольно сложный химический состав: содержит углеводы, белковые вещества, пентозаны, липиды, целлюлозу, минеральные соединения. Многие из этих веществ в ходе технологического процесса потребляются микроорганизмами или претерпевают изменения под их воздействием.
Основным углеводом муки является крахмал, его содержание колеблется в зависимости от сорта муки в пределах 66–79 %. Кроме крахмала, в муке содержится от 0,7 до 2,0 % водорастворимых сахаров: глюкозы, фруктозы, мальтозы, сахарозы, раффинозы, мелибиозы и др. Эти соединения, как изначально присутствующие в муке (глюкоза, фруктоза, сахароза), так и появляющиеся в результате воздействия амилолитических ферментов муки на крахмал (мальтоза), имеют большое технологическое значение, обусловливая газообразующую способность муки.
Одним из важных показателей пшеничной муки является газообразующая способность, от которой зависят скорость технологического процесса, накопление продуктов метаболизма дрожжами. Газообразующая способность муки характеризуется количеством диоксида углерода, образующимся за установленный промежуток времени при брожении теста из определенного количества муки, воды и дрожжей. Газообразующая способность зависит в целом от сахаробразующей способности муки.
Сахарообразующая способность муки – это способность приготовленной из нее водно-мучной смеси образовывать при установленной температуре то или иное количество мальтозы.
В нормальной муке из непроросшего зерна пшеницы практически содержится только β-амилаза, тогда как в муке из проросшего зерна присутствует активная α-амилаза. Сахарообразующая способность пшеничной муки зависит от активности β-амилазы, кислотности теста (рН 5,7–5,9), крупности пшеничного крахмала и его атакуемости. Известно, что β-амилаза при действии на крахмал образует главным образом мальтозу и, наряду с ней, небольшое количество высокомолекулярных декстринов, в то время как α-амилаза образует в качестве основного продукта гидролиза крахмала низкомолекулярные декстрины и небольшое количество мальтозы.
Таким образом, под воздействием амилолитических ферментов клейстеризованный крахмал муки расщепляется до декстринов и далее – до мальтозы.
В тесте или опаре дрожжи сначала сбраживают собственные сахара муки – глюкозу и фруктозу, причем скорость сбраживания глюкозы несколько выше, чем фруктозы. Сахароза предварительно расщепляется под действием β-фруктофуранозидазы на глюкозу и фруктозу. Мальтоза начинает сбраживаться хлебопекарными дрожжами только после того, как все имеющееся количество моносахаридов практически исчерпано. Переключение дрожжей со сбраживания глюкозы и фруктозы на сбраживание мальтозы требует известной перестройки ферментного аппарата дрожжевой клетки, поэтому в данный период скорость газообразования временно снижается. После приспособления дрожжей к сбраживанию мальтозы скорость газообразования в тесте снова возрастает до тех пор, пока не начнет сказываться недостаток мальтозы в бродильной среде. Опарный способ приготовления теста позволяет дрожжам приспособиться к сбраживанию мальтозы уже в опаре. Вследствие этого в тесте, приготовленном на опаре, дрожжи сбраживают мальтозу более равномерно и интенсивно.
Мальтоза расщепляется под действием ά-глюкозидазы, выделяемой дрожжевыми клетками, до глюкозы, после чего глюкоза подвергается воздействию ферментного (зимазного) комплекса дрожжей. В процессе спиртового брожения, осуществляемого дрожжами, в тесте накапливаются этанол и диоксид углерода. Образовавшийся этанол частично улетучивается, а оставшийся участвует в формировании аромата хлеба. Диоксид углерода, выделяющийся при спир-товом брожении, разрыхляет тесто, придавая ему пористое строение, от которого зависит пористость мякиша выпеченного хлеба.
Целлюлозу, гемицеллюлозы, пентозаны, содержание которых в пшеничной муке составляет от 2,0 до 7,0 % в пересчете на сухие вещества, относят к группе пищевых волокон. Пищевые волокна содержатся в основном в периферийных частях зерна, поэтому их больше всего в муке высоких выходов. Эти соединения не усваиваются организмом человека, снижают энергетическую ценность муки, повышая при этом пищевую ценность муки и хлеба, так как они положительно воздействуют на перистальтику кишечника, нормализуют липидный и углеводный обмен в организме, способствуют выведению токсичных веществ. Пентозаны муки могут быть растворимыми и нерастворимыми в воде. Часть пентозанов способна легко набухать и растворяться в воде, образуя очень вязкий слизеобразный раствор. Пентозаны оказывают существенное влияние на реологические свойства пшеничного и ржаного теста. Из общего количества пентозанов пшеничной муки лишь 20–24 % являются водорастворимыми; в ржаной муке растворимых пентозанов больше – около 40 %. Нерастворимые пентозаны в тесте интенсивно набухают, связывая значительное количество воды.
Азотсодержащие вещества муки представлены разнообразными белками: альбуминами, глобулинами, глутелинами, проламинами. В муке содержатся также в незначительном количестве свободные аминокислоты и амиды. Глиадин, относящийся к группе проламинов, и глютенин нерастворимы в воде и ответственны за образование каркаса клейковины. Протеиназы муки расщепляют белки пшеницы и ржи, обогащая тесто водорастворимыми азотсодержащими соединениями, которые используются затем микроорганизмами. В расщеп-лении белков муки также участвуют протеиназы дрожжей. Расщепляя белки муки, протеолитические ферменты изменяют их коллоидные свойства, способность поглощать воду и набухать.
На интенсивность протекания протеолиза могут влиять соединения окислительного действия (кислород, пероксид водорода и др.), которые инактивируют протеиназы муки – ингибиторы протеолиза, и соединения восстановительного действия (цистеин, глютатион), активирующие протеиназы – активаторы протеолиза. Известно, что дрожжевые клетки содержат глютатион, особенно много его в дрожжах с истекшим сроком годности, контаминированных плесенями, хранившихся в неблагоприятных условиях. Использование таких дрожжей может привести к тому, что содержащийся в них избыточный глютатион активирует протеолитические ферменты, что негативно отразится на свойствах теста и хлеба (активный протеолиз сделает тесто слабым, липким, мажущимся; подовый хлеб будет расплывчатым, изделия будут иметь неразвитую пористость и т. д.)
Мука содержит до 2 % жиров и около 2 % минеральных веществ. Преобладающей является фракция собственно липидов, представленная моно-, ди-, триглицеридами и свободными жирными кис-лотами. Глицериды расщепляются липазами дрожжей на глицерин и жирные кислоты, которые используются дрожжевой клеткой. При участии фермента липоксигеназы ненасыщенные жирные кислоты образуют промежуточные перекисные соединения, обладающие высокой окислительной способностью.
Пшеничное тесто готовят двумя основными способами – опарным и безопарным. Целью приготовления опары является интенсивное размножение дрожжей и достижение ими высокой ферментативной активности.
На приготовление опары идет около 0,5 % общего количества муки, до 2/3 воды, все количество дрожжей. Количество дрожжей, вносимых в тесто, зависит от многих факторов: подъемной силы дрожжей, способа тестоведения, количества сдобящих веществ и др. При опарном способе приготовления хлеба в тесто вносят прессованные дрожжи в количестве 0,5–1,5 % к массе муки. Продолжи-тельность брожения опары 3,0–4,5 ч при ее начальной температуре 26–28 ºС. Опара имеет более высокую влажность, чем тесто. На выброженной опаре замешивают тесто, вносят остальную часть муки, воды и соли. Оно бродит 0,5–1,0 ч при оптимальной температуре.
При замесе теста безопарным способом вносят все количество муки, воды, соли и дрожжей, количество которых составляет 1,5–3,0 % от массы муки. Продолжительность брожения – 2–4 ч при оптимальной температуре.
На рис. 4.1 схематически показаны биохимические процессы, происходящие в тесте под действием ферментов муки и дрожжей.
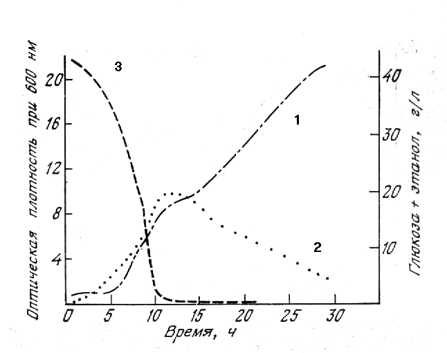
Размножение дрожжей в тесте и накопление продуктов метаболизма характеризуются кривыми на рис. 4.2.
В опаре дрожжи приспосабливаются к росту в мучной среде в анаэробных условиях. В первые 1,0–1,5 ч дрожжи не размножаются, но отмечается увеличение размеров клеток. Этот период соответствует лаг-фазе на кривой роста микроорганизмов в периодических условиях. В течение этого периода дрожжи синтезируют ферменты, необходимые для сбраживания углеводов муки. Затем происходит размножение дрожжей, они начинают быстро почковаться и превращать сахара муки в этанол и диоксид углерода. Начинается экспоненциальная фаза роста дрожжей. Она характеризуется максимальной скоростью роста и газообразования.

Рис. 4.1. Биохимические процессы, происходящие в тесте под действием ферментов муки и дрожжей
Дрожжи S. cerevisiae могут расти в условиях брожения с очень высокой скоростью, однако конечный выход клеток оказывается незначительным. Так, при замесе теста с использованием прессованных дрожжей количество клеток в 1 г теста составляет около 70 млн, а в конце созревания – 112–117 млн. При использовании жидких дрожжей их концентрация в тесте меньше и не превышает 25 млн в 1 г.
Р
ис.
4.2. Размножение дрожжей в периодическом
режиме
в анаэробных условиях:
1 – дрожжи; 2 – этанол; 3 – глюкоза
В периодических условиях размножение дрожжей с максимальной скоростью продолжается недолго – 4,5–5,0 ч. Если в это время замесить тесто на готовой опаре, продолжительность его брожения будет минимальной. По мере утилизации питательных веществ и накопления продуктов метаболизма скорость размножения дрожжей падает и начинается стационарная фаза, в которой одновременно с размножением одних клеток происходит отмирание и автолиз других. В фазе отмирания наблюдается массовый автолиз клеток.
В бродящих полуфабрикатах происходит размножение дрожжей и молочнокислых бактерий, осуществляющих спиртовое и молочнокислое брожение. Молочнокислые бактерии накапливают в тесте молочную кислоту, которая отрицательно действует на другие микроорганизмы, главным образом гнилостные. В то же время повышение кислотности среды благоприятно действует на размножение дрожжей. Дрожжи в процессе своей жизнедеятельности синтезируют витамины, необходимые для размножения требовательных к питанию молочнокислых бактерий.
Размножение дрожжей в тесте во многом определяется факторами внешней среды. Оптимальная температура роста дрожжей сахаромицетов и мезофильных молочнокислых бактерий 25–35 °С. Эти микроорганизмы относятся к гидрофитам и предпочитают размножаться в среде с высокой влажностью (активность воды для дрожжей не менее 0,85, а для молочнокислых бактерий - не менее 0,90). Поэтому, чем слабее консистенция теста, тем активнее в нем размножаются дрожжи и молочнокислые бактерии.
Для усиления процесса брожения и улучшения качества теста применяют технологическую операцию – обминку. Обминка – это повторное кратковременное перемешивание теста в тестомесильной машине в течение 1–3 мин. При обминке улучшаются условия питания дрожжей, так как они при этом попадают на новые участки теста и получают доступ к неиспользованным порциям питательных веществ субстрата. Обминка способствует удалению из теста диоксида углерода и дополнительному насыщению теста кислородом воздуха. Благодаря обминке активизируется процесс брожения, создается более мелкая и равномерная пористость теста. Обычно делают от одной до трех обминок. Количество обминок определяется качеством клейковины и густотой теста. Чем гуще тесто и сильнее клейковина, тем больше делается обминок. Тесто жидкое или со слабой клейковиной обычно готовят без обминок. Тесто, приготавливаемое с обминками, как правило, выше по качеству, чем тесто, приготавливаемое без обминок. Однако большое количество обминок вредно. При завышении числа обминок в тесте накапливается избыток молочной кислоты, который препятствует дальнейшему развитию дрожжей, и тесто после очередной обминки остается слабо разрыхленным. Это резко ухудшает вкус изделия, делает его слишком кислым.
На размножение дрожжей и молочнокислых бактерий в тесте отрицательно влияет избыточное количество хлорида натрия и сахара. При содержании хлорида натрия более 2,5–3,0 % брожение практически прекращается и вследствие высокого осмотического давления происходит плазмолиз дрожжевых клеток. Соль тормозит также размножение молочнокислых бактерий, в результате чего скорость накопления кислот в тесте резко падает. Сахар в концентрации, не превышающей 10 %, стимулирует ферментативную активность дрожжей и молочнокислых бактерий, скорость газообразования в тесте увеличивается. Однако при добавлении сахара в количестве 40–50 % брожение прекращается совсем, и плазмолиз дрожжевых клеток становится преобладающим. Нормальный процесс брожения нарушается также при содержании жира в тесте 10 % и более. В связи с этим для приготовления сдобного теста, в котором содержание сахара и жира может в сумме составлять 14 % и более, количество вносимых дрожжей повышают до 5 % к массе муки. В процессе приготовления сдобного теста иногда применяют технологическую операцию – отсдобку. В этом случае сдобящие вещества (жиры, сахара) добавляют не во время замеса теста, а лишь в самом конце брожения (за 30–40 мин до его окончания).
Ржаная мука, по сравнению с пшеничной, имеет ряд отличительных особенностей. Содержание белков в ней на 10–15 % меньше. Количество углеводов в ржаной муке составляет 80–85 %. Они представлены крахмалом, сахарами, слизями, пентозанами и клетчаткой. Ржаная мука отличается повышенным содержанием собственных сахаров: до 80 % всех сахаров муки приходится на долю сахарозы (4–6 % от массы муки); восстанавливающих сахаров немного – 0,2–0,4 %. В ржаной муке присутствуют раффиноза, левулезаны и водорастворимые полифруктозаны. Газообразующая способность ржаной муки всегда достаточна и не вызывает особых забот у хлебопеков.
Отличительными особенностями ржаной муки являются низкая температура клейстеризации крахмала (52–55 С), большая его атакуемость и наличие фермента α-амилазы. Все это создает благоприятные условия для гидролиза крахмала при брожении теста.
В брожении ржаного теста наряду с дрожжами участвуют молочнокислые бактерии, за счет чего кислотность ржаного теста достигает 12 град. Гомо- и гетероферментативные молочнокислые бактерии накапливают в ржаном тесте молочную и уксусную кислоты, другие летучие соединения, придающие хлебу специфический вкус и запах. Повышенная кислотность благоприятно влияет на структурно-механические свойства ржаного теста, способствует гидролизу и набуханию белков, тормозит действие α-амилазы при выпечке, сокращает период образования под ее действием декстринов, что предотвращает повышенную липкость и заминаемость мякиша готового хлеба.
1. Какие биохимические процессы происходят в тесте под действием ферментов муки?
2. Дайте понятие газообразующей и сахаробразующей способности муки.
3. Каким ферментами обладает дрожжевая клетка? Их роль в процессе брожения теста?
4. Перечислите фазы размножения дрожжей в тесте.
5. С какой целью применяют обминку теста?
6. Какие факторы влияют на скорость размножения дрожжей и молочнокислых бактерий в сдобном тесте?
Микроорганизмы зерна подразделяют на сапрофитные, фитопатогенные и патогенные для человека и животных. К группе сапрофитов относят эпифитные микроорганизмы, населяющие здоровые растения в процессе их роста и созревания.
Э п и ф и т н ы м и называют микроорганизмы, которые живут на поверхности растений и питаются за счет естественных выделений тканей растения. Микроорганизмы попадают на поверхность растений, а затем и на зерно, главным образом, из почвы. Они также заносятся на растения ветром, осадками, насекомыми, птицами. Эпифиты не внедряются в ткани растений и не оказывают вредного влияния на их развитие. Численный и видовой состав эпифитной микрофлоры растений зависит от температуры и влажности среды. При теплой влажной погоде среди эпифитов доминируют бесспоровые палочковидные бактерии, а в сухую жаркую погоду преобладающими становятся спорообразующие палочки видов B. subtilis, B. mycoides, B. mesentericus и др. В условиях влажной прохладной погоды часто размножаются мицелиальные грибы родов Fusarium, Rhizopus и др. Содержание микроорганизмов в зерне довольно значительно и достигает 2×107 КОЕ/г.
Типичными эпифитами, постоянно присутствующими на поверхности зеленых растений, являются бактерии родов Erwinia и Pseudomonas.
Erwinia herbicola – мелкие бесспоровые грамотрицательные палочки, подвижные (имеют два полярных жгутика). Факультативный анаэроб. На мясопептонном агаре образует гладкие колонии золотисто-желтого цвета. На зерне сразу после обмолота содержание Erwinia herbicola достигает 90–96 % от общего числа микроорганизмов. Преобладание бактерий данного вида является показателем свежести и доброкачественности зерна.
Pseudomonas fluorescens обнаруживается на зерне, имеющем повышенную влажность в момент уборки, и на морозобойном зерне.
Микрококки, бациллы, дрожжевые грибы выявляются в значительных количествах лишь на влажном зерне, которое не было своевременно подсушено после обмолота и хранилось в ворохе в течение трех–четырех суток при температуре выше 10 °С. На поврежденном зерне обнаруживаются бактерии родов Lactobacillus, Clostridium, Sarcina, Proteus.
Дрожжи родов Saccharomyces, Torulopsis, Candida не оказывают существенного влияния на сохранение и качество злаков, но при повышении влажности способствуют самосогреванию и появлению в зерне «амбарного» запаха.
Зерно злаковых культур часто содержит полевые грибы родов Alternaria, Fusarium, Helmintosporium и др. Мицелий указанных грибов наиболее часто в стадии молочной спелости проникает в зародыш и заходит в эндосперм. В результате образуются дефектные зерна: щуплые, пятнистые, с черным зародышем.
На сохранность и качество зерна главным образом влияют грибы хранения, относящиеся к родам Aspergillus (Asp. niger, Asp. glaucus, Asp. fumigatus), Penicillium (P. glaucum), Alternaria (A. сonsortiale, A. alternata); в меньшей степени Mucor (M. mucedo, M. racemosus), Cladosporium, Fusarium, Trichoderma, Rhizopus, Trichothecium, Thamnidium. Эти грибы практически не выявляются на свежеубранном зерне, но обнаруживаются на хранящемся зерне, что может служить одной из причин его самосогревания и порчи. Степень зараженности зерна плесневыми грибами указанных родов зависит от обработки зерна (очистки, подсушивания), а также от возможного вторичного увлажнения зерна при перевозке или хранении.