Изолирующие стыки устанавливаются таким образом, чтобы эл ток не могу пройти от одного соседнего рельса к другим
Устанавливается на границах блок-участков ( места установки светофорах и на стрелочных переводах)
Токопроводящие: Участки автоблокировки- реализация тепловозной тяги, используется тяжелый вариант-с левой и правой стороны от стыка на шейку рельса устанавливается штепсель, на который намотана медная проволовка, монтаж с нерабочей грани рельса
На
электрофицированных участках![]()
Со стороны нерабочей грани головки рельса привариваются манжеты которые запресованы медным тросом. Качество выполнения сварных работ!
Используется
для звеньевого пути
Наиболее распространенная конструкция
Состоит из:
1-изолирующая прокладка
2-стыковая накладка
3-металлическая стопорная планка
4.- изолирующая планка
5-. Торцевая прокладка-должна соответствовать типу стыкуемых рельсов
Переходные стыки

Применяется в местах, где осуществляется соединение разных по типу рельса или однотипных рельсов, но с разным вертикальным износом
Используется специальные переходные накладки или типовые, но подстроженные.
Можно использовать специальные переходные рельсы, где на длине =12,5м будет происходить постепенное изменение типа рельса
Срок службы стыковых скреплений зависит от воздействия колес на рельс и возникающих напряжений
Скорости движения климатических условий, а так же качества текущего содержания пути, и состояние ходовых частей подвижного состава
У болтового стыка прочность меньше, чем у сварного, но характер разрушения в сварном более опасный
Прочность зависит от наличия внутри сварки различных дефектов, приводящих к образованию деформаций.


19) Деревянные шпалы, +-, борьба с износом
ДОСТОИНСТВА
Упругость - влияет на восприятие нагрузки на расходы по текущему содержанию пути
Легкость обработки, гвоздимость - связано с постановкой промежуточных скреплений, обязательное антисептирование отверстий
Простота прикреплений рельсов ( ДО и КД)
Хорошее сцепление с щебнем - обеспечивает достаточную устойчивость рельсо-шпальной решетки против сдвига и выброса пути
Малая чувствительность к ударам и перепадам температуры
Небольшая масса
Наличие диэлектрический свойств – прокладки под рельс, под подкладки –рези на, комбинирование, резинокорт
НЕДОСТАТКИ
Сравнительно небольшой срок службы
Антисептики дают срок службы около 30 лет, но по итогу из-за внешних факторов 15 лет
Срок службы зависит от породы древесины
Используется дорогая и дефицитная строительная древесина
Неоднородность упругих свойств пути по длине - зависит от расположения волокон и зависимость от эпюры
Борьба с износом:

ДОСТОИНСТВА
Долговечность-влияет на межремонтный срок и зависит от эксплуатационных условий
Большая устойчивость пути- против выброса и угона- в сравнении с деревянными, устойчивость порядка 20%
Стабильность ширины рельсовой колеи- зависит от более совершенных промежуточных скреплений
Однородность упругих свойств по длине пути и плавность движения поездов- важен для устройства конструкции на высокоскоростных и на скоростных линиях
Сохранение лесов
Неподверженность гниению
НЕДОСТАТКИ
Повышенная жесткость пути -по сравнению с деревянными – выше в 2-3 раза
Электропроводимость-необходимо использовать изолирующие детали, которые недолговечны и хрупки
Хрупкость и чувствительность к ударам-особенно в условиях высоких осевых нагрузок и при низких температурах
Низкая работоспособность в зоне стыка- выход шпал будет в 3-5 раз выше в зоне стыка
КОНСТРУКЦИЯ ЖБ ШПАЛ
По способу армирования
Ненапряженные
Предварительно напряженные
По форме




Струнобетонные шпалы брускового типа
Ш-1-1 предназначена для КБ, ЖБР, где закладные болты
Современная жб шпала- цельно брусковая из предварительно напряженного железобетона, армированная высокопрочной проволокой
Подуклонка 1:20 создана в заводских условиях, обеспечивает передачу боковых сил на бетон, улучшение работы закладных элементов и нашпальных резиновых прокладок
Изготавливаются из тяжелого бетона
В целях большей устойчивости мостовой в пазы рельсов закладывают фасонные брусья, которые изготовляют из соснового или елового леса любого сорта.
Поперечное сечение фасонных брусьев соответствует форме рельсовых пазух. Длину фасонных брусьев не ограничивают. Вместо деревянных фасонных брусьев лучше закладывать брусья из бетона или керамики.
Срок службы деревянных шпал зависит в основном от следующих факторов:
а) породы леса и его качества,
б) пропитки шпал антисептиками и качества пропитки,
в) типа путей (открытые и закрытые),
г) конструкции пути,
д) водоотвода от пути,
е) нагрузки и грузонапряженности данного участка,
ж) качества содержания пути.
Если для рельсов главным фактором износа является грузонапряженность пути, так как основная причина выходящих из строя — механический износ, то для шпал, не имеющих непосредственного контакта с подвижной нагрузкой, основная причина их загнивание.
Пропитка шпал антисептиками в значительной степени предохраняет от загнивания и тем увеличивает срок службы.
Загнивание шпал ускоряется от механического износа, и в особенности если перерезаны волокна древесины подошвой рельсов или подкладкой.
Введение на трамвайных путях металлических подкладок увеличило срок службы шпал.
Еловые шпалы служат меньше сосновых на 20-25% по времени.
Наиболее продолжителен он при шпально-брусковом основании(конструкция пути). Шпалы не получают механического износа вследствие передачи нагрузки на них через деревянные брусья и, кроме того, имеют более однородную (в смысле влажности) среду, находясь глубже от поверхности земли. В результате загнивание шпал замедляется. Засыпка открытых путей балластом до головки рельса, а тем более замощение путей увеличивают срок их службы, уменьшая интенсивность загнивания шпал.
Нормативные сроки службы железобетонных шпал на дорогах нашей страны пока не регламентированы. Предварительное обобщение опыта применения железобетонных шпал дает основание считать, что наработка тоннажа при рельсах Р65 со скреплением КБ составляет не менее 2000 млн т брутто. Общий выход железобетонных шпал в дефектные при всех видах ремонта и текущем содержании не превышает 5-6% после пропуска 1 млрд т брутто. При этом примерно 60 % дефектов шпал связано с эксплуатацией пути, а 40% - с изготовлением шпал.
На малодейственных линиях реальный срок службы железобетонных шпал – 50 лет.
Назначения:
· Балластный слой должен упруго воспринимать давления от шпал и равномерно передавать на возможно большую поверхность земляного полотна.
· Должен обеспечивать стабильное проектное положение рельсо-шпальной решетки в процессе эксплуатации.
· Обеспечивать возможность выправку пути в профиле и плане .
· Препятствовать потери несущей способности земляного полотна.
· Участвовать в формировании оптимальной упругости подрельсового основания.
· Обеспечивать нормальную работу рельсовых цепей автоблокировки.
- Быстро отводить воду из балластной призмы на основно площадки земляного полотна
Требования:
· Прочность (не должен дробиться и крошиться при уплотнении).
· Водо и морозоустойчивость.
· Хорошая сопротивляемость перемещениям рельсошпальной решетки.
· Технологичность.
· Экономичность.
· Низкая электропроводность.
-шероховатость
-дренирующие свойства
- устойчивость против атмосферных воздействий
По конструкции различают балластные призмы: однослойные (из любых балластных материалов, кроме щебеночного): двухслойные (щебеночный и асбестовый балласты поверх песчаной или гравийно-песчаной подушки);
трехслойные (асбестовый балласт поверх щебеночной призмы на песчаной подушке, или при наличии разделительного слоя из современных геоматериалов).
Назначение балластной (обычно песчаной) подушки: предотвращать засорение щебня грунтом основной площадки земляного полотна; предохранять грунт от разжижения (весной), пересыхания и растрескивания (летом).
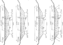
Типовые поперечные профили балластной призмы на прямых и кривых участках пути приведены на рис. 9.4—9.5,а размеры призмы в табл. 9.2.
Уклон откосов призмы должен быть не круче 1:1,5, а песчаной подушки — 1:2.
При любой конструкции балластной призмы (независимо от числа слоев) суммарная толщина балласта под шпалой должна быть достаточной во избежание пластических деформаций грунта основной площадки земляного полотна. При однослойной призме общая толщина балласта под шпалой должна быть не менее суммы толщины балластной подушки (20 см), и соответствующей каждому классу пути толщине балласта под шпалой (см. табл. 12.2).
При трехслойной балластной призме толщина слоя асбестового балласта под шпалой во всех случаях должна быть 20 см, а толщина щебеночного слоя определяется соответствующим размером, взятым из табл. 1.10 и уменьшенным на фактическую толщину асбестового слоя. В табл. 9.2 нормы толщины балласта указаны в плотном состоянии.


При укладке щебеночного балласта должен предусматриваться запас на его осадку при уплотнении на 15—20 %, а
асбестового балласта на 25—35 %.
25. Сроки очистки и пополнения балластной призмы. Повышение несущей способности балластного слоя.
26. Конструкция пути с монолитным подрельсовым основанием.
27. Конструкция пути с плитным подрельсовым основанием.
28. Бесстыковой путь. Конструкция, физическая сущность работы.
29.) Угон пути и борьба с ним. Причины угона пути
Угон пути - перемещение рельсов относительно подрельсового основания, или рельсов с подрельсового основания относительно балластного слоя
Зависит от того, какие участки профиля мы рассматриваем:
Затяжные спуски
Затяжные подъемы
Режима ведения поезда ( участок торможения)