Материал: YaroshenkoSZhD2018

Внимание! Если размещение файла нарушает Ваши авторские права, то обязательно сообщите нам

При появлении небольших затухающих осадок или смещения звеньев труб дефектные швы заделывают, а лоток трубы выравнивают бетоном. Щели между звеньями в швах заделывают просмоленной паклей, а затем жестким цементным раствором.

В водопропускных трубах, работающих в напорном режиме, необходимо обеспечить полную водонепроницаемость стыков между звеньями, а также надёжное закрепление выходного русла.

Гидроизоляция описана выше

Вопрос 40. Типы монолитных устоев жд мостов. Конструкция. Определение основных размеров. Способы и особенности сопряжения с подходной насыпью необсыпных и обсыпных устоев балочных мостов.

Устои воспринимают вертикальные и дополнительно горизонтальные нагрузки от давления грунтов и подходных насыпей. Обеспечивают плавный въезд на мост и одновременно выполняют роль подпорной стенки для подходной насыпи.

Монолитные береговые опоры (устои) можно разбить на две основные группы: массивные, чаще каменные или бетонные, и облегченные — тонкостенные железобетонные или бетонные столбчатые.

Массивными чаще выполняют устои с обратными стенками, в силу наилучшего их соответствия специфическим требованиям к береговым опорам. Для уменьшения кладки высоких устоев предлагается ряд конструктивных мер, уменьшающих однозначную моментную нагрузку от давления грунта засыпки, имеющей очень большое значение при назначении размеров устоев высотой более 10 м.

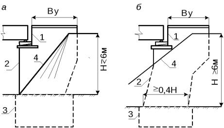
По конструктивным особенностям их подразделяют на необсыпные, у которых конус насыпи не выходит за переднюю грань и фундамент опоры; обсыпные – со смещением конуса насыпи в пролет, стесняющим живое сечение водотока

Необсыпные применяются в малых мостах. Уклон насыпи 1:1,25

Обсыпные в средних и больших мостах. Уклон при высоте насыпи до 12 м – 1:1,5, далее 1:1,75.

Береговая опора массивная монолитная: а – необсыпного типа; б – обсыпного типа; Н – высота подходной насыпи; 1 – шкафная стенка; 2 – передняя стенка; 3 –фундамент; 4 – конус подходной насыпи

Необсыпные береговые опоры находят применение преимущественно в малых мостах при высоте насыпей

Нн 6 м, обсыпные – в средних и больших при Нн> 6 м. Обсыпные устои подвергаются значительно большему горизонтальному воздействию от давления грунта насыпи, поэтому по площадке обреза фундамента принимают их размер не менее 0,4Н

Ширину береговых опор определяют в зависимости от габарита проезжей части и размещения опорных частей и принимают для необсыпных устоев не менее 330–400 см, а обсыпных – 450–500 см.

Длины устоев поверху: 3,75 м для пролетов менее 18 м и 5.3 м при пролетах более 18 м.

Длина захода насыпи в устой 1 м при высоте насыпи более 6 м и 0.75 м при высоте менее 6м.

Для сопряжения опоры с насыпьью устраивают откосные крылья-консоли, задаланные в шкафную и переднюю стенку устоя. По форме различают

Вопрос 41. Основные типы и конструкции сборных, сборно-монолитных и безростверковых опор железнодорожных мостов. Основные условия и способы сопряжения устоев с подходной насыпью.

В настоящее время часто проектируют устои из сборных железобетонных элементов. Широкое распространение получили также устои из центрифугированных железобетонных оболочек. Для районов вечной мерзлоты в конструкцию устоев могут быть включены железобетонные столбы сплошного сечения диаметром 80 см, которые вводятся в предварительно пробуренные скважины диаметром 90-100 см. После установки столбов в проектное положение зазор между скважиной и грунтом заполняется цементнопесчаным раствором. Крутизну откосов принимают более пологой.

В тех случаях, когда столбчатые фундаменты сооружают из отдельно стоящих вертикальных столбов, а надземная часть столбов является телом опоры, конструкцию называют безростверковой.

Конструкция устоев безростверкового типа

В условиях сурового климата распространены устои на буропропускных столбах, на сваях-оболочках, на сваях. Состоят из сборного железобетонного шкафного блока (1) индустриального типа, монолитной насадки (2), буронабивных столбов/свай/свай-оболочек (3)

Вопрос 42. Типы немассивных сборных устоев, устои свайные безростверкого типа, свайного типа с железобетонным ригелем, рамного типа. Конструкция, определение основных размеров и способы сопряжения с подходной насыпью. Способы монтажа.

Конструкция устоев на стойках-оболочках (сваях) облегченного типа из сборных жб элементов. Наоболочках диаметром 60 см для пролетных строений 16.5 – 34 м при высоте насыпи от 8 до 10 м. Зпаолняются тищим бетоном или песком

1)большая жесткость при малом расходе материалов

2)требуется большее количество вертикальных и наклонных стоек

Свайный сборный устой козлового типа

Сборный устой рамного типа

1-шкафной блок

2-монолитная насадка

3-стойки-рамы

4-конус обсыпной насыпи

Вопрос 43. Характеристика, классификация, область применения, назначение основных видов опор балочных жд мостов. Конструкция массивных, монолитных и сборно-монолитных промежуточных опор. Размеры, высотные отметки, сооружение монолитных опор в опалубке. Сооружение сборно-монолитных опор.

Назначение – воспринимать нагрузку от подвижного состава и пролетного строения и равномерно передавать на грунт основания. Применяются на сваях или на естественном основании. Работают в 2 зонах реки: в русловой и суходольной.

По способу сооружения:

1)Монолитные с каменной облицовкой

2)Сборные

3)Сборно-монолитные

По конструкции:

1)Массивные -сборные -монолитные -сборно-монолитные

2)Монолитные -каменные -бетонные -бутобетонные

3)на фундаментах мелкого или глубокого заложения, или на сваях

4)немассивные -стоечные -рамные -пустотелые

5)комбинированные

по материалу

1)каменные

2)бетонные

3)бутобетонные

4)железобетонные

5)металлические

6)деревянные

по статической схеме моста опоры балочных, рамных, арочных, вантовых, висячих, разводных мостов.

Материал для опор капитальных мостов: бутовый камень, бетон, железобетон класса В20-В50. F100-200. Для защиты опор от ледохода применяют облицовку из камня или жб блоков.

М-л опор временных мостов: сталь, дерево

Основные типы промежуточных опор балочных мостов:

1)монолитная с водорезом

2)монолитная с ледорезом

3)сборно-монолитная облегченная

4)сборно-монолитная столбчатая

5)сборная из пустотелых блоков

6)сборная из пустотелых блоков облегченная

7)свайно-эстакадная

8)единостолбчатая

Основыные размеры и отметки массивных монолитных промежуточных опор

высота опоры Н – расстояние от ОФ до верха. Зависит от подмостовых габаритов и рельефа местности.

Размеры оголовка в плане назначают из условия размещения опорных частей. Расстояние между осями опорных частей определяют типом пролетного строения и его длиной.

ПС – подошва сваи опоры ( отметка острия)

ПФ – подошва фундамента или ростверка опоры

ОФ – обрез фундамента или ростверка

Сооружение массивных монолитных опор в опалубке: бетонируют в стандартной металлическо и в щитовой сборной деревянной.

1)Щитовая деревянная сборная опалубка – стационарная (однократная) и сборно-щитовая (многоразовая). Для неизменности формы служат диагональные и поперечные связи. Размер щита 4х3, 5х4 м, целесообразна при 3-4 оборачиваемости.

2)Стационарная стальная передвижная металлическая опалубка. Щиты непрерывно поднимают домкратами, упирающимися с помощью захватов в стальные стержни, расположенные по периметру опоры. Доставка бетона осуществлется кублом, передвижение по подмостям.

Конструкция сборно-монолитных промежуточных опор.

Состоят из жб контурных облицованных блоков зваодского изготовления различной конфигурации и монолитного бетона. Составляющего ядро сечения. Блоки выполняют функцию опалубки и облицовки. При высоте секции более 7.7 м назначают 2ю и последующие ступени

подготовительные работы

арматурные работы

опалубочные работы

бетонные работы

уход за бетоном

заключительные работы

Конструкция сборных промежуточных опор

Из монолитного бетона или из замкнутых бетонных блокоы прямоугольного сечения. Блоки устанавливаются на фундамент любого типа и объединяются поверху жб плитой – ригелем. Могут быть бетонные или железобетонные с напрягаемой арматурой

Вопрос 44. Особенности конструкции столбчатых и безростверковых промежуточных опор жд мостов. Типы, назначение, конструкция, основные размеры. Способы устройства фундаментов и монтаж опор.

В тех случаях, когда столбчатые фундаменты сооружают из отдельно стоящих вертикальных столбов, а надземная часть столбов является телом опоры, конструкцию называют безростверковой.

При фундаментах глубокого заложения безростверковые опоры позволяют уменьшить в 2-4 раза потребность в бетоне и сократить продолжительность работ в 1,5-3 раза.

Столбы обычно сооружают из готовых сплошных блоков или оболочек, опущенных в предварительно пробуренные скважины. Зазоры между столбом и грунтом могут быть заполнены грунтом, сухой цементно-песчаной смесью или бетонным р-м. При сооружении опор в регионах с вечной мерзлотой столбчатые опоры – единственный вариант.

1)Конструкция на столбах и насадках (буропропускные столбы):

Буропропускные столбы заводского изготовления устанавливают в предварительно пробуренные скважины с последующим заполнением зазоров между стенками и ростверком. Недостаток – устройство столбов между отдельными секциями по их длине Размеры насадки в плане: 360х310

2)Конструкция на столбах и насадках (буронабивные столбы)

Разбуривание скважин с погружением защитной инвентарной обсадки - металлической трубы, установка арматурного каркаса, заполнения бетонной смесью 1 – монолитная насадка, 2 – буронабивной столб, 3 – опорная площадка, 4 – сливная призма, 5 – металлический кожух