Таблица 2.11
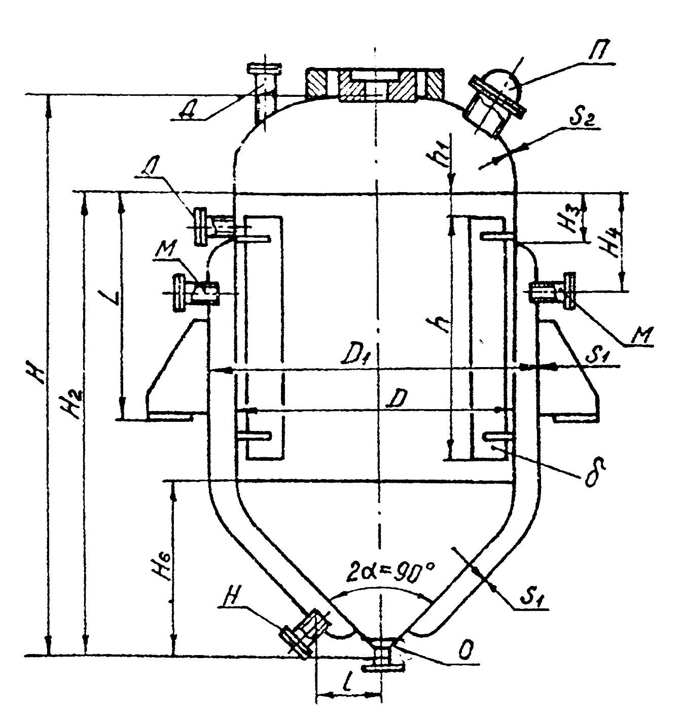
Параметры конструкции корпуса типа 31 по ГОСТ 26-01-1246-75 размеры H6, h, h1, b, δ (см.в табл. 2.10)
|
Ном. объем, м3 |
Размеры, мм |
Рис. 2.13. Корпус типа 31 |
|||||||
|
D |
D1 |
H |
H2 |
H3 |
H4 |
L |
I |
||
|
3,2 |
1600 |
1700 |
2360 |
1939 |
150 |
260 |
750 |
250 |
|
|
4,0 |
1600 |
1700 |
2780 |
2335 |
260 |
750 |
250 |
||
|
5,0 |
1800 |
1900 |
2750 |
2260 |
260 |
750 |
250 |
||
|
6,3 |
1800 |
1900 |
3340 |
2850 |
260 |
950 |
250 |
||
|
8,0 |
2000 |
2200 |
3500 |
2960 |
320 |
950 |
375 |
||
|
10,0 |
2200 |
2400 |
3670 |
3080 |
320 |
1100 |
|||
|
12,5 |
2400 |
2600 |
4035 |
3395 |
350 |
1100 |
|||
|
16,0 |
2400 |
2600 |
4335 |
3695 |
350 |
1100 |
|||
|
20,0 |
2600 |
2800 |
4795 |
4105 |
350 |
1280 |
|||
|
25,0 |
2800 |
3000 |
5160 |
4420 |
350 |
1280 |
450 |
||
Таблица 2.12
Конструкция и основные размеры змеевика для корпусов типа 00
|
Ном. объем, м3 |
Размеры, мм |
Змеевик |
Рис.2.14. Корпус типа 00 со змеевиком |
||||||
|
D |
D3 |
dм |
h1 |
h2 |
L1 |
Dy, мм |
Число витков |
||
|
К, К1 |
|||||||||
|
0,63 |
1000 |
700 |
360 |
500 |
300 |
360 |
50 |
5 |
|
|
1,00 |
1000 |
740 |
700 |
390 |
|||||
|
1,25 |
1200 |
900 |
380 |
940 |
|
380 |
|||
|
1,6 |
|||||||||
|
2,0 |
1400 |
1060 |
400 |
890 |
370 |
400 |
6 |
||
|
2,5 |
|||||||||
|
3,2 |
1600 |
1200 |
500 |
1030 |
450 |
500 |
60 |
7 |
|
|
4,0 |
|||||||||
|
5,0 |
1800 |
1350 |
630 |
1080 |
430 |
630 |
70 |
7 |
|
|
6,3 |
|||||||||
|
8,0 |
2000 |
1550 |
700 |
1130 |
700 |
80 |
8 |
||
|
10,0 |
2200 |
1650 |
750 |
1180 |
750 |
||||
3.1. Типы и параметры мешалок
Тип мешалок выбирается в зависимости от свойств рабочей среды в аппарате и заданной угловой скорости мешалки (частоты вращения вала).
Для обеспечения условия прочности наибольший крутящий момент на валу мешалки не должен превышать значений допустимого крутящего момента, указанного в таблицах, в соответствии с ОСТ 26-01 -1245-83.
Лопастные и рамные мешалки относятся к числу тихоходных. Они имеют относительно большие размеры и малую скорость вращения. Рамные мешалки применяют для перемешивания вязких жидкостей и суспензий. Турбинные пропеллерные мешалки относятся к быстроходным и имеют частоту вращения 100-1000 об./мин.-1
В случае необходимости сообщения жидкости частичного вертикального перемещения лопастные мешалки выполняют с наклонными лопастями.
Конструкция и основные размеры мешалок должны соответствовать указанным в таблицах.
Размеры конструктивных элементов мешалок, указанные в виде соотношений на рис. 3.1, следует определять расчетным путем исходя из условий принятого конкретного типоразмера мешалки. Числовые значения этих размеров устанавливаются путем округления расчетных величин до ближайшего четного числа или кратного пяти в сторону увеличения.
Допускается в обоснованных случаях увеличение или уменьшение ширины лопасти мешалки (b) по сравнению с указанной в таблицах не более чем на 25%.
Мешалки должны изготавливаться из стали марок ВстЗсп4 по ГОСТ 380-71,078Х22Н6Т, 12Х18Н10Т и 10Х17Н1ЗМЗТ по ГОСТ 5632-72.
Допускается изготовление мешалок из стали других марок. Конструкционный материал должен выбираться с учетом коррозионных свойств химической стойкости и параметров рабочей среды. Скорость проникновения коррозии при рабочих условиях не должна превышать 0,1 мм в год.
Конструктивные и основные размеры мешалок представлены на рис. 3.1-3.6

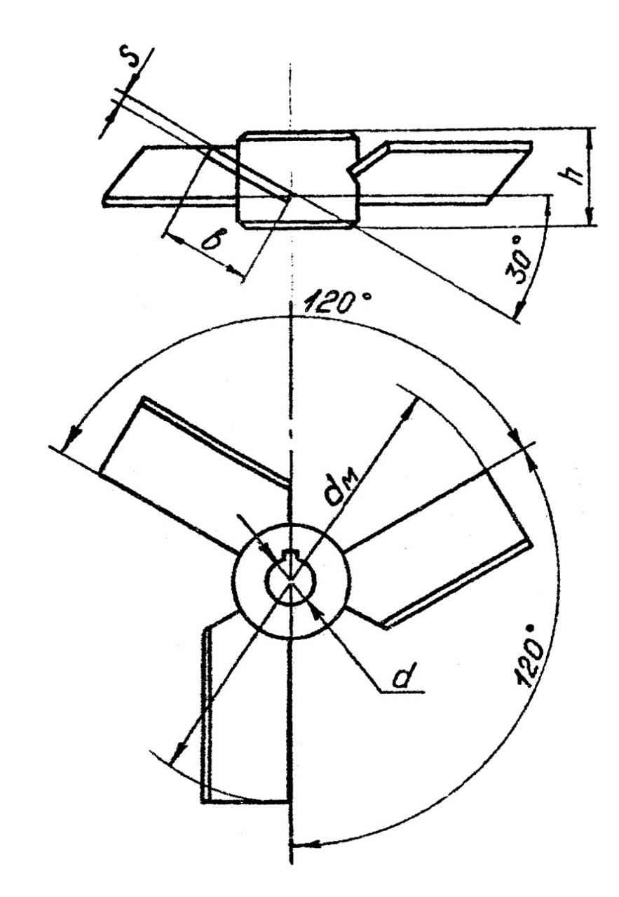
Рис 3.1. Лопастные мешалки:
l = 0,63 dм; b2 = 1,5b, S1=S
Таблица 3.1
Параметры лопастных мешалок по ОСТ-26-01-1245-83
|
dм, мм |
d (поле допуска по Н9), мм |
h, мм |
b, мм |
s, мм |
Допустимый крутящий момент, не более |
Масса, кг, не более |
|
|
кН∙м |
кгс∙м |
|
|||||
|
125 |
18 |
30 |
12 |
3 |
0,002 |
0,2 |
0,17 |
|
160 |
18 |
30 |
16 |
4 |
0,003 |
0,3 |
0,29 |
|
180 |
18 |
30 |
18 |
4 |
0,005 |
0,5 |
0,32 |
|
200 |
18 |
30 |
20 |
4 |
0,007 |
0,7 |
0,35 |
|
220 |
25 |
30 |
22 |
4 |
0,009 |
0,9 |
0,45 |
|
250 |
25 |
30 |
25 |
4 |
0,011 |
1,1 |
0,50 |
|
280 |
25 |
40 |
28 |
4 |
0,016 |
1,6 |
0,63 |
|
320 |
25 |
40 |
32 |
4 |
0,020 |
2.0 |
0,73 |
|
360 |
25 |
40 |
36 |
6 |
0,03 |
3 |
1,16 |
|
400 |
25 |
50 |
40 |
6 |
0,04 |
4 |
1,34 |
|
450 |
32 |
50 |
45 |
6 |
0,06 |
6 |
1,83 |
|
500 |
32 |
70 |
50 |
8 |
0,08 |
8 |
2,89 |
|
560 |
32 |
70 |
56 |
8 |
0,10 |
10 |
3,40 |
|
630 |
32 |
70 |
64 |
8 |
0,16 |
16 |
4,00 |
|
710 |
45 |
90 |
72 |
10 |
0,20 |
20 |
6,3 |
|
800 |
45 |
90 |
80 |
10 |
0,28 |
28 |
7,5 |
|
900 |
45 |
110 |
90 |
10 |
0,35 |
35 |
9,9 |
|
1000 |
45 |
110 |
100 |
12 |
0,45 |
45 |
13,0 |
|
1120 |
60 |
130 |
112 |
12 |
0,60 |
60 |
19,0 |
|
1250 |
60 |
130 |
125 |
12 |
0,80 |
80 |
21,0 |
|
1400 |
80 |
150 |
140 |
12 |
1,20 |
120 |
29,5 |
|
1600 |
80 |
180 |
160 |
14 |
1,6 |
160 |
37,4 |
|
1800 |
90 |
200 |
180 |
14 |
2,0 |
200 |
54,0 |
|
2000 |
90 |
220 |
200 |
14 |
3,0 |
300 |
64,1 |
|
2240 |
90 |
250 |
224 |
14 |
4,0 |
400 |
78,8 |
|
Рис 3.2. Трехлопастные мешалки Тип 1 |
Рис 3.3. Трехлопастные мешалки Тип 1М (тип 31, 34) |
Таблица 3.2
Параметры лопастных мешалок по ОСТ-26-01-1245-83
|
dм, мм |
d (поле допуска H9), мм |
h, мм |
b, мм |
s, мм |
Допустимый крутящий момент, не более |
Масса, кг, не более |
|
|
кН∙м |
кгс∙м |
||||||
|
125 |
18 |
30 |
12 |
3 |
0,002 |
0,2 |
0,17 |
|
160 |
18 |
30 |
16 |
4 |
0,003 |
0,3 |
0,29 |
|
180 |
18 |
30 |
18 |
4 |
0,005 |
0,5 |
0,32 |
|
200 |
18 |
30 |
20 |
4 |
0,007 |
0,7 |
035 |
|
220 |
25 |
30 |
22 |
4 |
0,009 |
0,9 |
0,45 |
|
250 |
25 |
30 |
25 |
4 |
0,011 |
1,1 |
0,50 |
|
280 |
25 |
40 |
28 |
4 |
0,016 |
1,6 |
0,63 |
|
320 |
25 |
40 |
32 |
4 |
0,020 |
2,0 |
0,73 |
|
360 |
25 |
40 |
36 |
6 |
0,03 |
3 |
1,16 |
|
400 |
25 |
50 |
40 |
6 |
0,04 |
4 |
1,34 |
|
450 |
32 |
50 |
45 |
6 |
0,06 |
6 |
1,83 |
|
500 |
32 |
70 |
50 |
8 |
0,08 |
8 |
2,89 |
|
560 |
32 |
70 |
56 |
8 |
0,10 |
10 |
3,40 |
|
630 |
32 |
70 |
64 |
8 |
0,16 |
16 |
4,00 |
|
710 |
45 |
90 |
72 |
10 |
0,20 |
20 |
6,3 |
|
800 |
45 |
90 |
80 |
10 |
0,28 |
28 |
7,5 |
|
900 |
45 |
110 |
90 |
10 |
0,35 |
35 |
9,9 |
|
1000 |
45 |
110 |
100 |
12 |
0,45 |
45 |
13,0 |
|
1120 |
60 |
130 |
112 |
12 |
0,60 |
60 |
19,0 |
|
1250 |
60 |
130 |
125 |
12 |
0,80 |
80 |
21,0 |
|
1400 |
80 |
150 |
140 |
12 |
1,20 |
120 |
29,5 |
|
1600 |
80 |
180 |
160 |
14 |
1,6 |
160 |
37,4 |
|
1800 |
90 |
200 |
180 |
14 |
2,0 |
200 |
54,0 |
|
2000 |
90 |
220 |
200 |
14 |
3,0 |
300 |
64,1 |
|
2240 |
90 |
250 |
224 |
14 |
4,0 |
400 |
78,8 |