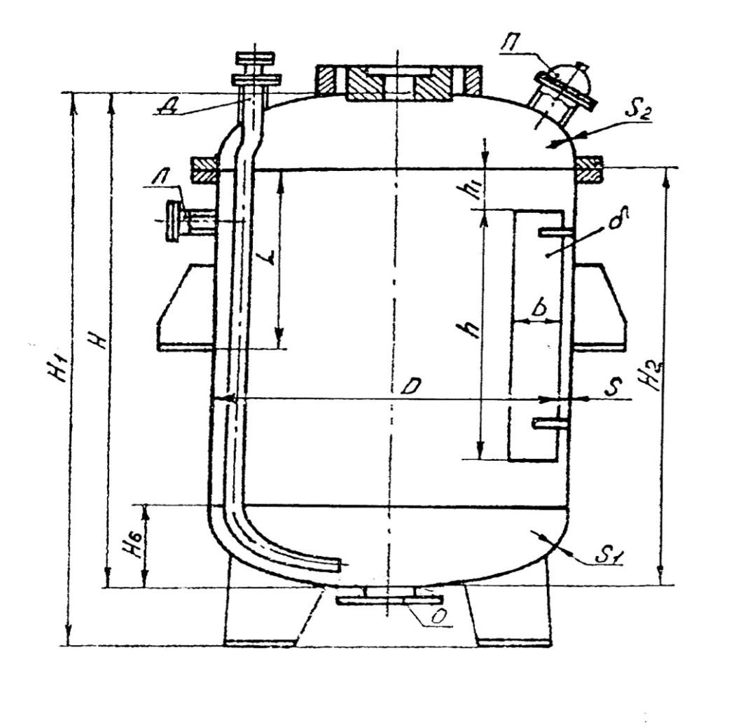
Таблица 2.6
Параметры конструкции корпуса типа 10 по ОСТ 26-01-1246-75
|
Ном. объем, м3 |
Размеры, мм |
Рис. 2.7. Корпус типа 10 |
|||||||||
|
D |
H |
H1 |
H2 |
L |
h |
h1 |
b |
δ |
H6 |
||
|
3,2 |
1600 |
1850 |
2100 |
1425 |
540 |
525 |
50 |
160 |
8 |
425 |
|
|
4,0 |
2250 |
2560 |
1825 |
650 |
1325 |
440 |
|||||
|
5,0 |
1800 |
2230 |
2510 |
1740 |
1175 |
180 |
475 |
||||
|
6,3 |
2780 |
3060 |
2290 |
1700 |
490 |
||||||
|
8,0 |
2000 |
2880 |
3230 |
2340 |
800 |
1700 |
200 |
540 |
|||
|
10,0 |
2200 |
2980 |
3310 |
2390 |
1700 |
220 |
590 |
||||
|
12,5 |
400 |
3080 |
3420 |
2440 |
900 |
1650 |
100 |
240 |
12 |
640 |
|
|
16,0 |
3880 |
4400 |
3240 |
2450 |
650 |
||||||
|
20,0 |
2500 |
4180 |
4650 |
3490 |
1050 |
2650 |
260 |
690 |
|||
|
25,0 |
2800 |
4480 |
5270 |
3740 |
2850 |
280 |
740 |
||||
|
32,0 |
3000 |
4980 |
5720 |
4190 |
3250 |
300 |
790 |
||||
|
40,0 |
3200 |
5700 |
6450 |
4850 |
- |
3850 |
320 |
850 |
|||
|
50,0 |
3000 |
7580 |
8330 |
5790 |
- |
5850 |
|
300 |
|
840 |
|
|
53,0 |
3200 |
8300 |
9050 |
7450 |
- |
6450 |
320 |
890 |
|||
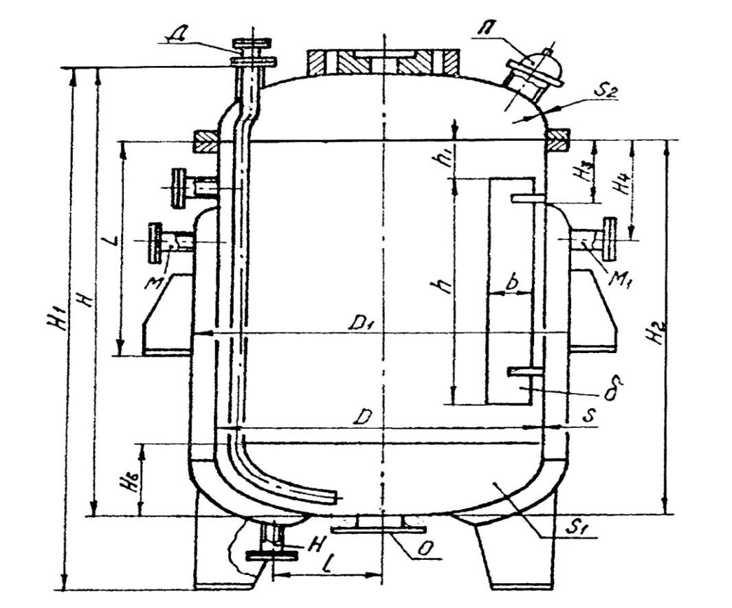
Таблица 2.7
Параметры конструкции корпуса типа 11 по ОСТ 26-01-1246-75; Размеры H6, h, h1, b, δ (табл. 2.6)
|
Ном. объем, м3 |
Размеры, мм |
Рис. 2.8. Корпус типа 11 |
||||||||
|
D |
D1 |
H |
H1 |
H2 |
H3 |
H4 |
L |
I |
||
|
3,2 |
1600 |
1700 |
1850 |
2120 |
1425 |
150 |
260 |
750 |
250 |
|
|
4,0 |
2250 |
2570 |
1825 |
|||||||
|
5,0 |
1800 |
1900 |
2230 |
2520 |
1740 |
|||||
|
6,3 |
2780 |
3070 |
2290 |
950 |
||||||
|
8,0 |
2000 |
2200 |
2280 |
2670 |
2340 |
320 |
950 |
375 |
||
|
10,0 |
2200 |
2400 |
2980 |
3360 |
2390 |
1100 |
||||
|
12,5 |
2400 |
2600 |
3080 |
3380 |
2440 |
350 |
||||
|
16,0 |
3880 |
4410 |
3240 |
1280 |
||||||
|
20,0 |
2600 |
2800 |
4180 |
4660 |
3490 |
|||||
|
25,0 |
2800 |
3000 |
4480 |
5270 |
3740 |
450 |
||||
|
32,0 |
3000 |
3200 |
4980 |
5780 |
4190 |
|||||
|
50 |
7580 |
8380 |
6790 |
- |
||||||
Таблица 2.8
Параметры конструкции корпуса типа 20 по ОСТ 26-01-1246-75
|
Ном. объем, м3 |
Размеры, мм |
Рис. 2.9. Корпус типа 20
|
||||||||
|
D |
H |
H2 |
L |
h |
h1 |
b |
δ |
H6 |
||
|
0,63 |
1000 |
1225 |
950 |
330 |
275 |
50 |
100 |
6 |
600 |
|
|
1,00 |
1200 |
1385 |
1060 |
330 |
275 |
120 |
712 |
|||
|
1,25 |
1585 |
1260 |
450 |
475 |
120 |
722 |
||||
|
1,6 |
2035 |
1710 |
925 |
120 |
722 |
|||||
|
2,0 |
1400 |
1900 |
1525 |
625 |
140 |
8 |
824 |
|||
|
2,5 |
2300 |
1925 |
540 |
1025 |
140 |
834 |
||||
|
3,2 |
1600 |
2360 |
1935 |
925 |
160 |
936 |
||||
|
4,0 |
2760 |
2335 |
650 |
1325 |
160 |
946 |
||||
|
5,0 |
1800 |
2750 |
2260 |
1175 |
180 |
1048 |
||||
|
6,3 |
3340 |
2850 |
1700 |
180 |
1058 |
|||||
|
8,0 |
2000 |
3500 |
2960 |
800 |
1700 |
200 |
1160 |
|||
|
10,0 |
2200 |
3670 |
3080 |
1700 |
220 |
1282 |
||||
Таблица 2.9
Параметры конструкции корпуса типа 21 по ОСТ 26-01-1246-75; Размеры H6, h, h1, b, δ (табл. 2.8)
|
Ном. объем, м3 |
Размеры, мм |
Рис. 2.10. Корпус типа 21 |
|||||||
|
D |
D1 |
H |
H2 |
H3 |
H4 |
L |
I |
||
|
0,63 |
1000 |
1100 |
1225 |
950 |
80 |
240 |
330 |
200 |
|
|
1,0 |
1200 |
1300 |
1385 |
1060 |
100 |
330 |
250 |
||
|
1,25 |
1585 |
1260 |
500 |
||||||
|
1,6 |
2035 |
1710 |
540 |
||||||
|
2,0 |
1400 |
1500 |
1900 |
1525 |
125 |
260 |
630 |
||
|
2,5 |
2300 |
1925 |
150 |
700 |
|||||
|
3,2 |
1600 |
1700 |
2360 |
1935 |
150 |
750 |
|||
|
4,0 |
2760 |
2335 |
|||||||
|
5,0 |
1800 |
1900 |
2750 |
2250 |
|||||
|
5,3 |
3340 |
2850 |
950 |
||||||
|
8,0 |
2000 |
2200 |
3500 |
2960 |
320 |
||||
|
10,0 |
2200 |
2400 |
3670 |
3080 |
1100 |
375 |
|||
Таблица 2.10
Параметры конструкции корпуса типа 30 по ГОСТ 26-01-1246-75
|
Ном. объем, м3 |
Размеры, мм |
Рис. 2.11. Корпус типа 30 |
||||||||
|
D |
H |
H2 |
L |
h |
h1 |
b |
δ |
H6 |
||
|
3,2 |
1600 |
2360 |
1935 |
540 |
925 |
50 |
160 |
8 |
936 |
|
|
4,0 |
2780 |
2335 |
650 |
1325 |
160 |
945 |
||||
|
5,0 |
1800 |
2750 |
2250 |
1125 |
180 |
1048 |
||||
|
6,3 |
3340 |
2850 |
1700 |
180 |
1058 |
|||||
|
8,0 |
2000 |
3500 |
2960 |
800 |
1700 |
200 |
1160 |
|||
|
10,0 |
2200 |
3670 |
3080 |
1700 |
220 |
1272 |
||||
|
12,5 |
2400 |
4035 |
3395 |
900 |
1850 |
100 |
240 |
1334 |
||
|
16,0 |
4335 |
3095 |
2150 |
240 |
1354 |
|||||
|
20,0 |
2600 |
4795 |
4105 |
1050 |
2450 |
260 |
1506 |
|||
|
25,0 |
2800 |
5150 |
4420 |
2650 |
280 |
1618 |
||||