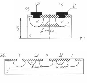
Рисунок 11.3 – Конструкція КП 102
Рисунок 11.4 – Фрагмент структури ПТУП КП 103
У рамках планарної технології (рисунок 11.3) засобом дифузії в приповерхневому шарі кремнієвого кристала n типу створюються
вузька область p типу (канал) і дві високолеговані області p - типу
(витік і стік). На ці області наносять тонку плівку з алюмінію, до якої припаюють виводи витоку і стоку.
Поверхню кристала покривають захисним шаром двоокису кремнію (SiO2 ). Затвором служить кристал-підкладка, до якого припаюють вивід керувального електрода. Всю конструкцію розміщають у герметичному металевому або пластмасовому корпусі.
Польові транзистори типу КП 103, на відміну від попередніх, мають п’ять паралельних каналів, біля кожного з яких розташований додатковий затвор 32 (першим затвором 31 є підкладка) – рисунок 11.4. Наявність п’яти каналів і додаткових затворів дозволяє збільшити струм стоку, а також підвищити ефективність керування товщиною каналу, оскільки перекриття каналу відбувається з боку затвора і зверху, і знизу.
136
Принцип дії ПТУП розглянемо за допомогою схематичного
зображення приладу на рисунку 11.2. При збільшенні напруги Uзв , яка
містить запірні шари у зворотному напрямі, ці шари розширяються. Товщина p-n – переходу зростає повністю у бік каналу, оскільки у ПТУП області затвора завжди високолеговані, а канал має низьку
концентрацію домішок ( NД3 NАК для транзистора з p - каналом).
Розширення керувального p-n – переходу приводить до зменшення ширини каналу, зниження його електропровідності і зменшення струму
через нього ( IC ) при незмінній напрузі. Отже, змінюючи напругу на
затворі Uзв , тобто змінюючи поперечне електричне поле, можна
ефективно керувати зміною струму стоку IC (величиною внутрішнього
опору транзистора.) Це найважливіша властивість польового транзистора в режимі підсилення сигналів. Саме вона зумовлює суттєву відмінність ПТ від біполярних транзисторів, яка полягає в наступному.
При зміні вхідної напруги ПТ Uзв змінюється лише поперечне поле, що керує інтенсивністю потоку носіїв через канал. Вхідний струм транзистора – струм затвора Iз - практично не змінюється як струм насичення p-n – переходу в зворотному вмиканні. Отже, внаслідок
слабкої зміни Iз при зміні затворної напруги, а також із причини
великого вхідного опору ПТ (малого струму Iз ) вважають, що
керування вихідним струмом приладу IC відбувається не за рахунок
зміни вхідного струму, як у БТ, а внаслідок зміни вхідної напруги, як у вакуумному тріоді. Великий вхідний опір усіх ПТ порівняно з біполярними – це суттєва перевага польових приладів.
Нехай стокова напруга Ucв =0. Тоді при зміні Uзв можна
досягти повного перекриття каналу внаслідок змикання запірних шарів. Канал у цьому випадку має дуже великий опір, а напруга, при якій це
відбувається, називається напругою відсічення (Uзввідс ). |
Напруга |
Uзввідс є важливим параметром ПТУП. Оцінимо її, а також дослідимо вплив напруги Uзв на товщину каналу K .
Товщина p-n – переходу, як відомо з першого розділу
137
конспекту, дорівнює
|
2 0 |
( |
1 |
|
1 |
)(UK U). |
(11.1) |
|||
|
NA |
NД |
||||||||
|
q |
|
|
|
|
|
||||
Оскільки NД3 NАК , |
то P , і тоді |
для зворотної |
||||||||
напруги затвора |
|
|
|
|
|
|
|
|
|
|
|
|
|
|
|
|
|
|
|||
|
|
|
2 0 (UK |
Uзв ) |
. |
(11.2) |
||||
|
|
|
|
|
|
|||||
qNA
Ширину каналу можна визначити згідно з рисунком 11.2 за формулою
K |
=a 2 P |
=a 2 |
2 |
0 (UK U |
зв ) |
|
qNA |
|
|||
|
|
|
|
|
де a - відстань між n областями затвора.
Як було зазначено, при
,(11.3)
канал перекривається
( K =0). Для цього випадку з формули (11.3) випливає, що
U |
зв +Uзв |
|
= |
qa2 N |
A |
. |
|
|
||||||
відс |
|
|
8 0 |
|
|
|
||||||||
|
|
|
|
|
|
|
|
|
|
|
|
|||
Наприклад, для ПТУП з NA 8 1015 |
см 3 |
і a 2 10 4 |
см маємо |
|||||||||||
|
Uзв +Uзввідс |
= 6 В. |
|
|
||||||||||
Оскільки контактна різниця потенціалів UK |
0.3 В, то можна |
|||||||||||||
вважати, що Uзввідс UK , і тоді |
|
|
|
|
|
|
|
|
|
|
||||
Uзв |
|
= |
qa2 N |
A |
. |
|
|
|
(11.4) |
|||||
відс |
|
8 0 |
|
|
|
|
||||||||
|
|
|
|
|
|
|
|
|
|
|||||
Використовуючи рівності (11.3) та (11.4), можна одержати |
||||||||||||||
аналітичну залежність |
ширини |
каналу |
|
K |
від |
напруги на |
||||||||
затворі Uзв |
|
|
|
|
|
|
|
|
|
|
|
|
|
|
138
K |
=a(1 |
|
Uзв |
) . |
|
(11.5) |
||||
|
|
|
||||||||
|
|
|
Uзввідс |
|
|
|||||
Оскільки опір каналу обернено пропорційний до його ширини, |
||||||||||
то існує така залежність |
|
RK0 |
|
|
||||||
RK (Uзв )= |
|
|
, |
(11.6) |
||||||
|
|
|
|
|
|
|
||||
a(1- Uзв |
/Uзввідс ) |
|||||||||
|
|
|
||||||||
де RK (Uзв ) – опір каналу при даній напрузі затвора;
RK0 - опір каналу при Uзв =0.
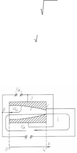
Тепер нехай Ucв 0. Напруга, що діє на стоці ПТУП, викликає проходження через канал і в зовнішньому колі струму IC . Струм
стоку, проходячи через ненульовий розподільний опір каналу, створює на ньому спад напруги (рисунок 11.5).
Рисунок 11.5 – До пояснення конфігурації каналу ПТУП при Ucв 0
На цьому рисунку вибрано переріз каналу на відстані їх від витоку. Падіння напруги U(x) пропорційне до величини опору ділянки
каналу і до струму стоку IC . Таким чином, в перерізі |
x напруга на |
p n переході Uзв +U(x) , оскільки напруга U(x) |
має той самий |
139 |
|
напрям, що і напруга Uзв , і її дія на p-n – перехід еквівалентна дії
додаткової зворотної напруги.
На підставі цього можна одержати залежність ширини каналу від координати x, тобто від величини напруги U(x) :
U |
зв U(x) |
|
||
K ( x)=a(1 |
|
|
) |
(11.7) |
|
|
|||
|
|
Uзввідс |
|
|
Очевидно, що спад напруги при проходженні струму через канал |
||||
залежить від координати x. Так, |
біля витоку ( x=0) |
U(x) =0. Біля |
||
стоку ( x=LK , де LK - довжина каналу) U(x) =U ( LK )=Ucв . З цього приводу можна вважати, що при ненульовій стоковій напрузі ширина каналу зменшується в напрямі від витоку до стоку згідно з формулою
(11.7). Біля стоку ширина каналу мінімальна, оскільки U(x)max =Ucв :
K =a(1 |
|
Uзв Uсв |
|
) . |
(11.8) |
|
Uзввідс |
|
|||
|
|
|
|
|
|
З формули (11.8) випливає, що при проходженні через канал |
|||||
ПТУП струму стоку IC |
опір каналу, |
а також струм |
через нього |
||
залежить і від напруги Uзв , і від напруги Ucв .
Розглянемо статичні характеристики ПТУП, які знімають за допомогою схеми рисунку 11.6. На цій схемі досліджуваний транзистор має канал p типу.
Рисунок 11.6 – Схема для експериментального зняття характеристик ПТУП
140