великі струми насичення IKнас |
та |
IЕнас |
, що визначаються рухом |
основних носіїв p областей. |
У |
базі |
відбувається накопичення |
неосновних нерівноважних носіїв, опір бази і всього БТ різко знижується, Транзистор у цьому режимі вважають відкритим і насиченим, вихідний струм некерованим;
3 Активний режим (АР). ЕП увімкнено в прямому напрямі, КП
– у зворотному. Полярність напруги на електродах БТ, зображених на рисунку 6.3, відповідоє цьому режиму. В колі емітера транзистора
проходить струм IE за рахунок інжекції дірок з емітера до бази, а
колекторний струм IK залежить від струму емітерного. Це основний
режим роботи БТ як підсилювального приладу, коли вихідним струмом можна управляти за допомогою зміни вхідного струму;
4 Інверсний режим. Це також режим керованого вихідного струму, однак ЕП увімкнено у зворотному напрямі, КП – прямо.
6.1.3 Принцип дії біполярного транзистора в активному режимі
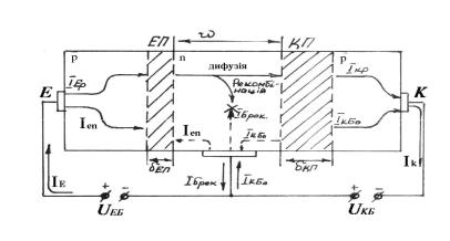
Принцип дії БТ розглянемо на прикладі схеми зі спільною базою (ССБ), яку показано на рисунку 6.4.
Рисунок 6.4 – Струми в БТ, то працює в активному режимі На рисунку суцільними стрілками показано діркові струми, або
ж умовно взяті (від “+” до “-”) напрями електронних струмів у p областях, пунктирними стрілками – електронні струми в базі.
61
При полярності напруги UЕБ , що показано на рисунку 6.4,
дірки з емітера інжектують до бази, а електрони – з бази до емітера, оскільки ЕП увімкнено в прямому напрямі. Через ЕП проходять
емітерні струми: дірковий EEP та |
|
електронний |
EEN . Отже, |
в |
||||||||||||||||||
зовнішньому колі проходить емітерний струм |
|
|
|
|||||||||||||||||||
|
|
|
|
|
|
|
|
|
|
|
|
|
UЕБ |
|
|
|
|
|
|
|
||
|
|
|
|
|
|
|
|
|
|
|
|
|
|
|
|
|
|
|
||||
IE |
IEP IEN |
|
|
IEБ0 |
(e ФТ |
|
1). |
|
(6.1) |
|
||||||||||||
Співвідношення |
|
між складовими |
струму |
IE оцінюється |
||||||||||||||||||
коефіцієнтом інжекції |
|
|
|
|
|
|
|
|
|
|
|
|
|
|
|
|
||||||
|
IEP |
|
|
|
|
IEP |
|
|
|
|
1 |
|
|
|
(6.2) |
|
||||||
|
I |
|
|
|
I |
|
|
|
|
IEN |
|
|
|
|||||||||
|
|
I |
E |
|
|
EP |
|
EN |
|
1 |
|
|
|
|
||||||||
|
|
|
|
|
|
|
|
|
|
IEP |
|
|
|
|||||||||
|
|
|
|
|
|
|
|
|
|
|
|
|
|
|
|
|
|
|
|
|||
Унаслідок інжекції концентрація дірок у базі біля ЕП |
||||||||||||||||||||||
підвищується |
|
до |
|
величини |
PБЕ , |
|
яку |
можна |
визначити |
за |
||||||||||||
формулою (2.8) |
|
|
|
|
|
|
|
|
|
|
|
|
|
|
|
|
|
|
|
|
||
|
|
|
|
|
|
|
|
|
|
|
UКБ |
|
|
|
|
|
|
|
|
|
|
|
|
|
P |
|
|
n |
e ФТ |
, |
|
|
|
|
|
|
|
(6.3) |
|
||||||
|
|
|
БЕ |
|
|
|
|
|
|
|
|
|
|
|
|
|
|
|
|
|||
|
|
|
|
|
|
|
|
|
0 |
|
|
|
|
|
|
|
|
|
|
|
|
|
де n0 - концентрація дірок у базі в стані рівноваги.
Розглянемо розподіл концентрації неосновних носіїв (дірок) у базі в цьому режимі. Протяжність бази позначимо координатою х, тоді межа ЕП відповідає випадку х=0, а межа КП – х = . При х=0 концентрація дірок визначається за формулою (6.3). Концентрацію дірок у базі біля КП ( x ) знаходять за виразом
|
|
|
|
|
|
UKБ |
|
|
|
|
|
||
|
|
|
|
|
|
|
|
|
|
|
|
||
|
P |
|
n0 |
e ФТ |
. |
|
|
(6.4) |
|||||
|
БK |
|
|
|
|
|
|
|
|
|
|
|
|
Розподіл неосновних носіїв у базі транзистора в установленому |
|||||||||||||
режимі визначають за допомогою рівняння неперервності 1 |
|||||||||||||
|
2 (pn pn |
) |
|
|
pn pn |
(6.5) |
|||||||
|
|
|
|
0 |
|
|
|
|
0 |
|
|||
|
|
x |
2 |
|
|
|
|
2 |
|
|
|||
|
|
|
|
|
|
|
|
|
L p |
|
|
|
|
розв’язання якого за граничних умов (6.3) та (6.4) при |
Lp має |
||||||||||||
вигляд |
|
|
|
|
|
|
|
|
|
|
|
|
|
|
|
|
|
|
|
|
|
|
62 |
|
|
|
|
pn |
|
pБЕ |
pБК |
. |
(6.6) |
x |
|
|
|||
|
|
|
|
||
З формули (6.6) випливає, що градієнт концентрації неосновних носіїв у базі є величиною постійною стосовно координати х, тобто розподіл концентрації дірок у базі має лінійний характер (рисунок 6.5). З цього рисунка та формул (6.3) і (6.6) бачимо, що градієнт концентрації
дірок змінюється при зміні напруги UЕБ . Під дією цього градієнта
дірки дифундують через базу від емітера до колектора. Частина дірок, не досягши КП, рекомбінує в області бази з електронами. На місце
електронів, що рекомбінували, від джерела UЕБ надходять нові електрони, створюючи рекомбінаційну складову струму бази IБрек .
Рисунок 6.5 – Розподіл концентрації дірок у базі БТ, що працює в активному режимі
Дірки, що досягли КП, створюють колекторний дірковий струм
IKP , причому внаслідок рекомбінації в базі IKP IEP . Процес
перенесення неосновних носіїв через базу під дією градієнта концентрації характеризується коефіцієнтом перенесення,
|
I |
KP |
1 |
2 |
, |
(6.7) |
|
|
2 |
||||
|
IEP |
2L p |
|
|||
який визначає міру зменшення |
колекторного діркового |
струму IKP |
||||
стосовно емітерного струму IEP . |
|
|
||||
|
|
|
|
63 |
|
|
Дірки, |
досягши |
КП, який увімкнено у |
зворотному напрямі, |
||
потрапляють |
у |
його |
прискорювальне |
поле |
і перекидаються |
(екстрагуються) в |
p область колектора. |
Екстракція дірок може |
|||
супроводжуватись ударною іонізацією атомів НП і, як наслідок,
лавинним множенням носіїв (при зворотній напрузі UKБ ). |
Дірки, |
що |
||
потрапили в колектор унаслідок екстракції (при малих |
UKБ ) |
або |
||
ударної іонізації, порушують електричну нейтральність |
p області, |
|||
і це викликає приплив електронів від джерела |
UKБ , |
тобто |
||
проходження в зовнішньому колі колектора струму |
IK . |
Процес |
||
помноження носіїв у КП оцінюється коефіцієнтом помноження колекторного струму
|
|
|
|
|
|
|
|
|
|
|
|
|
|
|
M |
IK |
. |
|
|
|
(6.8) |
|
|
|
|
|
|
|
|
|||
|
|
|
|
|
IKP |
|
|
|
|
|
IK |
|
Важливо запам’ятати, що за нормальної роботи БТ М=1, |
струм |
|||||||
IKP |
називається керованим колектором струмом |
IKкер |
. Ця назва |
|||||||
зумовлена тим, що чим більше дірок інжектуються емітером до |
бази, |
|||||||||
тим |
|
більша їх |
кількість екстрагує до |
колектора. |
Отже, |
струм |
||||
IKкер |
|
IKP |
пропорційний до емітерного струму |
|
|
|
||||
IK |
|
|
|
|||||||
|
|
|
|
IKкер h21Б I E , |
|
|
|
(6.9) |
||
де |
h21Б - |
статичний коефіцієнт передачі |
струму емітера. |
Оскільки |
||||||
IKкер |
IKP IEP , |
то h21Б 1. |
|
|
|
|
||||
З формули (6.9) випливає найважливіша властивість БТ: керування вихідним струмом можливе при зміні струму вхідного. З
формули (6.9) означає, що IE IEP , тому що електронний струм IEN
малий внаслідок слабкої легованості бази.
При деяких напругах на КП UKБ UKБпроб , коли в переході виникає явище пробою, коефіцієнт М зростає (М>1) і струм IK IKP
буде некерованим.
Через увімкнений у зворотному напрямі КП проходить дрейфовий струм неосновних носіїв, який називається зворотним
струмом колектора IKБ0 . Цей струм проходить від “+” джерела UKБ
через базу, КП, колектор до “-”UKБ . Оскільки напрям цього струму
64
збігається з напрямом керованого колекторного струму IKкер , то можна
записати для повного колекторного струму БТ в схемі зі спільною базою в активному режимі
IK IKкер |
IKнекер |
h21Б IE IKБ0 , |
(6.10) |
де IKкер IKнекер - некерована складова колекторного струму в ССБ.
З рисунка 2.4 випливає, що загальний струм бази дорівнює
IБ IБрек IEN |
IKБ0 |
IБрек IKБ0 . |
(6.11) |
Струм емітера для транзистора можна знайти, враховуючи, що |
|||
він має складові IEP h21Б IE |
IБрек |
та IEN . Додавши і віднявши |
|
величину IKБ0 , одержимо |
|
|
|
IE h21Б IE IБрек IEN IКБ0 IКБ0 |
(6.12) |
||
Враховуючи формули (6.10) та (6.11), з (6.12) врешті одержимо вираз першого закону Кірхгофа для струмів електродів БТ у довільній схемі ввімкнення:
|
IE IБ IК . |
(6.13) |
З рівнянь (6.13) та (6.10) випливає |
|
|
IБ IE IK |
(1 h21Б )IE IКБ0 . |
(6.14) |
Порівнюючи формули (6.11) та (6.14), можна зробити висновок, що рекомбінаційна складова струму бази
IБрек (1 h21Б )IE . |
(6.15) |
В активному режимі (1 h21Б )IE IКБ0 |
, тобто напрям базового |
струму визначається рекомбінаційною складовою.
1.1.4Вплив конструкції та режиму роботи транзистора на
|
|
h21Б . |
|
|
|
|
IK |
|
|
|||
З формули (6.9) при Iкер |
випливає, що |
|
||||||||||
|
|
|
|
|
IKP |
|
|
IEP |
|
|
|
|
h |
|
IK |
|
IK |
|
|
|
|
M . |
(6.16) |
||
|
IKP |
IEP |
IE |
|||||||||
21Б |
|
IE |
|
|
|
|
||||||
|
|
|
|
|
|
|
|
65 |
|
|
|
|