Материал: LS-Sb89585

Внимание! Если размещение файла нарушает Ваши авторские права, то обязательно сообщите нам

стенками и плоским дном. Найти энергию второго квантового состояния, если ширина ямы a = 5Ǻ, m = m0.

Для частицы в одномерной потенциальной яме с бесконечно высокими стенками и плоским дном из решения (4.2) находим:

 

 

 

 

 

 

 

 

En =

2k2

,

kn

= n

,

 

 

 

 

 

 

 

 

 

 

 

 

 

 

 

 

 

2m

 

 

 

 

 

 

 

 

 

 

 

 

 

 

 

 

 

 

 

 

 

 

 

 

 

 

 

 

 

 

 

 

 

 

 

 

 

 

 

 

 

где n – любое положительное целое число.

 

 

 

 

 

 

 

 

 

 

 

 

 

 

Для n = 2 получим

2 π

 

 

 

 

 

 

 

 

 

 

 

 

 

 

 

 

 

 

 

 

 

2 2

2

 

 

 

 

 

 

 

 

3

 

2

 

2

 

 

 

 

 

 

 

 

 

n

 

 

 

 

 

 

 

 

 

 

 

 

 

 

 

 

 

 

k

 

 

 

 

 

a

 

 

 

 

1

 

1

 

 

 

 

 

 

 

 

 

 

 

 

 

 

 

 

 

 

 

 

 

 

 

 

 

 

 

1

 

E2

2

 

 

 

 

 

 

 

,

×

03

4

 

 

 

1 2

 

1

 

2 m

 

 

 

2 m

 

 

 

 

 

 

 

 

 

8

 

 

 

 

 

 

 

 

 

 

 

 

 

 

 

 

 

 

 

 

 

 

 

 

=

0

=

 

0

 

=

2

(9

0

1

 

 

 

)5 1

 

=

0

Дж.

 

 

 

 

 

 

 

 

 

 

 

 

 

 

 

 

 

 

 

 

×

3

 

5

0

(

× 0

0

)

 

 

 

 

 

 

 

 

 

 

 

 

 

,

 

×

1 ×

 

 

 

 

 

 

 

 

 

Задача 4.4. В приближении слабой1 связи определить концентрацию электронов в кубических кристаллах из условия касания сферы Ферми и зоны Бриллюэна в обратном пространстве (a = 3Ǻ).

Потенциальное поле кристалла V(r) можно аппроксимировать повторяющимися с периодом a потенциальными барьерами заданной высоты. Решение уравнения Шредингера (4.2) в этом случае приводит к зависимости E(k) в виде повторяющихся разрешенных (РЗ) и запрещенных (ЗЗ) зон значений энергии электронов (рис. 4.1).

E

 

ky

 

 

π/a

 

зз

 

 

 

 

kБр

рз

 

kF

-π/a

π/a

зз

 

kx

-2π/a -π/a 0 π/a 2π/a k

 

 

 

 

-π/a

 

Рис 4.1

 

Рис 4.2

 

Функция E(k) имеет разрывы в точках, где k ‒ модуль волнового векто-

ра k, равен ks = ±S a (S – положительное целое число) и описывается вы-

ражением

E(k ) = 2k 2 . 2m

Для изотропных кристаллов кубической сингонии зона Бриллюэна представляет собой куб со стороной 2π/a. Для 1-й зоны Бриллюэна (s = 1) kБр = ±π/a (рис. 4.2).

Поверхность Ферми для слабо связанных (свободных) электронов есть сфера, радиус которой kF связан с концентрацией электронов n зависимо-

16

E1(k)
Рис. 4.3

стью

kF = (3π2n)1/ 3 .

Из

 

 

 

условия

 

kF

= kБр =

 

 

получаем

 

 

 

 

 

 

n

 

 

 

 

 

 

4 1

2

 

 

 

 

 

 

 

 

 

 

 

 

 

 

 

a

 

 

 

 

 

 

 

 

 

 

 

 

 

 

 

 

 

 

 

 

 

 

 

=

 

3 a3=

3×

3 1

1 3» × 0

8 м–3.

 

 

 

 

 

 

 

 

 

 

 

 

 

 

(

×

0

0

)

 

 

 

 

 

 

 

 

 

 

 

 

 

 

 

 

 

 

 

 

Задача 4.5.

Определить групповую скорость электронов на по-

верхности Ферми, если m* = 0,1m ; k

F

= 1028 м–1 .

 

 

 

 

 

 

 

 

 

 

 

 

 

 

 

 

0

 

 

 

 

 

 

 

 

 

 

 

 

 

Групповая скорость электронов в кристалле определяется соотношением

 

 

 

 

 

 

 

 

рг =

 

 

 

 

 

 

=

 

.

 

 

 

 

 

(4.4)

 

 

 

 

 

 

 

 

 

 

 

 

 

 

 

 

 

 

 

 

 

Для нашего случая k = kF и групповая скорость электрона на поверхно-

сти Ферми равна скорости Ферми

1

 

 

 

1

 

 

 

1

 

 

 

 

 

 

 

 

 

 

 

 

 

vF

k

 

 

 

×

 

 

 

 

 

1 7

 

 

 

 

 

 

 

 

г

 

F

 

,

 

 

0 4 ×

0

0

 

 

 

 

 

 

 

 

 

р =

 

=

m*=

 

0

9

×

 

1

3

 

0

 

=

0 м/с.

 

 

 

 

 

 

 

 

 

 

 

 

,

 

0

1 ×

,

 

 

 

 

 

 

 

 

 

 

 

 

 

 

 

 

5

1

 

 

 

 

 

 

1

 

 

 

 

 

 

Задача 4.6. Указать правильное соотношение между эффектив-

ными массами электронов в состояниях с модулями волновых векторов kA, kB для заданного энергетического спектра E(k) (рис. 4.3).

Рассматриваемый энергетический спектр E(k) имеет три ветви: вырожденные E1(k) и E2(k) и двухдолинный E3(k). Поведение электронов в кри-

сталле описывается с помощью

E

E3(k)

kA

kB

E2(k) k

эффективной массы m*, определяемой вблизи экстремальных точек функции

E(k) как:

*

 

 

2

)

 

 

 

 

dk (

 

.

(4.5)

m =

d2 E k

 

 

 

 

 

 

 

 

 

 

2

 

 

к

 

 

 

 

 

 

 

 

 

 

 

 

 

 

 

 

Для изотропного кристалла эффективная масса m* – скалярная величина. В общем случае необхо-

димо использовать тензор обратной эффективной массы. Из (4.5) следует, что эффективная масса прямо пропорциональна радиусу кривизны

функции E(k).

 

 

 

 

 

 

 

 

 

 

 

 

 

 

 

 

 

 

 

 

 

 

 

 

В нашем случае для вырожденных ветвей согласно (4.5) имеем

 

 

 

 

*

 

 

 

 

2

*

 

 

 

 

2

 

 

d

2

E1

 

 

 

d

2

E2

 

 

 

 

 

 

 

 

 

 

 

 

 

 

 

 

 

 

m

1 kA =

 

 

 

 

< m 2 kA =

 

 

 

, т. к.

 

 

 

>

 

 

 

 

 

 

 

 

 

 

 

 

 

dk 2

 

 

dk 2

 

 

 

 

 

 

 

 

 

 

 

 

 

 

 

 

(

)

 

d2E1

k

 

(

)

 

d2E2

 

 

 

k

 

 

 

k

 

 

 

 

 

 

 

 

 

 

 

 

 

 

 

 

 

 

 

dk 2

 

 

 

 

dk 2

 

 

 

 

 

 

 

A

 

 

 

 

 

 

A

 

 

 

 

 

 

 

 

 

 

 

 

 

 

 

 

 

 

 

 

 

 

 

 

 

 

 

 

 

 

 

 

 

 

 

 

k A

 

 

 

 

 

 

 

 

 

 

 

 

 

 

 

 

 

 

 

 

 

 

 

 

 

 

 

 

 

 

 

 

 

 

 

 

 

 

 

17

и m*1(kA) < 0, m*2(kA) < 0, т.е. для выпуклых экстремумов E(k) мы определя-

ем эффективную массу дырок. Для двухдолинной ветви E3(k), используя

(4.5), получаем

m*3(kA) < m*3(kB); m*3(kA) > 0; m*3(kB) > 0,

т. е. в первой долине при k = kA электроны более легкие, чем во второй долине при k = kB.

ТЕМА 5. КИНЕТИЧЕСКИЕ ЯВЛЕНИЯ В ТВЕРДЫХ ТЕЛАХ

Для качественного описания кинетических явлений используют элементарный кинетический метод, в котором носители электрического заряда электроны (дырки) и носители тепла фононы рассматриваются как свободные частицы, при этом расчет ведется по отношению к одной частице, движущейся свободно между двумя последовательными столкновениями с различными рассеивающими центрами, с последующими усреднением по всем частицам. Согласно этой теории с учетом квантовых представлений, определяющих эффективную массу носителя заряда m", для электропроводности твердых тел пользуются выражением:

σ =

e2n0τ

,

(5.1)

 

 

m"

 

где: n0 - концентрация электронов; τ – время свободного пробега электрона

(время релаксации). Электропроводность материала может быть вычислена также по формуле

σ = enµ,

где использовано соотношение между средним временем свободного пробега τ и подвижностью носителей заряда µ = e/m*τ. Подвижность носителя заряда µ численно равна скорости дрейфа vдр в электрическом поле еди-

ничной напряженности ε.

Для решения задач этой темы студенты могут воспользоваться программами MCAD (см. список прил. П6, П7 и П8).

Задача 5.1. Рассчитать удельное сопротивление и теплопроводность алюминия в диапазоне температур T = 77 ... 400 К, если измеренное удельное сопротивление образца при Т = 0 ° С составляет

2,45 мкОм·см и концентрация электронов n0 = 1029 м–3 .

Для Al (см. Прил.1) находим a = 4,05 Ǻ, TD = 394 K, Tпл = 933 K.

Процессы рассеяния электронов в твердом теле можно подразделить на несколько видов, из которых в данной задаче будем рассматривать два:

18

где vF
При T << TD

рассеяние электронов на фононах (тепловых колебаниях решетки) и рассеяние электронов на дефектах структуры.

Рассеяние электронов на фононах по-разному зависит от температуры. Общее выражение для электропроводности, справедливое во всем температурном диапазоне, дается следующими соотношениями Бло-

ха‒Грюнайзена:

σ

ρ

 

 

T

5

 

 

T

(T )1 =

(T )

= 4R ×

 

 

J

 

 

D

,

 

 

 

 

 

 

п

T

 

 

5

T

 

 

 

 

D

 

 

 

 

 

 

 

x

 

 

z5 dz

 

 

 

 

 

 

J5 (x) =

 

 

 

 

 

 

 

 

,

 

 

 

 

 

 

 

 

 

 

 

0

 

(ez - 1)(1- ez )

где Rп – приведенное идеальное сопротивление; z = hω/2πkT; x = TD /T.

Приведенные соотношения позволяют определить электропроводность металла в двух предельных случаях: T >> TD и T << TD (TD – температура Дебая), используемых на практике для расчета.

При высоких температурах T >> TD процесс рассеяния носит упругий характер, и средняя длина свободного пробега λ(T) определяется простой приближенной формулой:

λ(T ) = 50

Tпл

a ,

(5.2)

 

 

T

 

где: Tпл – температура плавления; a – параметр решетки материала.

характер рассеяния становится неупругим и λ(T) имеет

вид:

λ

λ

T 5

 

(T ) =

(T

)×

D

.

(5.3)

 

 

D

T

 

 

 

 

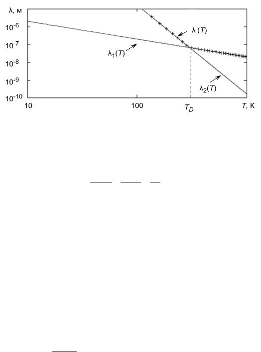
Соотношения (5.2), (5.3) позволяют приближенно оценить длину свободного пробега, определяемую рассеянием электронов на тепловых колебаниях решетки (фононах). На рис. 5.1 представлены графики зависимости λ1(T) и λ2(T), рассчитанные по формулам (5.2) и (5.3) соответственно для Al.

Штрихами (×) выделен график результирующей зависимости λ(T).

Время свободного пробега электронов в чистом металле τ

(T):

 

 

 

 

3

 

2

 

f

 

 

 

 

 

 

 

 

 

 

 

 

 

 

 

 

h

 

n

 

 

τ

(T )

 

F=

(

 

0

 

 

f (T ) =

,

 

 

m"

 

,

(5.4)

 

 

 

 

 

 

vF

 

 

 

 

 

 

 

 

скорость Ферми; h – постоянная Планка.

Время релаксации при рассеянии электронов на дефектах структуры в металле τd не зависит от температуры.

19

Рис. 5.1

Результирующее время релаксации τΣ при учете обоих механизмов

рассеяния определяется правилом Маттиссена:

 

1

1

1

 

 

 

τΣ

=

τ

+

τ

.

(5.5)

 

f (T )

 

 

(T )

 

 

d

 

Формула 5.5 представляет собой алгебраическую сумму при условии преобладания одного из механизмов рассеяния.

Чтобы оценить вклад в электропроводность, вносимый рассеянием на дефектах структуры, сравним время свободного пробега электронов в чистом металле и в условиях задачи при 273 К с результирующим временем релаксации τΣ(273). Из рис. 5.1 находим λ(273) = 10–7 м, а согласно (5.4) по-

лучаем для скорости Ферми vF = 2,1·106 м/c и времени свободного пробега электронов в чистом металле τf(273) = 5·10–14 с. Используя выражение

(5.1), по заданному измеренному значению удельного сопротивления образца, равному ρ = 2,45 мкОм·см при Т = 0 ° С, находим результирующее

время релаксации τΣ(273) с учетом обоих механизмов рассеяния:

τΣ=

m"

9,1×1031

» 1015 c.

e2 n

ρ=

(1,6 ×1019 )210292,45 ×108

 

0

 

 

Сравнение показывает, что преобладает процесс рассеяния на дефектах структуры, т. к. он имеет на порядок меньшее значение (10‒15 < 10–14).

Теплопроводность κ(T) металла может быть определена на основе закона Видемана–Франца, который справедлив при высоких температурах (T >> TD), а также при температурах столь низких, что рассеяние стацио-

нарными дефектами становится преобладающим:

20