Материал: 847

Внимание! Если размещение файла нарушает Ваши авторские права, то обязательно сообщите нам

25

2 МАГНИТНЫЕ ЭЛЕМЕНТЫ, ПОЛУЧИВШИЕ НАИБОЛЬШЕЕ ПРИМЕНЕНИЕ В СИСТЕМАХ

СЭЛЕКТРОННЫМИ УСТРОЙСТВАМИ

2.1Классификация МЭ по выполняемым функциям

Название МЭ (трансформатор, дроссель, магнитный усилитель и др.) определяется его назначением по выполняемым функциям в электротехнической схеме. На рис. 2.1.1 показано принятое по стандартам изображение МЭ. Здесь магнитопровод показан жирной линией (если есть зазор, то линия однократно прерывается) и представлены обмотки: W1 — первичная, включаемая в сеть источника

электроэнергии; W21, W22 , . . . , W2i — вторичные обмотки, количе-

ство которых и включение в электротехнической схеме определяется функциями, выполняемыми МЭ. Вторичные обмотки могут иметь свои индексы по назначению. Например: Wd — подмагничи-

вающая, Wу — управляющая, Wсм — смещающая и др. Функции МЭ многообразны. До появления электронных

W1

W 21

 

. . .

W 22

W 2i

Рис. 2.1.1

устройств магнитным элементам приходилось выполнять все задачи, которые сейчас возложены на электронную технику, превосходящую электромагнитные системы по быстродействию и массо-габаритным показателям.

Однако, есть функции, которые электронные устройства не выполняют. К таковым относятся: трансформирование напряжения переменного тока с увеличением его или уменьшением; гальваническая развязка электрических цепей (нет электрических соединений для входных и выходных величин); создание индуктивностей; усиление сигналов при гальванической развязке входных и выходных цепей.

Эти функции определяют назначение и название МЭ, применяемых в электронных устройствах:

трансформатор — повышает или понижает входное напряжение;

26

дроссель (электромагнитный) — нерегулируемая индуктивность;

дроссель насыщения — регулируемая индуктивность, или регулятор тока;

магнитный усилитель — усилитель сигналов напряжения, тока и мощности с гальванической развязкой управляющих и силовых цепей;

умножитель частоты — кратно, в 2, 3, 4, 6, . . . раз, увеличивает входную частоту с гальванической развязкой входных и выходных цепей;

делитель частоты (ступенчато, кратно 2, 3, 4 … раз); умножитель числа фаз, фазосдвигатели и др.

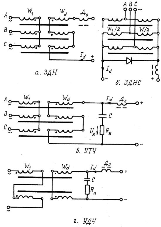
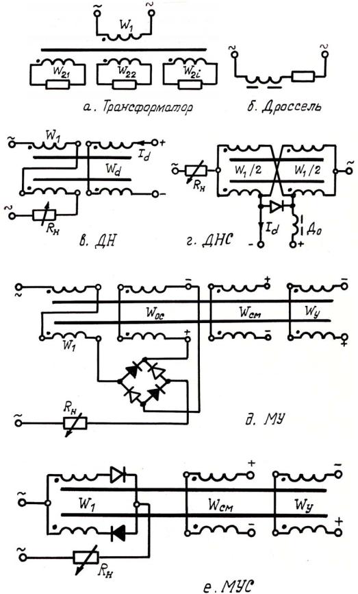
На рис. 2.1.2 и 2.1.3 показаны схемы включения обмоток МЭ, обеспечивающиеихфункциональноеназначениепоклассификации.

Трансформатор (ТР) — рис. 2.1.2, а.

Дроссель электромагнитный (Д) — рис. 2.1.2, б.

Дроссели насыщения однофазные (ДН, ДНС) — рис. 2.1.2, в, г. Магнитный усилитель с внешней положительной обратной

связью по току (МУ) — рис. 2.1.2, д.

Магнитный усилитель с внутренней положительной обратной связью по току (МУС) — рис. 2.1.2, е.

Дросселинасыщениятрехфазные(3ДН, 3ДНС) — рис. 2.1.3, а, б. Магнитный утроитель частоты (УТЧ) — рис. 2.1.3, в. Магнитный удвоитель частоты(УДЧ) — рис. 2.1.3, г.

Ранее, на уровне 2-го поколения преобразовательной техники, МЭ выполняли все функции, которые в настоящее время выполняют полупроводниковые элементы(транзисторы, тиристорыи др.).

Обращаем внимание на тот факт, что обмотки постоянного тока всегда включены для наводимых в них ЭДС встречно (однофазные схемы), или в открытый треугольник (трехфазные схемы). В этом случае на концах управляющих обмоток никогда не будет переменного напряжения. Однако токи гармоник первичной цепи, странсформированные в обмотки постоянного тока, могут быть опасными для источников управляющих напряжений, их уменьшают индуктивностью дросселей До .

27

Рис. 2.1.2

28

Рис. 2.1.3

Свойства и характеристики типовых МЭ рассматриваются в последующих разделах.

29

2.2 Дроссели электромагнитные

Дроссель электромагнитный — это индуктивность, обес-

печиваемая ампервитками обмотки, расположенной на ферромагнитном сердечнике с конкретными геометрическими размерами и кривой намагничивания В = μаН , свойственной этому сердечни-

ку (магнитопроводу). Индуктивность L, измеряемая единицей

Генри (Гн = В с м2 ), является главным параметром дросселя,

А

ради которого этот дроссель и выполняется.

Различают дроссели постоянного и переменного тока. Первые включаются в цепях постоянного тока с целью подавления переменных составляющих этого тока. Вторые используют в цепях переменного тока, как индуктивное сопротивление

X L = ω L = 2π f L ,

изменяющее величину тока при заданном входном напряжении или фильтрующее определенную гармонику в схеме фильтра.

Всегда важно выполнить дроссель, обладающий необходимой индуктивностью L. В электронных устройствах дроссели электромагнитные являются неотъемлемой частью LR и LC фильтров.

На рисунке 2.2.1, а показан вариант исполнения дросселя на ленточном сердечнике ПЛ-образного типа (похожие на букву П). Здесь имеется обмотка с числом витков W (она может быть разделена на две части с расположением на обоих стержнях магнитопровода) и магнитопровод с геометрическими размерами:

а — ширина, b — толщина сечения Sc ;

с — ширина и h — высота окна магнитопровода. Геометрические размеры нужны для определения важных

параметров индуктивности:

Lc — средняя длина магнитопровода, она же является сред-

ней силовой линией магнитного потока; Sc — сечение магнитопровода;

δ — немагнитный зазор в магнитопроводе, назначение см. ниже.