–
коэффициент,
определяемый по графику, приведенному
на рис.4.1, в зависимости от гибкости
ребра λ:
; (4.7)
-
гипотенуза ребра,
–
для
опоры-лапы;
для
опоры-стойки
определяется из рис.
3.
-
число ребер в опоре (
= 2, рис.
2.3);
-
толщина ребра;
-
вылет ребра;
-
допускаемое напряжение на сжатие
для
материала ребер опоры;
-
коэффициент уменьшения допускаемых
напряжений при продольном изгибе.
Для
опор типа 1; 3 –
=
0,6.
Для
опор типа 2 –
= 0,4.
Для стали марки Ст.3 напряжение в ребрах должно быть не более 100 МПа. Если оно больше допустимого, то увеличивают толщину ребра и рассчитывают повторно.
Проверка на срез прочности угловых сварных швов, соединяющих ребра с корпусом аппарата;
(4.8)
где
= 0,85 ∙ S1
–
катет шва;
– общая
длина швов;
–
допускаемое
напряжение на срез в сварном шве,
<
80
МПа.
Расположение опор-стоек и опор-лап для корпусов типа 0; 1; 2; 3 (см. табл. (6-12; 14) и присоединительные размеры приведены на рис. 4.4; 4.5 и в табл.3.
4.2. Конструкция опор –лап и опор-стоек
Опора приводов для корпусов типа 0; 1; 2; 3 представлена на рисунке 4.6, присоединительные размеры приведены в табл. 4.4, где
D5 - размер болтовой окружности для присоединения стоики привода;
D1 - размер болтовой окружности для присоединения торцового или сальникового уплотнения вала перемешивающего устройства;
d1, d2 - размеры болтов (шпилек) для крепления уплотнения вала и привода соответственно;
n и n1 - количество болтов (шпилек) уплотнения и привода соответственно.
|
|
|
|
|
|
|
|
|
|
|
|
|
|
|
|
|
|
|
|
|
|
|
|
|
|
|
|
|
|
|
|
|
|
|
|
|
|
|
|
|
|
|
|
|
|
|
|
|
|
|
|
|
|
|
|
|
|
|
|
|
|
|
|
|
|
|
|
|
|
|
|
|
|
|
|
|
|
|
|
|
|
|
|
|
|
|
|
|
|
|
|
|
|
|
|
|
|
|
|
|
|
|
|
|
|
|
|
|
|
|
|
|
|
|
|
|
|
|
|
|
|
|
|
|
|
|
|
|
|
|
|
|
|
|
|
|
|
|
|
|
|
|
|
|
|
|
|
|
|
|
|
|
|
|
|
|
|
|
|
|
|
|
|
|
|
|
|
|
|
|
|
|
|
|
|
|
|
|
|
|
|
|
|
|
|
|
|
|
|
|
|
|
|
|
|
|
|
|
|
|
|
|
|
|
|
|
|
|
|
|
|
|
|
|
|
|
|
|
|
|
|
|
|
|
|
|
|
|
|
|
|
|
|
|
|
|
|
|
|
|
|
|
|
|
|
|
|
|
|
|
|
Рис. 4.1. График к расчету ребра опоры

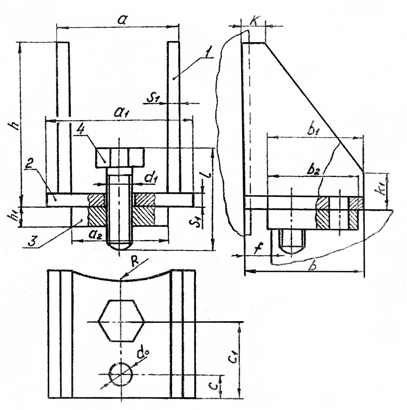
Рис. 4.2. Конструкция опор-лап
типа
1, 2, по ОСТ 26-665-87. Исполнение 2:
1
– косынка; 2 – основание; 3 – подкладной
лист;
4
– регулировочный болт
Таблица 4.1
Размеры опор-лап типа 1, 2 исполнения 2 по ГОСТ 26-655-72 (для рис. 4.2)
|
Допус-каемая нагрузка на опору, кН |
Диаметр аппарата, мм |
Тип |
а, мм |
a1, мм |
a2, мм |
b, мм |
b1, мм |
b2, мм |
с, мм |
c1, мм |
h, мм |
h1, мм |
l, мм |
St, мм |
K, мм |
K1, мм |
R, мм |
r, мм |
d0, мм |
d1, мм |
f, мм |
Масса |
Подкладной лист, кг |
|
40 |
1000 |
1 |
170 |
190 |
120 |
185 |
150 |
400 |
40 |
100 |
285 |
20 |
100 |
10 |
30 |
50 |
800 |
20 |
35 |
М24 |
50 |
7,77 |
2,6 |
|
2 |
315 |
390 |
80 |
160 |
16,43 |
||||||||||||||||||
|
63 |
1400 |
1 |
210 |
250 |
150 |
230 |
170 |
160 |
120 |
345 |
24 |
120 |
12 |
35 |
60 |
1100 |
М30 |
60 |
14 |
4,5 |
|||
|
2 |
380 |
470 |
100 |
210 |
28 |
||||||||||||||||||
|
100 |
2000 |
1 |
250 |
310 |
200 |
310 |
230 |
220 |
160 |
460 |
30 |
16 |
40 |
80 |
1400 |
30 |
42 |
М36 |
80 |
33,4 |
10 |
||
|
2 |
520 |
620 |
130 |
280 |
69,3 |
||||||||||||||||||
|
160 |
2400 |
1 |
340 |
380 |
250 |
390 |
290 |
280 |
60 |
200 |
570 |
36 |
150 |
20 |
60 |
100 |
1600 |
40 |
М42 |
100 |
65,8 |
19,5 |
|
|
2 |
650 |
780 |
180 |
360 |
137,8 |
||||||||||||||||||
|
250 |
2800 |
1 |
410 |
453 |
300 |
480 |
360 |
350 |
240 |
680 |
40 |
24 |
75 |
120 |
1800 |
50 |
М48 |
180 |
116,4 |
32,9 |
|||
|
2 |
800 |
940 |
220 |
435 |
245,6 |

Рис.4.3. Конструкция опор-стоек типа 3 по ОСТ 26-365-87
Исполнение 2:
1 – косынка; 2 – основание; 3 – подкладной лист; 4 – регулировочный болт
Таблица 4.2
Размеры опор-стоек типа 3 исполнения 2 по ГОСТ 26-655-72 (для рис. 3)
|
Допус-каемая нагрузка на опору, кН |
Диаметр аппарата, D, мм |
Тип |
а, мм |
а1, мм |
а2, мм |
b, мм |
b1, мм |
b2, мм |
b3, мм |
с, мм |
c1, мм |
h, мм |
h1, мм |
l, мм |
S1, мм |
К, мм |
K1, мм |
r, мм |
d0, мм |
d1, мм |
Масса, кг |
Подкладной лист, кг |
|
40 |
1000 |
3 |
170 |
200 |
120 |
180 |
150 |
140 |
240 |
40 |
100 |
420 |
20 |
100 |
12 |
50 |
125 |
20 |
35 |
М24 |
17,5 |
2,6 |
|
63 |
1400 |
3 |
280 |
230 |
150 |
200 |
170 |
160 |
280 |
120 |
490 |
24 |
120 |
14 |
15 |
150 |
М30 |
27,6 |
4,5 |
|||
|
100 |
2000 |
3 |
270 |
310 |
200 |
250 |
230 |
220 |
360 |
160 |
630 |
30 |
18 |
20 |
180 |
30 |
42 |
М36 |
57,6 |
10 |
||
|
160 |
2400 |
3 |
360 |
400 |
250 |
340 |
290 |
280 |
480 |
60 |
200 |
840 |
35 |
150 |
24 |
25 |
250 |
40 |
М42 |
136,6 |
20 |
|
|
250 |
2800 |
3 |
500 |
550 |
300 |
490 |
360 |
350 |
620 |
240 |
1200 |
40 |
34 |
35 |
350 |
50 |
М48 |
394 |
33 |
Примечание. Пример условного обозначения опоры типа 3 исполнения 2 с допускаемой нагрузкой 40 кН:
Опора 3-2-40 ГОСТ 26-655-72
Рис.
4.5.
Расположение
опор-лап для корпусов типа 0;1;2;3
Рис.
4.4.
Расположение
опор-стоек для корпусов типа 0;1
4.3. Конструкция опор привода
Таблица 4.3
Присоединительные размеры опор-стоек и опор-лап для корпусов типа 0; 1; 2; 3 (см. рис. 4.4; 4.5)
|
Диаметр аппарата, Dl, мм |
Диаметр отверстий под болты опор d0, мм |
D3, мм |
|||||
|
для опор-стоек |
для опор-лап (норм.) |
для опор-лап (увеличенных) |
|||||
|
без рубашки |
с рубаш-кой |
без рубашки |
с рубаш-кой |
без рубашки |
с рубаш-кой |
||
|
1000 |
35 |
920 |
1000 |
1280 |
1390 |
1480 |
1590 |
|
1100 |
35 |
1020 |
1100 |
1380 |
1490 |
- |
- |
|
1200 |
35 |
1100 |
1200 |
1480 |
1390 |
1680 |
1790 |
|
1300 |
35 |
1200 |
1300 |
1580 |
1690 |
- |
- |
|
1400 |
35 |
1260 |
1360 |
1680 |
1790 |
1880 |
- |
|
1500 |
42 |
1360 |
1450 |
1780 |
1890 |
- |
- |
|
1600 |
42 |
1410 |
1510 |
2000 |
2100 |
2300 |
2400 |
|
1700 |
42 |
1510 |
1610 |
198O |
2090 |
- |
- |
|
1800 |
42 |
1610 |
1710 |
2220 |
2300 |
2500 |
2600 |
|
1900 |
42 |
1710 |
1810 |
2180 |
2290 |
- |
- |
|
2000 |
42 |
1810 |
2010 |
2560 |
2760 |
2980 |
3180 |
|
2200 |
42 |
2010 |
2210 |
2700 |
3090 |
|
3610 |
|
2400 |
42 |
2210 |
2410 |
3080 |
3290 |
3600 |
3810 |
|
2600 |
42 |
2410 |
2610 |
3470 |
3670 |
4110 |
4310 |
|
2800 |
42 |
2610 |
2810 |
3670 |
3880 |
4310 |
4520 |
|
3000 |
42 |
2810 |
2960 |
3870 |
4080 |
4510 |
4720 |
|
3200 |
42 |
2960 |
3160 |
4070 |
- |
4710 |
- |