Исполнение
1, dм
= 80÷1400 мм
Исполнение
2, dм
= 450÷1400 мм
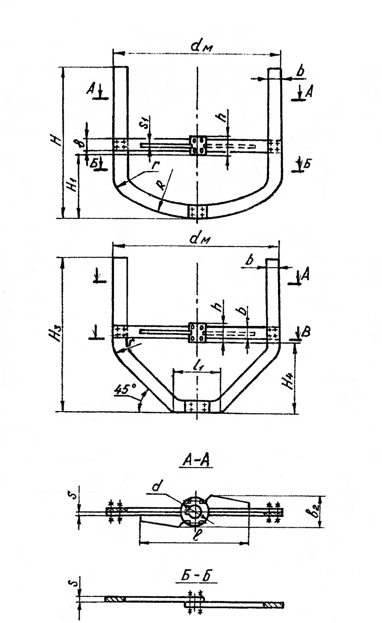
Рис. 3.4 Турбинные открытые мешалки, тип 0,3; 23; 33; 43
Таблица 3.3 Параметры турбинных открытых мешалок ОСТ-26-01-12-45-83
|
dм, мм |
d (поле допуска по H9) , мм |
h, мм |
b, мм |
s, мм |
Допустимый крутящий момент, не более |
Масса, кг, не более |
||
|
кН∙м |
кгс∙м |
|||||||
|
80 |
18 |
30 |
16 |
3 |
0,008 |
0,8 |
0,26 |
|
|
100 |
18 |
30 |
20 |
3 |
0,011 |
1,1 |
0,32 |
|
|
125 |
18 |
30 |
25 |
3 |
0,020 |
2,0 |
0,42 |
|
|
160 |
18 |
40 |
32 |
3 |
0,040 |
4,0 |
0,67 |
|
|
180 |
25 |
40 |
36 |
4 |
0,06 |
6 |
1,17 |
|
|
200 |
25 |
50 |
40 |
4 |
0,06 |
6 |
1,50 |
|
|
220 |
25 |
50 |
44 |
4 |
0,08 |
8 |
1,70 |
|
|
250 |
45 |
70 |
50 |
4 |
0,10 |
10 |
2,90 |
|
|
280 |
45 |
70 |
56 |
4 |
0,16 |
16 |
3,20 |
|
|
320 |
45 |
70 |
64 |
4 |
0,20 |
20 |
3,72 |
|
|
360 |
45 |
90 |
72 |
6 |
0,28 |
28 |
6,7 |
|
|
400 |
45 |
90 |
80 |
6 |
0,35 |
35 |
7,8 |
|
|
450 |
45 |
110 |
90 |
6 |
0,45 |
45 |
9,4 |
|
|
500 |
60 |
110 |
100 |
6 |
0,60 |
60 |
14,3 |
|
|
560 |
60 |
130 |
112 |
8 |
0,8 |
80 |
23,0 |
|
|
630 |
60 |
130 |
126 |
8 |
1,0 |
100 |
27,0 |
|
|
710 |
80 |
150 |
142 |
8 |
1,6 |
160 |
33,4 |
|
|
800 |
80 |
150 |
160 |
8 |
2,0 |
200 |
39,7 |
|
|
900 |
80 |
150 |
180 |
10 |
2,5 |
250 |
58,8 |
|
|
1000 |
90 |
200 |
200 |
10 |
3,0 |
300 |
77,4 |
|
|
1120 |
90 |
200 |
224 |
10 |
4,0 |
400 |
92,3 |
|
|
1250 |
100 |
220 |
250 |
12 |
6,0 |
600 |
155,0 |
|

Для
аппаратов с коническим днищем
b2
= 1,5в
l
= 0,7dм
r
= 0,152dм
R
= 0,82dм
S1
= 1,2S
l1
= 0,3dм
Рис. 3.5. Мешалка рамная
Исполнение 2, тип 9(10)
Таблица 3.4
Параметры рамных мешалок по ОСТ-26-01-1245-83
|
dM, мм |
d ( поле допуска по Н9), мм |
h, мм |
H, мм |
H1, мм |
b, мм |
s, мм |
Допустимый крутящий момент, не более |
Масса, кг, не более |
||
|
кН∙м |
кгс∙м |
|||||||||
|
200 |
18 |
30 |
140 |
63 |
20 |
4 |
0,045 |
4,5 |
0,8 |
|
|
220 |
18 |
30 |
160 |
80 |
20 |
4 |
0,045 |
4,5 |
0,9 |
|
|
250 |
18 |
30 |
220 |
120 |
20 |
4 |
0,060 |
6,0 |
1,0 |
|
|
280 |
25 |
40 |
250 |
120 |
20 |
4 |
0,080 |
8,0 |
1,4 |
|
|
300 |
25 |
40 |
250 |
120 |
25 |
6 |
0,10 |
10 |
1,6 |
|
|
320 |
25 |
40 |
280 |
120 |
25 |
6 |
0,12 |
12 |
1,7 |
|
|
360 |
25 |
50 |
300 |
120 |
25 |
6 |
0,16 |
16 |
1,9 |
|
|
400 |
25 |
50 |
360 |
120 |
36 |
6 |
0,16 |
16 |
3,3 |
|
|
450 |
25 |
50 |
400 |
160 |
36 |
6 |
0,16 |
16 |
3,7 |
|
|
500 |
25 |
50 |
450 |
160 |
36 |
6 |
0,16 |
16 |
4,5 |
|
|
530 |
25 |
70 |
500 |
200 |
36 |
8 |
0,2 |
20 |
5,4 |
|
|
560 |
25 |
70 |
500 |
200 |
45 |
8 |
0,2 |
20 |
6,7 |
|
|
600 |
25 |
70 |
560 |
250 |
45 |
8 |
0,3 |
30 |
7,0 |
|
|
630 |
25 |
70 |
600 |
250 |
45 |
8 |
0,3 |
30 |
7,5 |
|
|
710 |
32 |
70 |
630 |
320 |
50 |
8 |
0,4 |
40 |
8,9 |
|
|
750 |
32 |
90 |
710 |
320 |
50 |
8 |
0,5 |
50 |
11,0 |
|
|
800 |
32 |
90 |
800 |
320 |
60 |
8 |
0,5 |
50 |
13,0 |
|
|
850 |
45 |
90 |
850 |
360 |
60 |
8 |
0,6 |
60 |
18 |
|
|
900 |
45 |
90 |
900 |
360 |
60 |
10 |
0,8 |
80 |
19 |
|
|
950 |
45 |
90 |
950 |
360 |
70 |
10 |
0,8 |
80 |
22 |
|
|
1000 |
45 |
90 |
1000 |
360 |
80 |
10 |
1,0 |
100 |
26 |
|
|
1060 |
45 |
110 |
1060 |
400 |
80 |
10 |
1,0 |
100 |
28 |
|
|
1120 |
45 |
110 |
1060 |
400 |
80 |
10 |
1,2 |
120 |
36 |
|
|
1180 |
45 |
110 |
1060 |
425 |
100 |
10 |
1,2 |
120 |
47 |
|
|
1250 |
60 |
130 |
1250 |
480 |
100 |
12 |
1,5 |
150 |
54 |
|
|
1320 |
60 |
130 |
1250 |
500 |
100 |
12 |
2,0 |
200 |
58 |
|
|
1400 |
60 |
130 |
1250 |
550 |
100 |
12 |
2,0 |
200 |
59 |
|
|
1500 |
60 |
130 |
1400 |
580 |
110 |
12 |
2,5 |
250 |
73 |
|
|
1600 |
60 |
130 |
1600 |
600 |
120 |
14 |
2,5 |
250 |
75 |
|
|
1700 |
80 |
150 |
1600 |
600 |
120 |
14 |
7,0 |
700 |
104 |
|
|
1800 |
80 |
150 |
1800 |
630 |
130 |
14 |
7,0 |
700 |
139 |
|
|
1900 |
80 |
150 |
1800 |
630 |
130 |
14 |
8,4 |
840 |
163 |
|
|
2000 |
80 |
150 |
1800 |
710 |
140 |
16 |
10,0 |
1000 |
176 |
|
|
2120 |
80 |
180 |
2000 |
710 |
150 |
16 |
10,0 |
1000 |
200 |
|
|
2240 |
80 |
180 |
2000 |
800 |
160 |
16 |
12,0 |
1200 |
230 |
|
|
2360 |
100 |
200 |
2240 |
800 |
160 |
16 |
16,0 |
1600 |
254 |
|
|
2500 |
100 |
200 |
2500 |
800 |
180 |
16 |
16,0 |
1600 |
341 |
|
|
2650 |
100 |
200 |
2500 |
800 |
180 |
18 |
20,0 |
2000 |
390 |
|
|
2800 |
100 |
220 |
2500 |
1000 |
200 |
18 |
20,0 |
2000 |
410 |
|
|
3000 |
100 |
250 |
2800 |
1000 |
220 |
18 |
24,0 |
2400 |
460 |
|
Исполнение
1 (неразъемные),
d
= 18…32мм; d
= 45…100 мм
Исполнение
1 (разъемные),
d
= 45…100 мм
![]()
а)

1- болт по ГОСТ 7798-70; 2 - гайка по ГОСТ 5915-70;
3 - шайба по ГОСТ 13463-77
б)
Рис. 3.6. Конструкция ступиц мешалок (а)
и крепление ступиц на валу (б)
Таблица 3.6
Основные размеры ступиц мешалок
|
d (поле допуска пo H9) |
h |
d+t1 (поле допуска по H12) |
b2 (поле допуска по Н9) |
d3 Типы мешалок 1,1М,5 3, 4, 6, 10 |
d4 |
d5 |
d6 |
d7 |
d8 |
d9 |
c |
с1 |
h2 |
s2 |
|||
|
Исполнение 1 |
Исполнение 2 |
||||||||||||||||
|
18 |
30 |
20,8 |
6 |
40 |
32 |
- |
М10x1,25 |
- |
- |
- |
- |
- |
- |
- |
- |
- |
|
|
18 |
40 |
20,8 |
6 |
- |
32 |
- |
M10xl,25 |
- |
- |
- |
- |
- |
- |
- |
- |
- |
|
|
25 |
30 |
28,3 |
8 |
- |
45 |
- |
M16x1,5 |
- |
- |
- |
- |
- |
- |
- |
- |
- |
|
|
25 |
40 |
28,3 |
8 |
50 |
45 |
- |
M16x1,5 |
- |
- |
- |
- |
- |
- |
|
- |
- |
|
|
25 |
50 |
28,3 |
8 |
- |
45 |
- |
M16x1,5 |
- |
- |
- |
- |
- |
- |
- |
- |
- |
|
|
25 |
70 |
28,3 |
8 |
- |
45 |
- |
Ml 6x1,5 |
- |
- |
- |
- |
- |
- |
- |
- |
- |
|
|
32 |
50 |
35,8 |
10 |
- |
60 |
- |
M24xl,5 |
- |
- |
- |
- |
- |
- |
- |
- |
- |
|
|
32 |
70 |
35,8 |
10 |
- |
60 |
- |
M24xl,5 |
- |
- |
- |
- |
- |
- |
- |
- |
- |
|
|
32 |
90 |
35,8 |
10 |
- |
60 |
- |
M24xl,5 |
- |
- |
- |
- |
- |
- |
- |
- |
- |
|
|
45 |
70 |
49,9 |
14 |
80 |
70 |
95 |
М36х2 |
55 |
М6 |
35 |
13 |
32 |
64 |
- |
22 |
8 |
|
|
45 |
90 |
49,9 |
14 |
95 |
70 |
95 |
М36х2 |
55 |
М6 |
35 |
13 |
32 |
64 |
50 |
22 |
8 |
|
|
45 |
110 |
499 |
14 |
105 |
70 |
95 |
М36х2 |
55 |
М6 |
35 |
13 |
32 |
80 |
70 |
22 |
8 |
|
|
60 |
110 |
66,4 |
18 |
120 |
105 |
110 |
М48хЗ |
80 |
М8 |
50 |
13 |
32 |
80 |
70 |
25 |
10 |
|
|
60 |
130 |
664 |
18 |
140 |
105 |
110 |
М48хЗ |
80 |
М8 |
50 |
13 |
32 |
80 |
- |
25 |
10 |
|
|
60 |
150 |
|
|
|
|
|
|
80 |
M8 |
50 |
13 |
32 |
80 |
- |
25 |
10 |
|
|
80 |
150 |
8,4 |
22 |
- |
120 |
130 |
- |
105 |
М8 |
68 |
13 |
32 |
100 |
100 |
28 |
12 |
|
|
80 |
180 |
84 |
22 |
- |
120 |
130 |
- |
105 |
М8 |
68 |
13 |
32 |
100 |
130 |
28 |
12 |
|
|
80 |
200 |
84 |
22 |
- |
- |
- |
- |
105 |
М8 |
68 |
13 |
32 |
100 |
- |
28 |
12 |
|
|
80 |
220 |
88,4 |
22 |
- |
- |
- |
- |
105 |
М8 |
68 |
13 |
32 |
100 |
- |
28 |
12 |
|
|
90 |
200 |
99,4 |
25 |
- |
140 |
150 |
- |
115 |
М10 |
78 |
17 |
36 |
115 |
130 |
28 |
12 |
|
|
90 |
220 |
99,4 |
25 |
- |
- |
150 |
- |
115 |
М10 |
78 |
17 |
36 |
115 |
130 |
28 |
12 |
|
|
90 |
250 |
99,4 |
25 |
- |
- |
150 |
- |
115 |
М10 |
78 |
17 |
36 |
115 |
160 |
28 |
12 |
|
|
100 |
200 |
110,4 |
28 |
- |
- |
170 |
- |
128 |
М10 |
8 |
17 |
36 |
128 |
130 |
30 |
15 |
|
|
100 |
220 |
110,4 |
28 |
- |
160 |
170 |
- |
128 |
М10 |
88 |
17 |
36 |
128 |
130 |
30 |
15 |
|
|
100 |
250 |
110,4 |
28 |
- |
- |
170 |
- |
128 |
М10 |
88 |
17 |
376 |
128 |
160 |
30 |
15 |
|
3.1.1. Расчет мешалок
3.1.1.1. Расчет лопастных и рамных мешалок
Лопасти мешалки рассчитывают на изгиб [2]. Для лопастей прямоугольной формы (рис. 3.7, а) равнодействующая сил сопротивления приложена в точке, расстояние которой от оси
, (3.1)
где
- радиус лопасти;
-
радиус ступицы;
Значение равнодействующей
, (3.2)
где
-
крутящий момент на валу мешалки;
-
число лопастей (перекладин) у мешалки.
Для наклонной лопасти (рис. 3.7,б) сила, действующая перпендикулярно плоскости лопасти, F1=F/cosα,
где
α
- угол наклона лопасти.
Изгибающий момент у основания лопасти
. (3.3)
Из условия прочности необходимый момент сопротивления лопасти
, (3.4)
где
-
допускаемое
напряжение на изгиб для материала
лопасти.
Для лопасти прямоугольного сечения фактический момент сопротивления поперечного сечения в месте присоединения ее к ступице равен
. (3.5)
Расчетная толщина лопасти
. (3.6)

Рис. 3.7. Схемы к расчету лопастных и рамных мешалок:
а – схема нагрузок на двухлопастную мешалку;
б– усилия, действующие на наклонную плоскость;
в – схема к расчету мешалки с ребрами жесткости
При расчете мешалок с ребрами жесткости предварительно выбирают толщину мешалки и размеры ребер (рис. 3.7, в), затем определяют фактический момент сопротивления составного сечения методами сопротивления материалов и сравнивают его с необходимым моментом сопротивления.
Должно выполняться условие WФ≥W.
3.1.1.2. Расчет турбинной открытой мешалки

Рис. 3.8. Схема к расчету на прочность турбинной открытой мешалки
Расчетный изгибающий момент лопатки М в Н.м в сечении, параллельном оси вала и находящимся от неё на расстоянии, равном половине диаметра диска D (рис. 3.8), определяется по формуле
, (3.7)
где
-
расчетная мощность,
-
частота вращения мешалки, c-1.
,
(3.8)
где l - длина лопатки, м.
Расчетный момент сопротивления лопатки при изгибе в расчетном сечении определяется по формуле (3.4).
Номинальная расчетная толщина лопатки S´ определяется аналогично лопастным перемешивающим устройствам.
.
Конструктивная толщина лопатки
, (3.9)
где
и
-
прибавка на коррозию и округление
размера соответственно.
3.1.2. Определение осевого усилия вала
Стандартный привод по условиям работ подшипников и наиболее слабых элементов конструкции рассчитан на определенное допустимое осевое усилие [F], значение которого приводится в стандарте [23].
Действующее осевое усилие на вал привода аппарата определяют по формуле
, (3.10)
где
-
диаметр
вала в зоне уплотнения, м;
-
дополнительная площадь уплотнения,
воспринимающая давление р
и
передающая его на вал, м2;
–
вес
вращающихся частей привода(мешалка,
вал, соединительные муфты), Н.
-
осевая составляющая силы взаимодействия
мешалки с рабочей средой.
Знак (+) обозначает направление силы вверх, знак (–) – направление силы вниз.
Таблица 3.7
Дополнительная
площадь в торцовых уплотнениях,
воспринимающая давление
![]()
|
Тип уплотнения |
Диаметр вала d, мм |
|||||
|
50 |
65 |
80 |
95 |
110 |
130 |
|
|
ТД,
ТДП |
25 |
32,5 |
45 |
48,2 |
60 |
69,6 |