Материал: 4351

Внимание! Если размещение файла нарушает Ваши авторские права, то обязательно сообщите нам

6

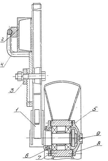
Рис. 3. Каток опорный плуга дискового ПД-0,7 1 – стойка; 2 – рама; 3 – шайба рифлёная; 4 – скоба; 5 – под-

шипник; 6 – манжета; 7 – крышка; 8 – крышка; 9 – маслёнка

7

Рис. 4. Корпус дисковый плуга дискового ПД – 0,7 1 − диск сферический; 2 – фланец; 3 – подшипник; 4 – ступи-

ца; 5 – уплотнение лабиринтное; 6 – манжета; 7 – прокладка; 8 – маслёнка; 9 – болт; 10 – ось; 11 – рама плуга

4.ТРЕБОВАНИЯ БЕЗОПАСНОСТИ ЗАПРЕЩАЕТСЯ:

-производить работу с неисправным трактором и неисправным плугом;

-проводить ремонтные, регулировочные работы и техобслуживание при работающем двигателе трактора;

-подавать трактор назад с опущенным плугом;

-передвигаться по дорогам общего пользования без фиксации плуга в транспортном положении;

8

-Работать под пологом леса при неблагоприятных погодных условиях (сильном дожде и ветре более 9 м/с);

-Работать на вырубках, не очищенных от порубочных остатков.

5. ПОДГОТОВКА К РАБОТЕ И ПОРЯДОК РАБОТЫ

Плуг поставляется заводом – изготовителем потребителю в собранном виде без деревянной упаковки. При получении плуга потребителем следует проверить комплектность плуга, проверить, вывесив плуг, плавность вращения сферических дисков и опорного катка. Проверить затяжку резьбовых соединений.

Для навески плуга на заднюю навесную систему агрегатируемого трактора следует, не снимая подставок, установить плуг на ровной площадке таким образом, чтобы трактор мог подъехать к плугу задним ходом. С помощью подсобного рабочего присоединить с помощью пальцев тяги навески трактора к проушинам рамы плуга и зафиксировать пальцы. Приподнять плуг над поверхностью почвы на 10-15 см и снять подставки, уложив их и зафиксировав сверху рамы плуга. Приподнять плуг в транспортное положение и проследовать к месту работы.

При работе перед началом движения вперёд тракторист должен опустить плуг вниз, установив рукоятку гидрораспределителя в «плавающее» положение, и произвести пробный проход.

При движении агрегата тракторист обязан следить за наличием на полосе обработки препятствий (пней) и объезжать их во избежание поломки плуга, или поднимать плуг в транспортное положение.

После пробного прохода тракторист должен при необходимости отрегулировать глубину обработки, опустив или приподняв опорный каток, а также прилегание чистиков – отвалов к сферическим дискам таким образом, чтобы исключить налипание почвы к поверхностям дисков.

Убедившись, что плуг выполняет технологический процесс в пределах заданных параметров по глубине и ширине обработки, тракторист может приступить к основной работе.

6.ТЕХНИЧЕСКОЕ ОБСЛУЖИВАНИЕ Техническое обслуживание плуга должно подразделяться:

-на ежесменное техническое обслуживание (ЕТО);

-на техническое обслуживание при хранении.

ЕТО должно проводиться каждую рабочую смену после окончания работы. Оно должно заключаться в следующем:

-очистить плуг от растительных остатков, налипшей почвы и грязи;

9

-проверить внешним осмотром состояние сборочных единиц и деталей, надёжность их крепления;

-произвести при необходимости подтяжку резьбовых соединений. Техническое обслуживание при хранении (более 2-х месяцев) должно включать следующие операции:

-выполнить все операции ЕТО;

-отсоединить плуг от трактора, предварительно установив его на подставки;

-произвести осмотр окрашенных поверхностей плуга и при отсутствии окраски – покрасить;

-произвести заточку режущих кромок сферических дисков под углом 250.

7.ПРАВИЛА ХРАНЕНИЯ

Хранить плуг до ввода его в эксплуатацию и между периодами эксплуатации следует под навесом или на открытой площадке в соответствии с требованиями ГОСТ 7751-85.

Рис. 5. Чистик – отвал плуга дискового ПД- 0,7 1 – чистик – отвал; 2 – кронштейн; 3 – хомуты; 4 – крон-

штейн; 5 – болт; 6 – диск сферический; 7 – рама плуга

10

ПЛУГ – РЫХЛИТЕЛЬ ЛЕСНОЙ ПРЛ – 70

1. НАЗНАЧЕНИЕ И ОБЛАСТЬ ПРИМЕНЕНИЯ

Плуг предназначен для подготовки минерализованных полос с одновременной нарезкой посадочной щели посредине полосы.

Плуг может применяться в зонах Российской Федерации с тракторопроходимыми условиями работы.

2.

ТЕХНИЧЕСКАЯ ХАРАКТЕРИСТИКА

 

 

 

 

 

 

Наименование параметров, показателей

Значения

Тип

Навесной на заднюю

 

 

навесную

систему

 

 

трактора

ЛХТ-55,

 

 

МТЗ-80/82

 

Производительность, км/ч

 

 

-

основного времени

1,81

 

-

сменного времени

1,23

 

Ширина захвата, см

70

 

Глубина минерализации в зоне рыхления, см

13,2 ± 5,2

 

Глубина посадочной щели, см

18,4 ± 1,9

 

Ширина посадочной щели, см

6,8 ± 1,9

 

Диаметр перерезаемых корней, см

до 6

 

Толщина снятой дернины, см

7,5

 

Ширина рыхления, см

14

 

Скорости движения, км/ч:

 

 

-

рабочая

2,4

 

-

транспортная

до 8,0

 

Масса, кг

390

 

Дорожный просвет, мм

750

 

Обслуживающий персонал, чел.

(тракторист)

 

3. УСТРОЙСТВО И РАБОТА СОСТАВНЫХ ЧАСТЕЙ

Плуг состоит из следующих составных частей (рис. 1): рамы 1, ножа 2, двух отвалов (левого и правого) 3, сошника 4, двух рыхлителей (левого и правого) 5, лобовика 6 и двух лыж (левой и правой) 7.

Рама 1, цельносварная. Она снабжена спереди кронштейнами для навески на трёхточечную навесную систему агрегатируемого трактора, а снизу -горизонтальной площадкой для крепления ножа 2.

Нож 2 предназначен для образования посадочной щели. Он выполнен в виде вертикально установленного стального листа тра-