Материал: 2471

Внимание! Если размещение файла нарушает Ваши авторские права, то обязательно сообщите нам

 

64

.

(14.6)

 

 

Re

 

Для гидравлически гладких труб коэффициент не зависит от шероховатости, а зависит лишь от числа Re и определяется по формуле немецкого ученого Блазиуса (1913):

0,3164 Re 0,25.

(14.7)

Для шероховатых труб коэффициент сопротивления зависит от относительной шероховатости /d , числа Рейнольдса и определяется по формуле русского ученого Альтшуля (1952):

 

 

 

68 0,25

 

0,11

 

 

 

.

(14.8)

 

 

d

 

Re

 

Для труб, по которым движутся нефтепродукты, величина лежит в пределах 0,01 − 0,03. Для приближенных расчетов величину принимают 0,02.

При движении реальной жидкости кроме потерь напора на трение по длине потока могут возникать местные потери напора. В местных сопротивлениях изменяется скорость по величине (сужение, расширение), направлению (колено) или одновременно по величине и по направлению (тройник). При обтекании турбулентным потоком ка- кой-либо преграды происходит отрыв транзитной струи от стенки с образованием вихревых зон. Вихревые зоны образуются вследствие трения транзитной струи с жидкостью, находящейся в мертвых зонах. Деформация потока и вращение жидкости в мертвых зонах происходят за счет энергии основного потока, что и вызывает потерю напора в местных сопротивлениях.

По предложению немецкого ученого Вейсбаха (1806–1871) местные потери напора принято выражать в частях от скоростного напора, подсчитанного за местным сопротивлением

 

2

 

hм

 

,

(14.9)

 

 

2g

 

где – безразмерный коэффициент, или коэффициент местного сопротивления, зависит от формы последнего.

Значения коэффициентов местных сопротивлений приводятся в справочной литературе, а величины некоторых из них даны в табл. 14.1.

 

 

Таблица 14.1

 

Значения коэффициентов местных сопротивлений

 

 

 

 

Виды местных

Значения коэффициентов

 

сопротивлений

местных

 

 

сопротивлений

1. Фильтры

1,7 – 2,2

2. Угольники с поворотом под прямым

1,5 – 2,0

 

углом

 

3.

Угольники с плавным поворотом

0,12 – 0,15

 

под углом 900

 

4.

Тройники с соединением потока

2,0 – 3,0

5.

Тройники с разделением потока

1,0 – 2,0

6.

Обратные клапаны

2,0 – 4,0

7.

Вход в трубу без закругления

0,5

 

кромок

 

8. Выход из трубы больших размеров

1,0

9. Кран

5,0 – 7,0

10. Задвижка при среднем открытии

2,0

11. Задвижка открытая

0,1

Суммарная потеря напора в трубопроводе определяется по формуле

H h hм ,

(14.10)

где ∑h – сумма потерь напора на трение по длине в трубе, у которой имеются участки с различными сечениями; ∑hм – сумма потерь напора в местных сопротивлениях.

Следует отметить, что потери напора по длине трубы постоянного сечения изменяются пропорционально длине (линейно), а в местных сопротивлениях потери напора изменяются скачком (в конкретном сечении). При нахождении общих потерь потери на отдельных участках суммируют.

Технологические схемы трубопроводов бывают простыми и разветвленными (сложными). При расчете разветвленных (параллельных) систем необходимо помнить, что расход жидкости до разветвления будет равен расходам, например, движущимся по двум ответвле-

ниям. Определив внутренние диаметры труб (по допустимой скорости и расходу), вычисляют потери напора по формулам, приведенным выше.

Гидравлический расчет трубопроводов заканчивается определением величины потерянного напора по длине и в местных сопротивлениях. Потери напора должны быть минимальными, обеспечивая высокую эффективность при эксплуатации технологических схем.

Определив диаметр технологического трубопровода, проводят расчет на прочность, оценивают толщину стенки и выбирают его марку (сортамент). Затем выбирают тип, размер насоса по требуемой подаче и необходимому напору.

14.2. Насосная установка

Насосная установка предназначена для перемещения жидкости и сообщения ей необходимой по величине энергии давления и скорости. На рис. 14.1 приведена принципиальная схема насосной установки, перемещающей жидкость из приемного (всасывающего) резервуара 1 в напорный 12. Установка содержит входной фильтр 2, клапан 3, который не пропускает жидкость в обратном направлении и не дает возможности системе самотеком опорожняться.

Всасывающий трубопровод 4 имеет диаметр dв, обеспечивающий скорость всасывания не более 1 − 1,5 м/с. Если из всасывающего трубопровода полностью удалить воздух, то под действием атмосферного давления (760 мм рт. ст.) и при температуре 20 0С вода поднимется на высоту 10 м. Если пренебречь скоростным напором и потерями на трение и в местных сопротивлениях (ввиду их мало-

сти, 0,1 − 0,3 м), то высоту всасывания

можно определить из выражения

Рис. 14.1. Схема насосной установки

h

PAT PBC

,

(14.11)

 

BC

g

 

 

 

где РАТ – атмосферное давление (1∙105 Н/м2); РВС – абсолютное давление во всасывающей линии.

Для нормальной работы насоса необходимо, чтобы давление РВС было больше давления парообразования Рпар(насыщенных паров).

Например, давление Рпар для нефтепродукта при 38 0С равно 0,7∙105 Н/м2. Выбираем РВС равным 0,8∙105 Н/м2, тогда при плотности, соответствующей 700 кг/м3, высота всасывания (согласно формуле (14.11)) будет равна примерно 3 м.

Высота всасывания hвс для темных нефтепродуктов составляет 4 ̶6м. Для светлых нефтепродуктов (бензин, керосин) высота всасывания выбирается равной 3–4 м, воды 6−7 м. При высоте всасывания больше допустимой начинается процесс кавитации (образование в жидкости пузырьков) и разрушения лопаток насоса. Для контроля разрежения в линии всасывания используется вакуумметр 5. Следует помнить, что если вакуумметр показывает 0,3∙105 Н/м2 (недостаток давления до атмосферного) или 0,3 атм, то абсолютное давление в линии всасывания равно 0,7∙105 Н/м2 (0,7 атм) или 70 кПа.

Высоту всасывания и нагнетания необходимо выбирать в зависимости от вязкости жидкости и давления парообразования. В табл. 14.2 приведены рекомендуемые значения средних скоростей во всасывающей и напорной магистралях в зависимости от вязкости жидкости.

Таблица 14.2

Рекомендуемая средняя скорость в линиях всасывания и нагнетания в зависимости от вязкости жидкости

Кинематическая

Средняя скорость в

Средняя скорость в ли-

линии всасывания,

вязкость, см2/c

нии нагнетания, м/c

 

 

м/c

 

0,01

− 0,012

1,5

2,5

0,012 − 0,07

1,25

1,75

0,07

− 1,50

1,1

1,2

1,50

− 5,0

1,0

1,1

5,0 − 10,0

0,8

1,0

Основу насосной установки составляет насос с электродвигателем. Для перекачки нефтепродуктов, воды и других жидкостей часто

используют центробежные насосы, которые просты по конструкции и надежны в работе.

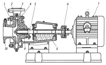
На рис. 14.2 показан разрез консольного центробежного насоса. При вращении вала 5 и рабочего колеса 4 жидкость под действием центробежных сил отбрасывается от центра к периферии, создавая давление. В полости всасывания насоса создается разрежение, заполняемое потоком жидкости (например, из резервуара). Жидкость поступает в полость насоса под действием атмосферного давления.

Рис. 14.2. Консольный центробежный насос:

1 – корпус; 2 – крышка корпуса; 3 – нагнетательный патрубок; 4 – колесо рабочее; 5 – вал; 6 – муфта; 7 – электродвигатель; 8 – масляная ванна; 9 – сальниковое уплотнение;

10 – всасывающий патрубок

Насос 6 (см. рис. 14.2) перемещает жидкость из линии всасывания в линию нагнетания, которая имеет трубопровод диаметром dн. Для контроля давления в линии нагнетания установлен манометр 7.

Для изменения подачи насоса установлен дроссель (задвижка) 8. Подача определяется при помощи мерной шайбы 9 и разности показаний манометров 10 и 11. Подача (расход жидкости) может определяться при помощи счетчика 9, установленного вместо мерной шайбы. Мерная шайба представляет собой диафрагму с отверстием меньше сечения трубопровода.

Уровень свободной поверхности в приемном резервуаре обозначен линией ОО, а в напорном – О1О1 (см. рис. 14.1). Высота нагнетания обозначена через hн, а геометрический напор – НГ. Геометрический напор есть расстояние между линиями ОО и О1О1. Давление на свободной поверхности в приемном и напорном резервуарах обо-