Материал: 2426

Внимание! Если размещение файла нарушает Ваши авторские права, то обязательно сообщите нам

Последовательность вершин S* глобального оптимального пути длиной L* сохраняется и при уменьшении значения L* по (3.91) также обновляется.

4.5. После завершения каждой итерации происходит обновление феромона на всех дугах графа по известной зависимости [199, 217]

τi1, j1(g +1) = (1- p f )×τi1, j1(g)+ Dτi1, j1(g),

(3.92)

где pf – коэффициент испарения феромона, p f Î[0,1];

i1 [1; ng];

j1 [1; ng].

 

Dτi1, j1(g) =

rкол

 

 

å Dτi1, j1,r (g);

 

r=1

 

 

ìQ Lr (g)

если (i1, j1)Î Sr (g);

Dτi1, j1,r (g)= í0 если

(i1, j1)Ï S

r

(g),

î

 

 

(3.93)

(3.94)

где Sr(g) – последовательность вершин графа, пройденных агентом r на итерации g; Lr(g) – величина целевой функции (длина пути, пройденного агентом r) на итерации g; Q – постоянная.

4.6. Уровень феромона на ребрах глобального оптимального пути длиной L* после каждой итерации дополнительно увеличивается на величину [62, 85, 110, 199, 217]

Dτ

e

(g)= e ×Q L* ,

(3.95)

 

r

 

где er – количество элитных агентов.

5. Цикл завершается после выполнения заданного числа итераций: gG. После этого выполняется локальная оптимизация лучшей найденной траектории S* глобального оптимального пути L* с учетом препятствий рабочей области по методике, изложенной в разделе 3.5, на этом завершается работа алгоритма.

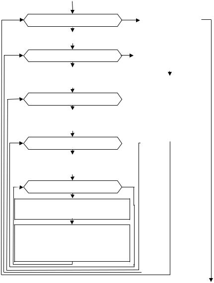
Детализированная блок-схема модифицированного алгоритма роевого интеллекта для пяти учитываемых обобщенных координат груза в последовательном исполнении приведена на рис. 3.19.

Распараллеливание модифицированного алгоритма роевого ин-

теллекта. При разработке параллельных алгоритмов и многопоточных приложений на их основе внимание в первую очередь уделяется той части задачи, выполнение которой занимает наибольшее время [8, 85].

115

 

Пуск

1

 

2

 

 

Ввод исходных данных: sнач=(xн0,yн0,zн0,γн0,ωн0); sкон=(xк0,yк0,zк0,γк0,ωк0); { R

};

 

 

 

 

 

 

ig

 

 

 

imax;jmax;kmax;lmax;mmax; [YПР]; rкол; α; β; er; G; cγω; Gr; u; [T]; δopt; lзап_г; lзап_в

3

 

 

 

 

 

 

 

Построение массива гиперповерхности [Ymin] по методике раздела 3.4

 

4

 

 

 

 

 

 

Формирование матрицы смежности [A] с использованием массива гиперповерхности

 

[Ymin] по (3.81)

 

 

 

 

 

 

 

 

5

 

Вычисление ассоциированных расстояний Li,j по (3.18) или (3.84). Вычисление мат-

рицы видимости [N] по [A] и Li1,j1 по (3.85). Задание L*=∞. Вычисление iнач, jнач, kнач, lнач, mнач по (3.54). Положить i(1)=iнач; j(1)=jнач; k(1)=kнач; l(1)=lнач; m(1)=mнач

 

g=1:G

6

 

 

 

 

 

 

 

22

 

 

 

 

 

 

 

 

 

 

 

 

 

 

 

 

 

 

7

 

19

 

 

 

 

 

r=1:rкол

 

 

Выбор пути, оп-

 

 

 

 

 

 

 

 

 

 

 

 

 

тимального на

 

 

 

 

 

 

 

 

Вычисление дли-

 

 

 

 

i=2:(imax–1)

8

 

 

 

данной итерации

 

 

 

 

 

 

 

 

 

ны пути Lr(g)

 

*

 

 

 

 

 

 

 

 

 

 

 

агента r по (3.89)

 

L (g) по условию

 

 

 

 

 

9

 

 

 

 

 

 

 

 

(3.90)

 

 

 

 

nm=0

 

 

20

 

 

 

 

 

 

 

 

 

 

 

23

 

 

 

 

 

 

 

 

 

Генерация слу-

 

 

 

 

 

 

 

 

10

 

 

 

 

 

 

 

 

 

 

 

 

 

 

*

 

 

 

 

dj=–1:+1

 

 

 

 

чайного числа

 

 

 

Сравнение L (g) и

 

 

 

 

11

 

 

 

 

 

L*, обновление L*

 

 

 

 

 

Rand в интервале

 

 

 

 

 

 

 

 

 

 

 

 

по (3.91); обнов-

 

 

 

 

j(i)=j(i–1)+dj;

 

 

 

[0;1]

 

 

 

 

 

 

Ограничения: j(i)£jmax; j(i)³1

 

 

 

 

 

21

ление последова-

 

 

 

 

 

 

 

 

 

 

 

 

 

 

 

 

Определение

 

 

тельности вершин

 

 

 

 

 

12

 

 

 

 

dk=–1:+1

 

 

 

индексов j(i),

 

 

глобального оп-

 

 

 

 

 

13

 

 

k(i), l(i), m(i)

 

 

тимального пути

 

 

 

 

k(i)=k(i–1)+dk;

 

 

 

 

 

новой верши-

 

 

S*; обновление

 

 

 

Ограничения: k(i)£kmax; k(i)³1

 

 

 

ны пути Sr(g)

 

 

феромона по

 

 

 

 

 

 

 

 

 

 

агента r по

 

 

(3.92) и (3.95)

 

24

 

 

dl=–1:+1

14

 

 

 

 

 

 

 

(3.88)

 

 

 

 

 

 

 

 

 

 

15

 

 

 

 

 

 

 

Локальная опти-

 

 

 

 

 

 

 

 

 

 

 

 

 

 

 

 

 

 

 

 

 

 

мизация лучшей

 

 

l(i)=l(i–1)+dl;

 

 

 

 

 

 

 

 

 

 

 

 

 

 

 

 

 

 

 

 

 

 

 

 

найденной траек-

 

Ограничения: l(i)£lmax; l(i)³1

 

 

 

 

 

 

 

 

 

 

 

 

 

 

 

 

 

 

 

тории S* гло-

 

 

 

 

16

 

 

 

 

 

 

 

dm=–1:+1

 

 

 

 

 

 

 

 

бального опти-

 

 

17

 

 

 

 

 

 

 

 

 

мального пути L*

 

 

 

 

 

 

 

 

 

 

 

 

 

m(i)=m(i–1)+dm; nm=nm+1;

 

 

 

 

 

 

 

 

 

по методике раз-

 

 

 

 

 

 

 

 

Ограничения: m(i)£mmax; m(i)³1

 

 

 

 

 

 

 

 

 

дела 3.5

 

 

 

 

18

 

 

 

 

 

 

 

 

 

25

 

Вычисление P(nm) по (3.86) и

 

 

 

 

σ(nm) по (3.87) для смежной с те-

 

 

 

 

 

 

 

 

 

Вывод резуль-

 

 

 

 

 

 

 

 

 

татов: S*, L*

кущей вершины с индексами i, j,

 

 

 

 

 

 

 

 

 

 

 

 

 

 

 

 

 

 

 

 

26

 

 

k, l, m

 

 

 

 

 

 

 

 

 

 

 

Останов

 

Рис. 3.19. Блок-схема последовательного алгоритма роевого интеллекта для пяти учитываемых обобщенных координат груза

116

 

Пуск

1

 

2

 

 

 

 

 

 

 

Ввод исходных данных: sнач=(xн0,yн0,zн0,γн0,ωн0); sкон=(xк0,yк0,zк0,γк0,ωк0); { R

};

 

 

 

 

ig

 

 

 

imax;jmax;kmax;lmax;mmax; [YПР]; rкол; α; β; er; G; cγω; Gr; u; [T]; δopt; lзап_г; lзап_в

3

 

 

 

 

 

 

 

 

 

 

 

 

Построение массива гиперповерхности [Ymin] по методике раздела 3.4

 

 

 

 

 

 

 

4

 

Формирование матрицы смежности [A] с использованием массива гиперповерхности

 

[Ymin] по (3.81)

 

 

 

 

5

Вычисление ассоциированных расстояний Lij по (3.18) или (3.84). Вычисление мат-

рицы видимости [N] по [A] и Li1,j1 по (3.85). Задание L*=∞. Вычисление iнач, jнач, kнач, lнач, mнач по (3.54). Положить i(1)=iнач; j(1)=jнач; k(1)=kнач; l(1)=lнач; m(1)=mнач

 

 

 

 

g=1:G

 

6

 

 

 

 

 

 

 

 

 

 

 

 

 

 

10

 

 

 

 

 

 

 

 

 

 

 

 

 

 

 

 

 

 

 

 

 

 

 

 

 

 

 

 

 

Выбор пути, оп-

 

 

 

 

 

 

 

 

 

 

 

 

 

 

7

 

 

 

 

 

 

 

 

 

 

 

 

9

тимального на

 

 

 

 

 

 

 

 

 

8

 

 

 

 

 

Независи-

 

 

 

Независи-

 

 

Независи-

 

 

 

 

 

 

 

 

 

 

данной итерации

 

 

 

мый поиск

 

 

 

мый поиск

 

...

 

мый поиск

 

 

 

 

 

 

 

 

 

 

L*(g) по условию

 

 

 

пути аген-

 

 

 

пути аген-

 

 

 

пути аген-

 

(3.90)

 

 

 

том r=1

 

 

 

том r=2

 

 

 

том r= rкол

 

 

 

 

 

 

 

 

 

 

 

 

 

 

 

 

 

 

 

 

 

 

 

 

 

 

 

 

 

 

 

 

 

 

11

Сравнение L*(g) и L*, обновление L* по (3.91); обновление последовательности вершин глобального оптимального пути S*; обновление феро-

мона по (3.92) и (3.95)

 

 

 

 

12

14

13

 

 

 

Локальная оптимизация лучшей траектории S*

Останов

Вывод резуль-

 

глобального оптимального пути L*

 

татов: S*, L*

 

по методике раздела 3.5

 

 

 

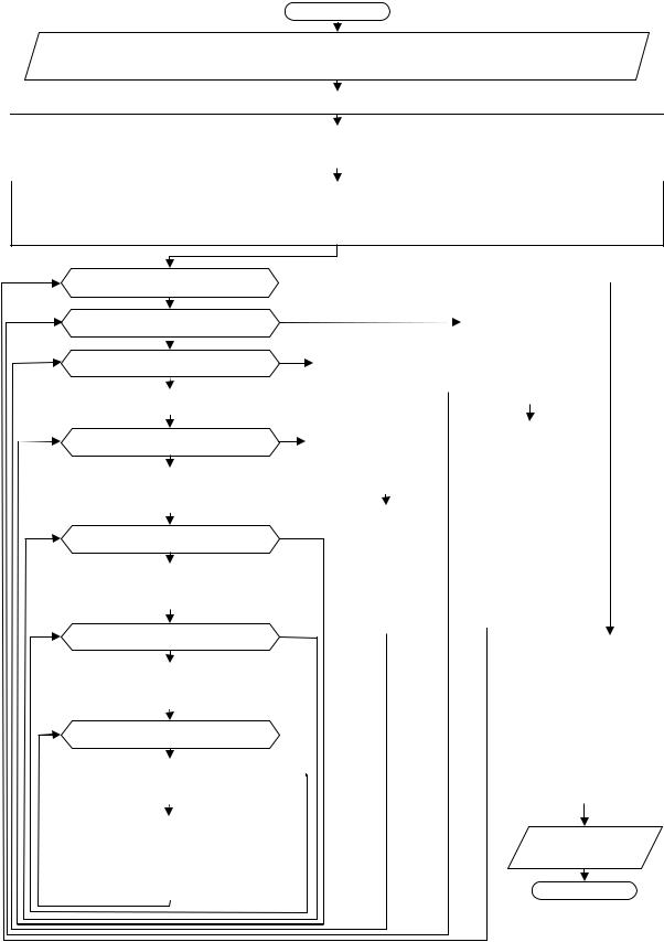
Рис. 3.20. Блок-схема распараллеленного алгоритма роевого интеллекта (затемнены блоки, выполняемые параллельно) для пяти учитываемых обобщенных координат груза

Анализ последовательного алгоритма роевого интеллекта позволяет выделить в нем следующие этапы решения задачи: 1) начальный этап, включающий в себя загрузку и инициализацию исходных данных; 2) последовательное построение маршрутов колонией агентов, т.е. основной вычислительный этап; 3) обработка и вывод полученных результатов.

Наибольшую сложность в вычислительном плане составляет 2-й этап, время выполнения остальных этапов относительно невелико, особенно при возрастании размерности задачи. 2-й этап в свою очередь можно разбить на следующие подэтапы: построение маршрутов на текущей итерации алгоритма, выполняемое каждым агентом неза-

117

висимо от других; обновление следа феромона от всех агентов на текущей итерации.

 

 

 

 

 

 

 

12

 

 

1

 

 

 

 

 

 

 

 

 

 

Вычисление дли-

 

 

i=2:(imax–1)

 

 

 

 

 

ны пути Lr(g)

 

 

 

 

2

 

 

 

агента r по (3.89)

 

 

nm=0

 

 

 

 

 

13

 

 

 

 

 

 

 

 

dj=–1:+1

3

 

Генерация слу-

 

 

4

 

чайного числа ω

 

 

 

 

 

 

в интервале [0;1]

 

 

 

j(i)=j(i–1)+dj;

 

 

 

14

 

 

 

 

 

 

 

Ограничения: j(i)£jmax; j(i)³1

 

 

 

 

Определение

 

 

 

 

 

 

 

индексов j(i),

 

 

 

dk=–1:+1

 

5

 

 

 

 

 

 

 

 

k(i), l(i), m(i)

 

 

 

 

 

6

 

 

 

 

 

 

 

 

 

 

новой верши-

 

 

 

k(i)=k(i–1)+dk;

 

 

 

 

 

 

 

 

 

 

 

ны пути Sr(g)

 

 

Ограничения: k(i)£kmax; k(i)³1

 

 

 

 

 

 

 

 

агента r по

 

 

 

dl=–1:+1

 

7

 

 

 

(3.88)

 

 

 

 

 

 

 

 

 

 

 

 

 

8

 

 

 

 

 

 

 

 

 

 

 

 

 

 

l(i)=l(i–1)+dl;

 

 

 

 

 

 

 

 

Ограничения: l(i)£lmax; l(i)³1

 

 

 

 

 

 

 

9

dm=–1:+1

10

m(i)=m(i–1)+dm; nm=nm+1;

Ограничения: m(i)£mmax; m(i)³1

Вычисление P(nm) по (3.86) и11 σ(nm) по (3.87) для смежной с текущей вершины с индексами i, j, k, l, m

Рис. 3.21. Блок-схема выполняемого параллельно kernelядра алгоритма роевого интеллекта для пяти координат, описывающих положение груза

Анализ программной реализации описанного выше последовательного алгоритма, учитывающего 5 координат, определяющих положение груза в пространстве, показал, что суммарное время выполнения подэтапа 2-го этапа, заключающегося в последовательном независимом поиске пути агентами колонии, составляет в среднем около 86 % от общего времени выполнения всей программы. В то же время данный блок задачи, в отличие от всех остальных, является информационно независимым.

118

Это обуславливает наиболее подходящий вариант распараллеливания 2-го этапа: агенты параллельно независимо друг от друга находят маршруты, затем выполняется барьерная синхронизация и последовательно происходит обновление феромона. Далее начинается следующая итерация.

Блок-схема распараллеленного в соответствии с приведенным подходом алгоритма роевого интеллекта, учитывающего 5 координат, приведена на рис. 3.20, 3.21.

В соответствии с законом Амдала (Amdahl) ускорение Sпр процесса вычислений при использовании pпр параллельных процессов ограничивается величиной [8]

Sпр

 

1

 

,

(3.96)

fпо + (1

fпо )

 

 

pпр

 

где fпо – доля последовательных операций в рассматриваемом алгоритме.

То есть ускорение выполнения алгоритма за счет распараллеливания его блоков на множестве потоков ограничено временем, необходимым для выполнения его последовательных блоков.

Согласно приведенной формуле (3.96), возможно 7-кратное ускорение по сравнению с последовательным алгоритмом роевого интеллекта (верхняя оценка ускорения Sпр≈7), что подтверждено результатами вычислительных экспериментов.

Вычислительные реализации разработанных последовательной и параллельной модификаций алгоритма роевого интеллекта и описанной методики на его основе в средах Microsoft Visual C++ и MATLAB показали работоспособность и эффективность алгоритмов роевого интеллекта для решения поставленной задачи. Для распараллеленного алгоритма были разработаны программные реализации с использованием гибридной технологии: массивно-параллельных вычислений на графических процессорах Compute Unified Device Architecture (NVIDIA CUDA) совместно с библиотекой параллельного программирования систем с распределенной памятью Message Passing Interface (MPI) и открытого стандарта параллельного программирования многопоточных систем с общей памятью Open Multi-Processing (OpenMP).

119