заданном напряжении определяется активной составляющей тока Ia:
P =UфIcosϕ =U Ia . |
(3.36) |
A
B
C
I R XL
IC C
I' UФ
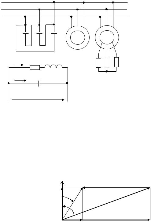
Рис. 3.15. Схема включения конденсаторов в качестве компенсаторов реактивной мощности при активно-индуктивной нагрузке (обмотки статора асинхронных двигателей) и эквивалентная схема одной фазы
При заданном значении активной мощности активная составляющая тока должна оставаться неизменной. Наличие реактивной (индуктивной) составляющей тока приводит к увеличению фактического значения тока нагрузки и, как следствие, к увеличению потерь мощности. Снизить ток нагрузки можно только за счет уменьшения реактивной
составляющей тока приемника. |
|
|
|
|||
|
Последнее |
можно осуще- |
UФ |
IC |
||
ствить путем |
параллельного |
|||||
подключения приемника с ем- |
Ia φ |
2 I' |
I |
|||
костным элементом. Все ска- |
|
|
|
|||
|
|
|
||||
занное наглядно иллюстриру- |
|
φ1 |
|
|||
ется |
векторной |
диаграммой |
|
|
||
|
|
|
||||
(рис. 3.16). |
|
|
|
I'p |
Ip |
|
|
Таким образом, c введени- |
|
||||
ем компенсирующего устрой- |
Рис. 3.16. Векторная диаграмма, |
|||||
ства |
уменьшается |
реактивная |
иллюстрирующая компенсацию |
|||
составляющая тока, а следова- |
индуктивной составляющей тока |
|||||
|
|
|
|
85 |
|
|
тельно, уменьшаются полный ток I′ цепи и угол сдвига по фазе между напряжением и полным током цепи.
При определении емкости конденсаторов, необходимых для понижения коэффициента реактивной мощности tgϕ сети до опреде-
ленного значения, исходят из того, что реактивная мощность батареи конденсаторов должна скомпенсировать соответствующую часть реактивной мощности сети. В этом случае реактивную мощность конденсаторов можно определить через активную мощность Р и значения коэффициентов реактивной мощности до установки статических конденсаторов tgϕ1 и после их установки tgϕ2 :
QC = P( tgϕ1 − tgϕ2 ). |
(3.37) |
Величина емкости батареи конденсаторов для одной фазы определяется по формуле
|
10 |
6 Q |
|
||
C = |
|
|
C |
, |
(3.38) |
|
|
|
|||
|
|
3ωU 2 |
|
||
где U – линейное напряжение сети, В; ω = 2πf |
– угловая частота |
||||
питающего напряжения; QC – реактивная мощность конденсаторов; 3
– число фаз.
Обычно при помощи батареи конденсаторов компенсацию угла сдвига фаз осуществляют неполностью, понижая коэффициент реактивной мощности до 0,4–0,3 (коэффициент мощности повышается до 0,90–0,95). Еще большее понижение коэффициента реактивной мощности требует больших затрат на установку батарей конденсаторов, которые в этом случае экономически не оправдываются.
3.6. Примеры расчета трехфазной цепи
Пример 1. Имеется трехфазная четырехпроводная электрическая цепь с нагрузкой, соединенной «звездой» (рис. 3.17).
Дано: UЛ=380 В; RА=6 Ом; RB=8 Ом; RС=10 Ом; XA=8 Ом; XB=6
Ом.
Определить: фазные и линейные токи; активную, реактивную и полную мощности. Построить векторную диаграмму.
Решение.
Из приведенной схемы видно, что нагрузка является несимметричной.
1. Полное сопротивление каждой фазы:
Z A =
RA2 + X A2 =
62 +82 =10 Ом;
86
Z B = RB2 + X B2 = 82 +62 =10 Ом; |
|
||||||
Z |
C |
= R2 |
+ X 2 |
= 102 +02 =10 Ом. |
|
||
|
C |
C |
|
|
|
|
|
A |
|
|
|
|
A |
|
|
IA |
|
|
|
|
RA |
|
|
|
|
|
|
|
|||
B |
|
|
|
|
|
XA |
|
|
|
|
|
|
|
||
|
|
|
|
|
|
|
|
IB |
|
|
N |
XB |
|||
|
|
|
|
RC |
|
||
C |
IC |
|
|
C |
|
||
|
|
|
|
||||
IN
N
Рис. 3.17. Трехфазная четырехпроводная электрическая цепь при соединении нагрузки «звездой»
RB
B
2. |
Фазное напряжение |
= U Л |
|
380 |
|
|
|
|
|
|
|||||
|
|
|
|
|
UФ |
= |
= 220 В. |
|
|
|
|
|
|||
3. |
Фазные токи: |
3 |
|
3 |
|
|
|
|
|
|
|||||
|
|
|
|
|
|
|
|
|
|
||||||
I A = |
UФ |
= |
220 |
= 22 А; I B |
= |
UФ |
= |
220 |
= 22 А; IC |
= |
UФ |
= |
220 |
= 22 А. |
|
|
10 |
Z B |
10 |
|
10 |
||||||||||
|
Z A |
|
|
|
|
|
ZC |
|
|||||||
4. Углы сдвига по фазе между фазным напряжением и фазным током:
ϕA = arccos |
RA |
= arccos |
|
6 |
= arccos 0,6 = 53°; |
||||
|
|
10 |
|||||||
|
Z A |
|
|
||||||
ϕB = arccos |
RB |
= arccos |
|
8 |
= arccos 0,8 = 37°; |
||||
|
|
10 |
|||||||
|
Z B |
|
|
||||||
ϕC = arccos |
RC |
= arccos |
10 |
= arccos 1 = 0°. |
|||||
|
|
||||||||
|
|
ZC |
10 |
|
|||||
87 |
|
|
|
|
|
||||
5. Активная мощность трехфазной цепи:
PA=IA UА cos φA=22·220·0,6=2904 Вт; PB=IB UB cos φB=22·220·0,8=3872 Вт; PC=IC UC cos φC=22·220·1=4840 Вт;
P=PA+PB+PC=2904+3872+4840=11616 Вт=11,6 кВт. 6. Реактивная мощность трехфазной цепи:
QA=I AUA sin φA=IA UA X A =22·220·0,8=3872 ВАр;
Z A
QB=IB UB sin φB=IB UB X B =22·220·0,6=2904 ВАр;
Z B
QC=IC UC sin φC=IC UC X C =22·220·0=0;
ZC
Q=QA+ QB+ QC=3872+2904+0=6776 ВАр=6,8 кВАр.
7. Полная мощность трехфазной цепи
S = P2 +Q2
11,62 +6,82 =
180,8 =13,4 кВА.
|
|
|
UAB |
|
|
|
UA |
|
|
|
|
|
φA |
|
|||
UCA |
IC |
|
IA |
|
|
|
|
|
|
||
|
|
φB |
|
|
|
|
IB |
|
|
UB |
|
UC |
UBC |
|
Рис. 3.18. Векторная диаграмма для трехфазной четырехпроводной схемы
при соединении нагрузки «звездой»
Построение векторной диаграммы (рис. 3.18) следует начинать с векторов фазных напряжений, которые располагаются под углом 120º друг к другу. Концы этих векторов являются вершинами равно-
88
стороннего треугольника, сторонами которого будут векторы линейных напряжений.
В фазах А и В включена активно-индуктивная нагрузка. Векторы фазных токов IA и IB отстают от векторов фазных напряжений на углы φА и φВ соответственно. В фазе С нагрузка активная, следовательно, фазный ток и фазное напряжение совпадают по фазе.
Пример 2. В трехфазную сеть с линейным напряжением UЛ=220 В включен приемник, соединенный «треугольником», сопротивление каждой фазы которого Z=(10+j10) Ом (рис. 3.19). Найти токи в каждой фазе нагрузки и линии. Рассчитать активную мощность цепи. Построить векторную диаграмму. Найти те же величины в случае обрыва линейного провода А.
A |
|
|
|
IA |
R |
|
XL |
|
|
||
B |
IСА |
IАВ |
|
IB |
|
||
XL |
|
R |
|
|
|
|
|
|
XL |
IВС |
R |
C |
|
||
|
|
|
|
IC |
|
|
|
Рис. 3.19. Схема трехфазной цепи при соединении нагрузки «треугольником»
Решение.
Расчет токов в трехфазной цепи проведем комплексным методом. Примем, что вектор линейного напряжения UAB направлен по действительной оси, тогда
U&AB = 220 В; U&BC = 220e− j120° В; U&CA = 220e j120° В.
Определяем фазные токи:
I&AB = |
U&AB |
= |
|
220 |
|
=15,6e− j45° =11− j11 А; |
|||
|
|
10 + j10 |
|||||||
|
|
|
Z |
|
|
||||
I&BC = |
U&BC |
= |
220e− j120° |
=15,6e− j165° = −15 − j4,03 А; |
|||||
Z |
|
||||||||
|
|
|
10 + j10 |
|
|
||||
|
|
|
|
|
|
|
|
|
89 |