uA =U msinωt; |
|
|
uB =U msin(ωt −120°); |
(3.2) |
|
uC =U msin(ωt −240°), |
|
|
где Um – амплитудное значение напряжения каждой фазы.
UA
IA
IC
UC IB UB
Рис. 3.2. Векторная диаграмма трехфазных напряжений и токов при прямой последовательности фаз питающего напряжения и активно-индуктивной нагрузке
UA
IA
|
IВ |
|
UВ |
IС |
UС |
Рис. 3.3. Векторная диаграмма трехфазных напряжений и токов при обратной последовательности фаз питающего напряжения и активно-индуктивной нагрузке
70
При обратной последовательности фаз (рис. 3.3) напряжение каждой последующей фазы опережает напряжение предыдущей на угол
120º:
uA =Umsinωt; |
|
|
uB =Umsin(ωt +120°); |
(3.3) |
|
uC =Umsin(ωt +240°). |
|
|
От последовательности фаз системы напряжений зависит, например, направление вращения ротора асинхронного двигателя.
Отдельные фазы трехфазной цепи принято обозначать буквами A, B, C, а шины на станциях и подстанциях окрашивать соответственно: А – в желтый, В – в зеленый, С – в красный цвет.
Возможны различные способы соединения обмотки генератора с нагрузкой.
3.3. Схема соединения «звездой» в трехфазных цепях
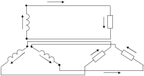
Несвязанная трехфазная цепь, в которой каждая обмотка генератора питает свою фазную нагрузку (рис. 3.4), требует шесть соединительных проводов. Такая схема практически не применяется.
A |
|
iA (IA) |
|
|
|
|
|
|
|
еA |
|
|
UA |
ZA |
|
|
|
||
X |
|
|
|
|
Z |
Y |
|
UC |
UB |
|
|
|||
|
|
|
||
|
|
|
ZB |
|
еC |
еB |
B |
ZC |
C 
iB (IB) iC (IC)
Рис. 3.4. Несвязанная трехфазная цепь
На практике используют связанные трехфазные цепи, при этом число соединительных проводов от генератора к нагрузке уменьшается до трех или четырех.
71
На электрических схемах трехфазный генератор принято изображать в виде трех обмоток, расположенных под углом 120º друг к другу.
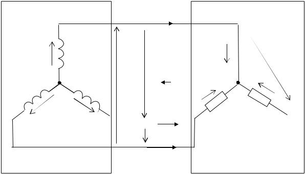
При соединении фаз трехфазного генератора или приемника электрической энергии «звездой» (рис. 3.5) концы фаз источника или приемника Х, Y, Z объединены в общую точку N, которая называется нейтральной или нулевой точкой, а начала фаз подключаются к соответствующим линейным проводам.
|
|
|
Генератор |
|
|
|
|
|
|
|
|
|
|
|
|
|
|
Приемник |
|
|
|
|
|
|
||||||||||||||||||||
|
|
|
|
|
|
|
|
|
(IA) iA |
|
|
|
|
|
|
|
|
|
|
|
|
|
||||||||||||||||||||||
|
|
|
|
|
|
|
|
|
|
|
|
|
|
|
|
|
|
|
|
|
|
|
|
|
|
|
|
|
|
|
|
|||||||||||||
|
|
|
|
A |
|
|
|
|
|
|
|
|
|
|
UCA |
|
|
|
|
|
|
|
|
|
|
|
|
|
|
|
A |
|
|
|
|
|
|
|
|
|
||||
|
|
|
|
|
|
|
|
|
|
|
|
|
|
|
|
|
|
|
|
|
|
|
|
|
|
|
|
|
|
|
|
|
|
|
|
|
|
|||||||
|
|
|
|
|
|
|
|
|
|
|
|
|
|
|
|
|
|
|
|
|
|
|
|
|
|
|
|
|
|
|
|
|
|
|
|
|
|
|||||||
|
|
|
|
|
|
|
|
|
|
|
|
|
|
|
|
|
|
|
|
|
|
|
|
|
|
|
|
|
|
|
|
|
|
|
|
|
|
|||||||
|
|
|
|
|
|
|
|
|
|
|
|
|
|
|
|
|
|
|
|
|
|
|
|
|
|
|
|
|
|
|
|
|
|
|
|
|
|
|
|
|
|
|
||
|
|
|
|
|
|
|
|
|
|
|
|
|
|
|
|
|
|
|
|
|
|
|
|
|
|
|
|
|
|
|
|
|
|
|
|
|
|
|
|
|
|
|||
|
|
|
|
|
|
|
|
|
|
|
|
|
|
|
|
|
|
|
|
|
|
|
|
|
|
|
|
|
|
ZA |
|
|
|
|
|
|
|
|
|
|||||
|
|
еA |
|
|
|
|
|
|
|
|
|
|
|
|
|
|
|
UA |
|
|
|
|
|
|
|
|
|
|
|
|
|
|
||||||||||||
|
|
|
|
|
|
|
|
|
|
|
|
|
|
|
|
|
|
|
|
|
|
|
|
|
|
|
|
|
|
|
|
|
||||||||||||
|
|
|
|
|
|
|
|
|
|
|
|
|
|
|
|
|
|
|
|
|
|
|
|
|
|
|
|
UAB |
|
|
||||||||||||||
|
|
|
|
|
|
|
|
|
|
|
|
|
|
|
|
|
|
|
|
|
|
|
|
|
|
|
|
|||||||||||||||||
|
|
|
|
|
|
|
|
|
|
|
|
|
|
|
|
|
|
iN=iA+iB+iC |
|
|
|
|
|
|
|
|
|
|
|
|
|
|
|
|
|
|
|
|
||||||
|
|
|
|
|
|
|
|
|
|
|
|
|
|
|
|
|
|
|
|
|
|
|
|
|
|
|
|
|
|
|
|
|
|
|
|
|
|
|
|
|
|
|||
|
|
|
|
|
|
|
|
|
|
|
|
|
|
|
|
|
|
|
|
|
|
|
|
|
|
|
|
|
|
|
|
|
|
|
|
|
|
|
|
|||||
|
|
|
|
|
|
|
|
|
|
|
|
|
|
|
|
|
|
|
|
|
|
|
|
|
|
|
|
|
|
|
|
|
|
|
|
|
|
|
||||||
|
|
|
|
|
|
|
(X,Y,Z) |
|
|
|
|
|
|
|
|
|
|
|
|
|
|
|
|
|
|
|
|
|
|
|
|
|
|
|
|
|
||||||||
|
|
|
|
|
|
|
|
|
|
|
|
|
|
|
|
|
|
|
|
N |
|
|
|
|
|
|
|
|
|
|
|
|||||||||||||
|
|
|
|
|
|
|
|
|
|
|
|
|
|
|
|
|
|
|
|
|
|
|
|
UB |
|
|
|
|
||||||||||||||||
|
|
|
|
|
|
|
|
|
|
|
|
|
|
|
|
UAB |
|
|
|
UC |
|
|
|
|
|
|
|
|
|
|
|
|
|
|
|
|
|
|||||||
|
|
|
|
|
|
|
|
|
|
|
|
|
|
|
|
|
|
|
|
|
|
|
|
|
|
|
|
|
|
|
|
|
|
|
|
|||||||||
|
|
|
|
|
|
|
|
|
|
|
|
|
|
|
|
|
|
|
|
|
|
|
|
|
|
|
|
|
|
|
|
|
|
|
|
|
|
|||||||
|
|
|
|
|
|
|
|
|
|
|
|
|
|
|
|
|
|
|
|
|
|
|
|
|
|
|
|
|
|
|
|
|
|
|
|
|
|
|
|
|
|
|
||
|
|
|
|
|
|
|
|
|
|
|
|
|
|
|
|
|
|
|
|
|
|
|
|
|
|
|
|
ZB |
|
|
|
|
|
|
|
|||||||||
|
|
|
|
|
|
|
|
|
|
еB |
|
|
|
|
|
|
|
|
|
|
|
|
|
|
|
|
|
|
|
|
|
|
|
|
|
|||||||||
|
|
|
|
|
|
|
|
|
|
|
|
|
|
|
|
ZC |
|
|
|
|
|
|
|
|
|
|||||||||||||||||||
|
|
|
|
|
|
|
|
|
|
|
|
|
|
|
|
|
|
|
|
|
|
|
|
|
||||||||||||||||||||
|
|
|
еC |
|
|
|
|
|
|
|
|
|
|
|
|
|
|
|
|
|
|
|
|
|
||||||||||||||||||||
|
|
|
|
(IB) iB |
|
|
|
|
|
|
|
|
B |
|||||||||||||||||||||||||||||||
|
|
|
|
|
|
|
|
|
|
|
|
|
|
|
|
|
|
|
|
|
|
|
|
|
|
|
|
|
|
|
|
|
|
|
||||||||||
|
|
|
|
|
|
|
|
|
|
|
|
B |
|
|
|
|
C |
|
|
|
|
|
|
|
|
|
|
|
|
|
|
|
|
|
|
|
|
|||||||
C |
|
|
|
|
|
|
|
|
|
|
|
|
|
|
|
|
|
|
|
|
|
|
|
|
|
|
|
|
|
|
|
|
|
|
||||||||||
|
|
|
|
|
|
|
|
|
|
|
|
|
|
|
|
|
|
|
|
|
|
|
|
|
|
|
|
|
|
|
|
|
|
|||||||||||
|
|
|
|
|
|
|
|
|
|
|
|
|
|
|
|
|
|
|
|
|
|
|
|
|
|
|
|
|
|
|
|
|
|
|
|
|
|
|
|
|
|
|
||
|
|
|
|
|
|
|
|
|
|
|
|
|
|
|
|
|
|
|
|
|
|
|
|
|
|
|
|
|
|
|
|
|
|
|
|
|
|
|
||||||
|
|
|
|
|
|
|
|
|
|
|
|
|
|
UBC |
(IC) iC |
|
|
|
|
|
|
|
|
|
|
|
|
|
|
|
|
|
|
|
|
|
|
|
|
|||||
|
|
|
|
|
|
|
|
|
|
|
|
|
|
|
|
|
|
|
|
|
|
|
|
|
|
|
|
|
|
|
|
|
|
|
|
|
|
|
|
|||||
|
|
|
|
|
|
|
|
|
|
|
|
|
|
|
|
|
|
|
|
|
|
|
|
|
|
|
|
|
|
|
|
|
|
|
|
|
|
|
||||||
|
|
|
|
|
|
|
|
|
|
|
|
|
|
|
|
|
|
|
|
|
|
|
|
|
|
|
|
|
|
|
|
|
|
|
|
|
|
|
||||||
|
|
|
|
|
|
|
|
|
|
|
|
|
|
|
|
|
|
|
|
|
|
|
|
|
|
|
|
|
|
|
|
|
|
|
|
|
|
|
||||||
|
|
|
|
|
|
|
|
|
|
|
|
|
|
|
|
|
|
|
|
|
|
|
|
|
|
|
|
|
|
|
|
|
|
|
|
|
|
|
|
|
|
|||
|
|
|
|
|
|
|
|
|
|
|
|
|
|
|
|
|
|
|||||||||||||||||||||||||||
Источник ЭДС |
|
|
|
Линия |
|
|
|
|
|
|
|
|
Нагрузка |
|
|
|
|
|
|
|||||||||||||||||||||||||
|
|
|
|
|
|
|
|
|
|
|
|
|
|
|
|
|
|
|
|
|
|
|
|
|
|
|
|
|
|
|
|
|
|
|
|
|
|
|
|
|
|
|
|
|
|
|
|
|
|
|
|
|
|
|
|
|
|
|
|
|
|
|
|
|
|
|
|
|
|
|
|
|
|
|
|
|
|
|
|
|
|
|
|
|
|
|
|
|
|
Рис. 3.5. Трехфазная схема при соединении обмоток генератора и приемника по схеме «звезда»
Провода, соединяющие начало фаз генератора и приемника электрической энергии, называются линейными проводами, а провод, соединяющий концы фаз генератора и приемника электрической энер-
гии, называется нейтральным, или нулевым.
В связанных трехфазных цепях различают фазные и линейные напряжения и токи. Фазным называется напряжение между началом и концом фазы генератора или приемника. Фазные напряжения обозначаются прописными буквами с одним буквенным индексом: UΑ,
UΒ , UC . Линейным называется напряжение между началами фаз генератора (или приемника) или напряжение между линейными прово-
72
дами. Линейные напряжения обозначаются прописными буквами с двойным буквенным индексом: U ΑΒ , U BC , UCΑ .
Каждое линейное напряжение при соединении обмоток генератора «звездой» определяется векторной разностью двух составляющих фазных напряжений.
|
|
|
|
|
|
|
|
|
|
|
|
|
U |
AB =U A −U B ; |
|
||||||||||
|
|
|
|
|
|
|
|
|
|
C ; |
(3.4) |
|
U BC =U |
B −U |
|||||||||||
|
|
|
|
|
|
A . |
|
|||||
UCA =UC −U |
|
|||||||||||
Векторную диаграмму, удовлетворяющую уравнениям (3.4), можно начинать строить с изображения векторов фазных напряжений, выходящих из одной точки под углом 120º друг к другу (рис. 3.6).
-UВ
UАВ |
|
|
|
UА |
|
IA |
|
φ |
|
|
|
IС |
|
|
UВС |
|
|
|
|
φ |
φ |
|
-UС |
UС |
|
||
|
UВ |
||
|
|
IВ |
|
|
|
|
|
-UА UСА
Рис. 3.6. Векторная диаграмма трехфазной цепи при соединении симметричной активно-индуктивной нагрузки «звездой». Векторы линейных и фазных напряжений выходят из одной точки
Вектор U AB определится как сумма векторов U Α и UΒ, вектор UΒC – как сумма векторов UΒ и UC , и вектор UCA – как сумма векторов UC и U Α.
73
Для полноты картины на векторной диаграмме изображаются также векторы токов, отстающих на угол φ от векторов соответствующих напряжений (нагрузка считается симметричной активноиндуктивной). Уравнениям (3.4), связывающим векторы фазных и линейных напряжений, удовлетворяет также топографическая векторная диаграмма, изображенная на рис. 3.7. На топографической векторной диаграмме порядок расположения векторов напряжений соответствует порядку расположения элементов в схеме, а вектор падения напряжения на каждом последующем элементе примыкает к концу вектора напряжения на каждом предыдущем элементе. Вектор, соединяющий концы двух векторов фазных напряжений, исходящих из одной точки, является их разностью. Векторы линейных напряжений образуют равносторонний треугольник. Из векторной диаграммы
UΒC = 2UС cos 30° = 2UC |
3 |
= 3UC . |
(3.5) |
|
2 |
|
|
Следовательно, между линейным и фазным напряжениями в схеме «звезда» существует зависимость
U Л = 3 UФ . |
(3.6) |
UAB
UA
UCA
UC |
UB |
|
|
30º |
UBC |
Рис. 3.7. Топографическая векторная диаграмма трехфазной цепи при соединении нагрузки «звездой»
Соотношение (3.6) выполняется:
–при наличии нейтрального провода при симметричной и несимметричной нагрузках;
–при отсутствии нейтрального провода только при симметричной нагрузке.
74