Материал: 2388

Внимание! Если размещение файла нарушает Ваши авторские права, то обязательно сообщите нам

СибАДИРис. 1.16. Конструкции

жидкостных насосов [3]

36

 

 

 

 

 

 

 

 

 

 

 

 

 

 

 

 

 

 

 

 

 

 

 

 

 

 

 

 

 

 

 

 

 

 

 

 

 

 

 

 

 

 

 

СибАДИ

 

 

Р с. 1.17. Конструкции жидкостных насосов [8]

 

 

 

 

 

 

 

 

 

15

 

 

 

 

 

 

 

 

 

 

18

 

 

 

 

 

 

 

 

 

 

 

14

 

 

 

 

19

 

6

 

16

 

 

 

 

 

 

 

 

 

 

 

 

 

 

17

 

 

 

 

 

 

 

 

 

 

 

13

 

 

1

 

 

 

 

 

 

 

 

 

 

 

 

 

 

 

 

 

 

2

 

5

7

 

 

 

 

 

 

 

 

 

 

 

 

 

 

 

3

 

4

 

 

 

 

 

 

 

 

 

 

 

 

 

 

 

 

 

 

 

 

 

 

 

 

 

 

 

 

 

 

 

 

 

 

 

 

 

 

 

 

8

9

10

11

12

 

 

 

 

 

 

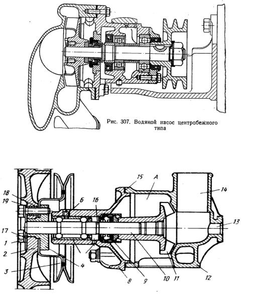
Рис. 1.18. Конструкция жидкостного насоса [9]:

–полостьнасоса; 1 – болт; 2 – вентилятор; 3 – шкив; 4 – ступица вентилятора;

5 – двухрядный шариковый подшипник; 6 – стопорный винт; 7 – контрольное отверстие; 8 – крышка; 9 – уплотнитель; 10 – вал; 11 – крыльчатка; 12 – корпус; 13 – приёмное отверстие отопителя; 14 – приёмный патрубок; 15 – прокладка; 16 – канавка; 17 – кольцо; 18 – дистанционная втулка; 19 – пружинная шайба

37

 

 

 

 

 

 

 

 

А

 

 

 

 

 

А – А

 

 

 

 

 

 

 

 

 

 

 

 

 

 

 

 

 

 

 

 

 

 

 

 

 

 

 

 

 

 

 

 

 

 

 

 

 

 

 

 

1

2

3

5

7 3 6

 

10

 

 

 

 

 

 

 

 

 

 

 

 

 

 

 

 

 

 

 

 

СибАДИ

 

 

 

4

 

 

 

5

 

 

 

8

9

 

 

 

 

 

 

 

 

 

 

 

 

 

 

 

 

 

 

 

 

 

 

 

 

 

 

 

 

 

 

 

 

 

 

 

 

 

 

 

 

 

 

 

 

 

 

 

 

 

 

 

 

 

 

 

 

 

 

 

 

 

 

 

 

 

 

 

 

 

 

 

 

 

 

 

 

 

 

 

 

 

 

 

 

 

 

 

 

 

 

 

 

 

 

 

 

 

 

 

 

 

 

 

 

 

 

 

 

 

 

 

 

 

 

 

 

 

 

 

 

 

 

 

 

 

 

 

5

4

 

 

 

 

 

12

11

 

 

 

 

 

 

 

 

 

 

 

 

 

 

 

 

 

 

 

 

 

 

 

 

 

 

 

 

 

 

 

 

 

 

 

 

 

 

 

 

 

 

 

 

 

 

 

 

 

 

 

 

 

 

 

 

 

 

 

 

 

 

 

13 14

 

 

 

 

4

10

 

5

 

 

3

 

 

 

 

 

 

6

 

 

 

 

 

 

 

 

 

 

 

 

 

 

 

 

 

 

 

 

 

 

 

 

 

 

 

 

 

 

 

 

 

 

 

 

 

 

 

 

 

 

 

 

 

 

 

 

 

 

 

 

 

 

 

 

 

 

 

 

 

 

 

5

15

17

 

16

 

 

 

 

 

 

 

 

 

 

 

 

 

 

 

 

 

 

 

 

 

 

 

 

 

 

 

 

 

 

 

 

 

 

 

 

 

 

 

 

 

 

 

 

 

 

 

 

 

 

 

 

 

 

 

 

 

 

 

 

 

 

 

 

 

 

 

 

 

 

 

 

 

 

 

 

 

 

 

 

 

 

 

 

 

 

 

 

 

 

9

15

 

9 8

11

 

 

 

 

 

 

 

 

 

 

 

 

 

 

 

 

 

 

 

 

 

Рис. 1.19. Уплотнения насосов [4]:

 

 

 

 

 

 

1 – графитовая пластина; 2 – резиновый колпачок; 3 – латунный колпачок; 4 – корпус насоса; 5 – крыльчатка; 6 – набивка; 7, 12 – пружина; 8 – текстолитовая шайба; 9 – замок; 10 – стальная втулка; 11 – валик; 13 – бронзовая втулка; 14 – уплотнительная мембрана; 15 – уплотнительное кольцо; 16 – прокладка; 17 – стальная шайба

Расчёт жидкостного насоса [1, 2, 4, 9]. В СО с компенсационным контуром абсолютное давление на входе в насос определяется по сле-

дующей формуле:

 

 

 

 

 

 

 

 

 

 

 

 

p

нас

= p

s

+ p

0

Tж + H

ст

−ζ

к.тр.

 

Wж.к. ,

(1.31)

 

 

 

 

T

 

 

2 g

 

 

 

 

 

 

 

 

0

 

 

 

 

 

 

где ps

– парциальное давление пара при температуре охлаждающей

жидкости Tж;

 

 

 

 

 

 

 

 

 

 

 

 

p0

– парциальное давление воздуха при температуре окружающего

воздуха T0;

 

 

 

 

 

 

 

 

 

 

 

 

Hст

– превышение расширительного бачка перед входом в насос;

38

ζк. тр. – коэффициент сопротивления компенсационной трубки; Wж.к. – скорость жидкости в компенсационной трубке. Диаметры различных контуров, трубок и скорости в них изменя-

ются в следующих пределах:

- радиаторныйконтур (см.рис.1.3,б) dтр.р.к. =20…60мм,Wж.р. =3…6м/с; - дренажный контур dтр. д.к. = 8…12 мм, Wж.д. = 8…15 м/с;

- компенсац онная трубка dтр. к.к. = 20…40 мм, Wж = 1…1,5 м/с. Как прав ло, через компенсационный контур прокачивается около

5% охлаждающей ж дкости. При меньшем количестве давление в расширительном бачке может упасть из-за снижения в нём температуры жидкости. Так как скорость жидкости в компенсационной трубке незначительна, в формуле (1.31) последним членом можно пренебречь.

В СО с расш р тельным ачком, в случае уменьшения подачи насосом охлаждающей жидкости из-за кавитации, повышение температуры ж дкости пр водит к возрастанию давления на входе в насос (см. формулу (1.31)). В результате прекращение подачи охлаждающей жидкости из-за кавитации не возникает.

Гидравлический расчёт жидкостной СО заключается в определенииеё сопротивления при принятой в тепловом расчёте радиатора скорости охлаждающей жидкости в радиаторе, под ору жидкостного насоса и определению возможности возникновения зон парообразования и кавитации.

Жидкостный насос подбирают из условия соответствия принятого в тепловом расчёте радиатора циркуляционного расхода жидкости эффективной характеристике насоса и потерям напора в тракте из-за гидравлического сопротивления. Для этого можно изменять частоту вращения крыльчатки, диаметр трубопроводов гидравлического тракта или выбрать насос с другой характеристикой.

При этом СО разбивают на контуры, контуры на участки, а циркуляционный расход жидкости через дренажно-компенсационный кон-

тур можно не учитывать.

 

 

 

 

Потери напора в СО включают потери на трения Hтр

местные

СибАДИ

потери Hм.п.:

 

 

 

 

для круглых труб

 

 

W 2

 

 

l

 

 

Hтр = λтр

 

 

ж ,

(1.32)

d

 

 

2 g

 

39

для плоских труб

 

 

W 2

 

 

 

l

 

 

 

Hтр = λтр

 

 

ж

,

(1.33)

dэ

 

 

2 g

 

 

СибАДИ

где

λтр = 0,014 4 +

0,009

47

– коэффициент трения;

 

 

 

 

 

Wж

 

 

 

 

l , d – соответственно длина и диаметр трубы;

 

 

dэ =

4 f

– экв валентный диаметр плоской трубы;

 

 

 

s

 

 

 

 

s – пер метр поперечного сечения плоской трубы;

 

 

 

f – площадь поперечного сечения плоской трубы;

 

 

 

Wж– скорость охлаждающей жидкости;

 

 

 

g – ускорен е сво одного падения;

 

 

 

 

 

 

Hм.п. = ζм.п.

W 2

(1.34)

 

 

 

 

 

ж .

 

 

 

 

 

 

 

2 g

 

Коэффициенты местного сопротивления имеют следующие значения: ζм.п. = 1 – для неплавного расширения; ζм.п. = 0,5 – для внезапного сужения; ζм.п. = 0 – для плавного расширения;

ζм.п. = 0,2…0,35 – для закругления.

Суммарное сопротивление определяют суммированием потерь напора на последовательных участках при одинаковых циркуляционных расходах.

В случае параллельных соединениях участков расходы обратно пропорциональны их сопротивлениям, потери напора одинаковы, вел - чина потерь равна общему циркуляционному расходу.

В поршневых автотракторных ДВС гидравлическое сопротивление при Wж = 3…5 м/с составляет МПа:

в трубопроводах – 0,007 3…0,012 2;

в рубашках цилиндров – 0,012 2…0,014 7;

в радиаторах – 0,019 6…0,024 5; общее – 0,039 2…0,051 5.

На рис. 1.20. показана схема распределения потерь напора.

40