Материал: 2295

Внимание! Если размещение файла нарушает Ваши авторские права, то обязательно сообщите нам

Расходные вентили жидкой фазы ГСН всех баллонов, как правило, расположены вблизи горизонтальной плоскости, проходящей через осевую линию баллона (или на ней, или выше её). К входным отверстиям расходных вентилей присоединены трубки, приемные концы которых опущены до нижней части обечайки баллона (для отбора жидкой фазы ГСН с нижнего уровня). Расстояние между обечайкой баллона и нижним концом приёмной трубки расходного вентиля у рассматриваемых типов баллонов равно 10...15 мм. Внутренний диаметр приёмных трубок на баллонах Дружковского завода газовой аппаратуры равен 8 мм, на баллонах Куйбышевского механического завода "Салют" - 4 и 6 мм.

Указанные баллоны не имеют специальных устройств для слива сжиженного газа. Способность же ГСН при понижении давления переходить в парообразное состояние практически исключает возможность использования для этой цели сливной пробки. Существующие схемы соединений арматуры баллонов таковы, что слив ГСН осуществить крайне затруднительно. Это обусловлено, во-первых, необходимостью разборки резьбовых соединений арматуры баллона, установки дополнительных переходников и шлангов. Во-вторых, слив ГСН за счет разности уровней (по аналогии с жидкими нефтепродуктами) через расходный вентиль жидкой фазы приводит к наличию в баллоне значительного несливаемого остатка (40...50 % от полного объема баллона).

7.7.3. Принцип слива сжиженного газа

Вышеизложенное свидетельствует, что специфические свойства сжиженного газа, особенности расположения и конструкции запорно-предохранительной арматуры автомобильных баллонов накладывают ограничения на возможность полного слива из них ГСН. Из всех существующих методов перемещения сжиженных газов для слива ГСН из автомобильных баллонов наиболее целесообразно применение метода перемещения путем создания избыточного давления р в опорожняемом баллоне (перепада давления в системе "баллон - сливной резервуар).

Полное опорожнение баллона от жидкой и паровой фаз ГСН при использовании этого метода осуществляется следующим образом. Под избыточным давлением жидкая фаза ГСН через расходный вентиль будет перемещаться из автомобильного баллона в сливной резервуар. Но полный слив её в этом случае тоже невозможен по причине сохранения в баллоне несливаемого остатка, величина которого будет зависеть от расстояния между обечайкой баллона и нижним концом трубки расходного вентиля

жидкой фазы, а также от наклона опорожняемого баллона относительно горизонтальной плоскости в продольном и поперечном направлениях. Следовательно, после слива основной массы жидкой фазы внутренняя плоскость баллона будет заполнена некоторым количеством несливаемого остатка жидкой фазы и паровой фазой ГСН, которые будут находиться под созданным ранее избыточным давлением. После прекращения подвода р давление паровой фазы ГСН в баллоне выровняется с давлением насыщенных паров сжиженного газа, находящегося в сливном резервуаре.

Оставшаяся в баллоне паровая фаза ГСН (а также та, которая образуется при испарении несливаемого остатка жидкой фазы) может быть выпущена на продувочную свечу в атмосферу, утилизирована (сжигание на выходе из продувочной свечи) или перекачена из баллона в сливной резервуар. Третий путь её использования более предпочтителен, так как отвечает современным требованиям о защите окружающей среды и экономии топливно-энергетических ресурсов.

Отсос паровой фазы ГСН из баллона и перекачка её в сливной резервуар могут быть осуществлены специальными устройствами. При этом, в результате снижения давления в баллоне, оставшаяся жидкая фаза ГСН будет испаряться. Конец момента отсасывания желательно устанавливать по падению давления внутри баллона. Можно предположить, что полное отсасывание из баллона паровой фазы ГСН осуществить практически затруднительно, так как в нем всегда будут находиться остатки тяжелых углеводородов, которые хотя и медленно, но все же способны переходить в газообразное состояние. Время перекачки определится производительностью откачивающего устройства, интенсивностью испарения несливаемого остатка жидкой фазы ГСН (температурой баллона) и объемом баллона.

И, наконец, заключительным этапом технологического процесса слива ГСН является: выпуск незначительного (после отсасывания) остатка паровой фазы на продувочную свечу, заполнение внутренней полости баллона и продувка её инертным газом (азотом).

Следовательно, с физической точки зрения под термином "слив сжиженного газа из автомобильного баллона" следует понимать выдавливание из него избыточным давлением и перемещение в сливной резервуар жидкой фазы ГСН, отсос из баллона паровой фазы ГСН и перекачивание её тоже в сливной резервуар с последующим заполнением и частичной продувкой баллона азотом.

Избыточное давление р в автомобильном газовом баллоне возможно обеспечить путем подачи в него паровой фазы

сжиженного газа, сжатого природного, сжатого инертного газа. Кроме этого р в баллоне может быть создано путем прогрева его теплой водой или нагретым воздухом. При этом используется свойство ГСН увеличивать давление своих насыщенных паров при повышении температуры.

7.8. Установка для слива ГСН

Проведенный анализ структурных схем различных вариантов слива ГСН позволяет рекомендовать как наиболее предпочтительную систему, в которой избыточное давление в автомобильном баллоне создается путем подачи в него паровой фазы сжиженного газа из сливного резервуара. В ней также используется нагретый воздух. Причем он предназначен в данном случае только для подогрева баллона (в летнее и зимнее время года) с целью ускорения процесса испарения несливаемого остатка жидкой фазы ГСН. Применение его имеет явные преимущества перед другими способами подогрева автомобильного баллона.

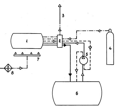
Установка для слива содержит (рис.7.19): автомобильный баллон, сливную колонку, продувочную свечу, баллон с азотом, устройство для перекачивания паровой фазы ГСН, сливной резервуар, воздухораспределитель, нагреватель воздуха, приборы контроля и аппаратуру управления. Слив сжиженного газа при использовании этой установки происходит следующим образом. Паровая фаза ГСН из сливного резервуара 6 закачивается устройством 5 в автомобильный баллон 1, в котором создается давление, необходимое для слива ГСН. Под этим давлением жидкая фаза ГСН сливается (выдавливается) из автомобильного баллона в сливной резервуар. После слива её в баллоне остаются несливаемый остаток жидкой фазы и паровая фаза ГСН. Последняя отсасывается из баллона устройством 5 и перекачивается также в сливной резервуар. Во время отсасывания давление насыщенных паров ГСН в баллоне понижается (создается разрежение), несливаемый остаток жидкой фазы начинает испаряться. В любое время года для ускорения его испарения включается нагреватель воздуха 8, который через воздухораспределитель 7 подает нагретый воздух к наружной поверхности автомобильного баллона снизу. Обтекая её, он прогревает баллон и содержащийся в нем несливаемый остаток жидкой фазы ГСН, который начинает интенсивно испаряться. После отсасывания паровой фазы внутренняя полость баллона заполняется и продуваетя (дегазируется) азотом из баллона 4. Излишки его отводятся на продувочную свечу 3.

 

 

Рис.

 

7.19.

 

Структурная

схе-ма

 

установки для

слива

 

сжиженно-го газа:

 

1 - автомобильный

 

баллон; 2 - слив-ная

 

колонка;

 

3-про-

 

дувочная

 

свеча;

 

 

4 - баллонс азо-том; 5-

 

устройство

 

для

 

 

 

перекачива-ния

 

паровойфазы ГСН;

 

6 - сливной резер-вуар

 

7-

 

воздухо-

 

распределитель;

8 -

 

нагреватель воздуха;

 

- - – отсасывание

 

паровойфазы;

 

 

дегазация баллона;

 

- -·- –

 

 

 

 

 

 

 

 

 

 

 

– ·– –··- – подвод нагретого воздуха;

► – слив жидкой фазы;

 

 

– подача паровой фазы ГСН

Врекомендуемой установке устройство для перекачивания паровой фазы ГСН обеспечивает выполнение двух операций: создание в автомобильном баллоне давления, необходимого для слива жидкой фазы ГСН, и отсасывание из баллона паровой фазы ГСН. В качестве такого устройства возможно использовать компрессоры (аммиачные, от холодильных установок и т.д.) и насосы (поршневые, плунжерные, вакуумные).

Возможность реализации данной установки при разработке поста слива сжиженного газа из автомобильных баллонов не вызывает сомнений. Но разработка такого поста осложняется тем, что сам по себе пост слива как самостоятельная производственная единица в АТП существовать не может. Хотя бы потому, что невозможно до бесконечности сливать ГСН в резервуар (или резервуары), не расходуя из него сжиженный газ. Выкачивать же ГСН из него (или непосредственно сливать) в автоцистерны и затем отвозить на газонаполнительную станцию вряд ли целесообразно.

Если исходить из специфики работы и технического обслуживания газобаллонных автомобилей, то посты слива ГСН из автомобильных баллонов должны быть расположены на территории стационарных АГНС и обязательно, как было указано выше, на территории АТП. В первом случае установка для слива может быть просто привязана к технологической схеме AГНС, так как на ней уже имеются резервуары для сжиженного газа (как

правило, подземные), компрессоры и насосы. Во втором - возможны несколько вариантов реализации, зависящих от того, как и куда будет расходоваться сливаемый из автомобильных баллонов сжиженный газ. В принципе, он может расходоваться для заправки газобаллонных автомобилей и для производственных полей на участках зон ТО и ТР. Причем эти два пути не исключают друг друга, они могут применяться одновременно. Особого внимания заслуживает первый путь [10, c. 94-98].

Дело в том, что в настоящее время при возрастающем дефиците жидкого автомобильного топлива остро стоит вопрос заправки газобаллонных автомобилей после выхода их из зон ТО и ТР (перед поступлением в эти зоны ГСН из автомобильных баллонов должен быть слит). Автомобили вынуждены совершать холостой пробег (на жидком топливе) на стационарную АГНС, расположенную иногда на значительном расстоянии от АТП. Поэтому для уменьшения холостых пробегов и снижения расхода жидкого топлива рационально в АТП иметь свой заправочный пункт.

Заправка газобаллонных автомобилей во многих АТП производится передвижными газонаполнительными станциями (АГНС типа ЦППЗ-12-685, ЦППЗ-33.285 и др.). При их наличии резервуаром для слива ГСН могут служить резервуары этих АГНС (наземный сливной резервуар), из которых расход сжиженного газа гарантирован. В этом случае установка для слива ГСН привязывается к технологической схеме передвижной АГНС. При отсутствии же в АТП автомобильной газонаполнительной станции таковая должна быть там организована и обязательно включать в себя (помимо поста заправки) пост слива ГСН из автомобильных баллонов. На такой станции желательно использовать подземные сливные резервуары, в которые будет сливаться сжиженный газ и из них же будет производиться заправка автомобилей [10, c. 52-54].

7.9.Обоснование технологических параметров процесса слива

Полный слив сжиженного нефтяного газа из автомобильного баллона возможно произвести только путем выдавливания из него избыточным давлением и перемещения в сливной резервуар жидкой фазы ГСН, отсоса из баллона паровой фазы ГСН и перекачивания её тоже в сливной резервуар с последующим заполнением и частичной продувкой баллона инертным газом (дегазация). Основными технологическими параметрами такого процесса слива являются: время и давление, необходимое для слива жидкой фазы; время отсасывания паровой фазы и конечное