Материал: 2295

Внимание! Если размещение файла нарушает Ваши авторские права, то обязательно сообщите нам

Процессы отделения, улавливания и задержания различных механических частиц загрязнений, смолистых веществ, сернистых соединений, масла и воды в разработанной конструкции магистрального фильтра-отстойника сжиженного нефтяного газа с магнитной ловушкой загрязнений происходят следующим образом: из сжиженного газа, поступающего из газового баллона через входной штуцер корпуса магистрального фильтра-отстойника в его колпак, отделяются наиболее тяжелые частицы загрязнений и воды под воздействием гравитации и, проходя через вырезы в стаканах ловушки, осаждаются в нижней части колпака.

При прохождении сжиженного нефтяного газа между полюсными наконечниками под воздействием магнитного потока кольцевого магнита происходит улавливание магнитной ловушкой всех, даже самых мелких и легких, ферромагнитных частиц (окалины, ржавчины) загрязнений, которые накапливаются в нем в результате коррозии поверхностей газового баллона, газового фильтра редуктора, штуцеров и др. Одновременно происходит улавливание легких немагнитных частиц загрязнений, которые под влиянием молекулярных сил агломерируются вокруг железных частиц и вместе с ними притягиваются к магнитной ловушке.

Кроме того, под воздействием магнитного потока кольцевого магнита мелкодисперсные загрязнения коагулируют с образованием шлама, который оседает в нижней части колпака магистрального фильтра-отстойника сжиженного нефтяного газа.

В процессе последующего движения сжиженного нефтяного газа происходит задержание смолистых веществ, сернистых соединений и масла в пакете фетровых колец 4. Фетровые кольца значительно лучше войлочных (используемых в газовых фильтрах) очищают сжиженный нефтяной газ от смолистых веществ, сернистых соединений и масел, более стойкие к отрицательному воздействию этих загрязнений и обладают допустимым сопротивлением потоку фильтруемого сжиженного нефтяного газа.

Дальнейшая очистка сжиженного нефтяного газа происходит в латунном сетчатом фильтрующем элементе 10, улавливающем механические частицы загрязнений из потока газа своей наружной поверхностью за счет эффекта просеивания. Очищенный в магистральном фильтре-отстойнике сжиженный нефтяной газ через выходной канал в его корпусе поступает в полость электромагнитного клапана 7, который при включенном зажигании пропускает его через выходное отверстие 6 вгазовую магистраль.

Габаритные размеры магистрального фильтра-отстойника сжиженного нефтяного газа с магнитной ловушкой 245х115х65 мм, масса2,0 кг.

При использовании магистрального фильтраотстойника сжиженного нефтяного газа с магнитной

ловушкой загрязнений увеличивается необслуживаемый период эксплуатации, что снижает затраты на его техническое обслуживание.

Применение магнитной ловушки загрязнений фильтрующего элемента и зоны отстоя загрязнений со спускной ниппель-пробкой в магистральном фильтре-отстойнике с электромагнитным клапаном повышает очистительную способность, уменьшая загрязненность фетрового элемента, что позволяет увеличивать вдвое периодичность первого технического обслуживания (ТО-1) магистрального фильтраотстойника, т.е. проводить его через 3600…6000 км пробега в зависимости от условий эксплуатации газобаллонного автомобиля.

Оптимальная конструкция магистрального фильтра-отстой-ника сжиженного нефтяного газа с магнитной ловушкой загрязнений может быть без затруднений реализована в топливных системах двигателей газобаллонных автомобилей и автобусов: ГАЗ-52-07, ГАЗ-52-08, ГАЗ- 53-07, ЗИЛ-138, ЗИЛ-ММЗ-45023, ЛиАЗ-677Г, ЛАЗ-697П, а также в топливных системах двигателей грузовых автомобилей ГАЗ и ЗИЛ, переоборудованных с бензина на сжиженный нефтяной газ (см рис. 7.4) [6, с. 124…144].

Применение магнитной ловушки загрязнений в два раза увеличивает период необслуживаемой эксплуатации магистрального фильтра-отстойника сжиженного нефтяного газа. Кроме того, магнитная ловушка загрязнений увеличивает ресурс и безотказность работы газовых испарителей и редуктора, снижает эксплуатационные затраты на их техническое обслуживание. Магистральный фильтр-отстойник, обладающий высокими фильтрующей способностью фетрового элемента, улавливающей способностью магнитной ловушки и улучшенным гравитационным отстаиванием крупных частиц загрязнений и воды, обеспечивает значительное удаление окалины, ржавчины, смолистых веществ, сернистых соединений, масла и воды из газа перед поступлением его в испаритель, а затем в редуктор, смеситель и двигатель.

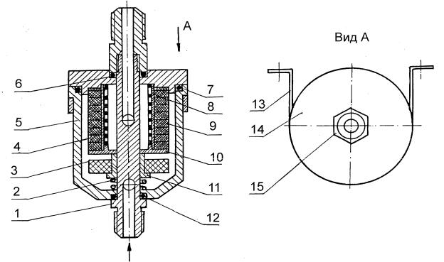
Осуществляя переоборудование легковых автомобилей на сжиженный нефтяной газ, в СибАДИ разработали газовый фильтр (рис. 7.5) для очистки газа от накапливающихся в нем различных загрязнений комплексным методом. [Патент РФ № 2131990 от 16.07 1999].

Реализация этого метода осуществляется кольцевым постоянным магнитом 3, установленным на опорной втулке 11, фетровыми кольцами 9, расположенными на перфорированном алюминиевом стакане 10, сеточным латунным цилиндром 4, установленным между фетровыми кольцами 9 и перфорированным стаканом 10, расположенными на стяжном болте в алюминиевом колпаке 5, закрываемом крышкой 14. Кольцевой постоянный магнит имеет внешний диаметр 39 мм, внутренний –16 мм, толщину –7 мм

и массу –35 г.

Колпак 5 с крышкой 14 соединен стяжным полым болтом со штуцером входа газа 15. Герметичность внутренней полости газового фильтра обеспечена резиновыми кольцами 6, 7, 12 и резиновой прокладкой 8. Газовый фильтр под капотом устанавливают на кронштейне 13. Процесс очистки газа в газовом фильтре начинается сразу же после поступления газа в колпак через штуцер входа и канал стяжного болта. Под воздействием магнитного поля кольцевой постоянный магнит улавливает даже самые мелкие ферромагнитные, а также немагнитные частицы загрязнения, которые под влиянием молекулярных сил агломерируются вокруг железных частиц и вместе с ними притягиваются к постоянному магниту.

Рис.7.5. Газовый фильтр для двигателей, переоборудованных с бензина на сжиженный газ:

1-стяжной болт со штуцером выхода газа; 2 - пружина; 3 - кольцевой постоянный магнит; 4 - сеточный фильтрующий элемент; 5 - колпак; 6, 7, 12 - резиновые кольца; 8 -резиновая прокладка; 9 - фетровые кольца; 10 - перфорированный стакан; 11 - опорная втулка; 13 -кронштейн; 14 - крышка; 15 - стяжной болт со штуцером

При прохождении газа через фетровые кольца осуществляется очистка от смолистых веществ и сернистых соединений. Затем происходит очистка газа наружной поверхностью сеточного латунного цилиндра от мелких механических частиц за счет эффекта просеивания. Очищенный газ через канал стяжного болта и штуцер выхода поступает в газовую магистраль и далее в газовый редуктор.

Разработанный фильтр для очистки сжиженного газа монтируется в газовую магистраль на участке между испарителем и газовым редуктором.

Размеры внутренней полости и поверхностей фильтрующих элементов (кольцевого постоянного магнита, фетровых колец и сеточного цилиндра) газового фильтра позволяют обеспечивать улавливание окалины, ржавчины, смолистых соединений и других загрязнений из сжиженного газа в течение всего периода эксплуатации легкового автомобиля до технического обслуживания

(ТО-2).

Габаритные размеры и масса газового фильтра, разработанного для легковых автомобилей, имеют небольшие числовые значения: диаметр 60 мм; высота 66 мм; высота со штуцерами входа и выхода газа 120 мм; масса 0,4 кг.

7.5.3.Предварительная очистка сжиженного нефтяного газа в наполнительном устройстве газового баллона

Сжиженный нефтяной газ при его заправке на автомобильной заправочной станции в автомобильный газовый баллон зачастую бывает загрязнен различными механическими частицами, смолистыми веществами, сернистыми соединениями, маслом и влагой. В конструкции газовых систем питания двигателей грузовых автомобилей и автобусов, использующих в качестве моторного топлива сжиженный нефтяной газ, нет средств очистки его при поступлении в газовый баллон в процессе заправки.

В результате многократных заправок в процессе эксплуатации автомобилей и автобусов происходит значительное накопление этих загрязнений в газовом баллоне. При поступлении сжиженного нефтяного газа из него в магистраль загрязнения забивают фильтрующие элементы магистрального фильтраотстойника с электромагнитным клапаном и вызывают сужение сечений газовых каналов в деталях и узлах газовой топливной аппаратуры. Вследствие этого увеличивается количество отказов в работе узлов и элементов газовой системы питания. При этом возрастают эксплуатационные затраты, связанные с проведением непредусмотренных ремонтов и ее обслуживания.

С целью обеспечения ресурсосберегающей эксплуатации элементов газовой аппаратуры и самого двигателя посредством

уменьшения накопления загрязнений в газовом баллоне при заправке его на автомобильной газозаправочной станции, в СибАДИ разработана, изготовлена и успешно эксплуатируется конструкция газового фильтра для наполнительного устройства автомобильного баллона сжиженного нефтяного газа.

Газовый фильтр, объединенный в одном корпусе с наполнительным устрой-ством баллона сжиженного нефтяного газа,

расположен между наполнительным вентилем и его обратным клапаном

(рис. 7.6).

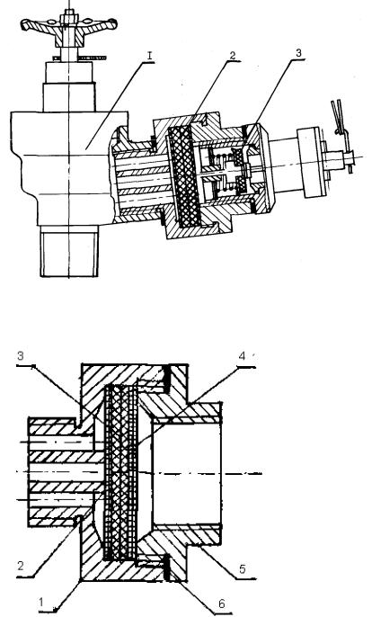
Рис. 7.6. Наполни-тельное устройство с газовым фильтром для баллона автомобиля ГАЗ-53-07:

1 – наполнительный вентиль; 2

– газовый фильтр;3 – обратный клапан наполнительного устройства

Фильтрующие элементы газового фильтра (рис. 7.7) помещены в разъемной проставке, которая своей нижней частью (рис. 7.8)

ввертывается в корпус наполнительного устройства газового баллона. В резьбовое отверстие верхней части простав-ки (рис. 7.9) ввертывается обратный клапан наполнитель-ного устройства газового бал-лона.

Рис. 7.7. Газовый фильтр наполнительного устройства автомобильного баллона для сжиженного нефтяного газа:

1 – нижняя часть проставки; 2, 4 – сетчатые диски; 3 – фетровые диски; 5 – верхняя часть проставки; 6 – прокладка