0,1
С |
|
|
|
|
|
|
||
и |
|
|
|
|
|
|
||
|
б |
|
|
|
|
|||
|
|
|
Рис. Д.23[1] |
|
|
|
|
|
|
А |
Таблица Д.10[1] |
||||||
|
|
|
|
|
|
|||
|
|
|
|
|
|
|||
|
|
|
Д |
|
||||
|
|
|
|
|
И |
|
||
|
|
|
|
|
|
|||
|
Примечание - l,b - соответственно максимальный и минимальный размеры сооружения или его |
|
||||||
|
элемента в плоскости, перпендикулярной направлению ветра. |
|
|
|
|
|||
|
Распределение коэффициентов Cβ по поверхности |
цилиндра |
||||||
|
при δ = /d< 5·10-4 (см. Д.1.16[1]) приведено на рисунке Д.16[1] для |
|||||||
|
различных чисел Рейнольдса Re. |
Значение указанных |
на этом |
|||||
|
рисунке углов βmin и βb, а также |
соответствующее им |
значение |
|||||
коэффициентов Cmin и Cb приведены в таблице Д.5[1].
36
Значения коэффициента , характеризующего шероховатость поверхностей конструкций, в зависимости от их обработки и материала, из которого они изготовлены, приведены в таблице Д.11[1].
|
|
Таблица Д.11[1] |
|
|
|
|
|
|
Тип поверхности |
Относительная шероховатость , мм |
|
|
текло |
0,0015 |
|
|
СибАДИ |
|
|
|
Полированный металл |
0,002 |
|
|
Тонкомолотая масляная краска |
0,006 |
|
|
Распыленная краска |
0,02 |
|
|
Литейный чугун |
0,2 |
|
|
Оцинкованная сталь |
0,2 |
|
|
Шлифованный бетон |
0,2 |
|
|
Шероховатый бетон |
1,0 |
|
|
Ржавч на |
2,0 |
|
|
Каменная кладка |
3,0 |
|
Рис. Д.15[1]
Рис. Д.16[1]
37
|
|
|
|
Таблица Д.5[1] |
|
|
|
|
βb |
|
|
Re |
βmin |
Cmin |
Cb |
||
5·105 |
85 |
-2,2 |
135 |
|
-0,4 |
2·106 |
80 |
-1,9 |
120 |
|
-0,7 |
107 |
75 |
-1,5 |
105 |
|
-0,8 |
|
Задан е. Определить ветровые нагрузки на каркас здания с |
|
|
||||||||||||||||||||||||
|
круговой ц л ндр ческой |
|
поверхностью |
с |
|
использованием |
|
|
|||||||||||||||||||
|
П20.13330.2011 « |
|
|
и воздействия» [1]. |
|
|
|
|
|
|
|
|
|
|
|
|
|||||||||||
С |
|
|
Исходные данные |
|
|
|
|
|
|
|
|
|
|
|
|
||||||||||||
|
|
|
|
|
|
|
|
|
|
|
|
|
|
|
|
|
|
|
|
||||||||
|
В |
задан |
|
|
предлагается |
определить |
величину |
|
расчетных |
|
|
||||||||||||||||
|
Нагрузкиветровых нагрузок на стены здания на основе условной схемы, |
|
|
||||||||||||||||||||||||
|
постро ть эпюры распределения аэродинамических коэффициентов и |
|
|
||||||||||||||||||||||||
|
расчетной ветровой нагрузки на стены в точках |
и С (рис. 4). Задание |
|
|
|||||||||||||||||||||||
|
выполняется на основании вариантов исходных данных. |
|
|
|
|
|
|
|
|
||||||||||||||||||
|
|
б |
|
|
|
|
|
|
|
|
|
|
|
|
|
|
|
||||||||||
|
|
|
|
|
Варианты исходных данных задания |
|
|
|
|
|
|
|
|
||||||||||||||
|
|
|
|
|
|
|
|
|
|
|
|
|
|
|
|
|
|
|
|
|
|
|
|
|
|
|
|
|
№ варианта |
|
1 |
2 |
|
3 |
4 |
5 |
6 |
|
7 |
8 |
9 |
|
10 |
11 |
12 |
|
13 |
|
14 |
|
15 |
16 |
|
17 |
|
|
|
|
|
|
|
|
|
|
|
|
|||||||||||||||||
|
Исходные |
|
|
|
|
|
|
А |
|
|
|
|
|
|
|
|
|
|
|
|
|
||||||
|
|
|
|
|
|
|
|
|
|
|
|
|
|
|
|
|
|
|
|
|
|
|
|
|
|
|
|
|
данные |
|
|
|
|
|
|
|
|
|
|
|
|
|
|
|
|
|
|
|
|
|
|
|
|
|
|
|
h, м |
|
42 |
53 |
|
64 |
75 |
45 |
55 |
65 |
75 |
70 |
|
48 |
58 |
62 |
|
68 |
|
65 |
|
47 |
57 |
|
59 |
|
|
|
d, м |
|
22 |
27 |
|
33 |
40 |
23 |
28 |
33 |
39 |
36 |
|
25 |
29 |
34 |
|
37 |
|
34 |
|
25 |
30 |
|
31 |
|
|
|
Район |
|
II |
I |
|
III |
IV |
VI |
V |
|
VII |
II |
I |
|
III |
IV |
VI |
|
V |
|
VII |
|
II |
III |
|
I |
|
|
проектирования |
|
|
|
|
|
|
|
|
|
|||||||||||||||||
|
|
|
|
|
|
|
|
|
|
Д |
|
|
|
|
|
|
|
|
|||||||||
|
|
|
|
|
|
|
|
ПОРЯДОК РАСЧЕТА |
|
|
|
|
|
|
|
|
|
|
|
||||||||
1. |
Выполнить схему здания по рис. 4. |
И |
|||||||||||||||||||||||||
2. |
|
|
|
|
|
|
|
|
|
|
|
|
|||||||||||||||
Определить аэродинамические коэффициенты Cβ |
и Ce1. |
|
|
|
|
|
|||||||||||||||||||||
3. |
Определить расчетную ветровую нагрузку на стены в точках |
|
|
||||||||||||||||||||||||
|
|
А и С (см. рис. 4). |
|
|
|
|
|
|
|
|
|
|
|
|
|
|
|
|
|
|
|
|
|||||
4. |
Построить |
|
эпюры |
|
|
распределения |
|
аэродинамических |
|
|
|||||||||||||||||
|
|
коэффициентов и расчетной ветровой нагрузки на стены в |
|
|
|||||||||||||||||||||||
|
|
точках А и С (см. рис. 4). |
|
|
|
|
|
|
|
|
|
|
|
|
|
|
|
|
|
||||||||
38
Работа сдается на рассмотрение в виде письменного отчета. В отчете представляются: исходные данные, схемы, алгоритм расчета, результаты расчета.
Си б А Д
Рис. 4. Пример построения эпюры распределенияИаэродинамических коэффициентов и ветровой нагрузки (кН/м2) в точках А и С
39
Раздел 3. НОРМЫ И ПРАВИЛА ПРОЕКТИРОВАНИЯ БОЛЬШЕПРОЛЕТНЫХ ЗДАНИЙ
ъ
Практическое занятие №6
ВЕТРОВЫЕ НАГРУЗКИ НА ЗДАНИЕ ПРЯМОУГОЛЬНОЕ В СибАДИПЛАНЕ СО СВОДЧАТЫМ ПОКРЫТИЕМ
Цель: пр обретение навыков работы с нормативным документом П20.13330.2016 «Нагрузки и воздействия» [1] при расчете ветровых
нагрузок на здан е прямоугольное в плане со сводчатым покрытием.
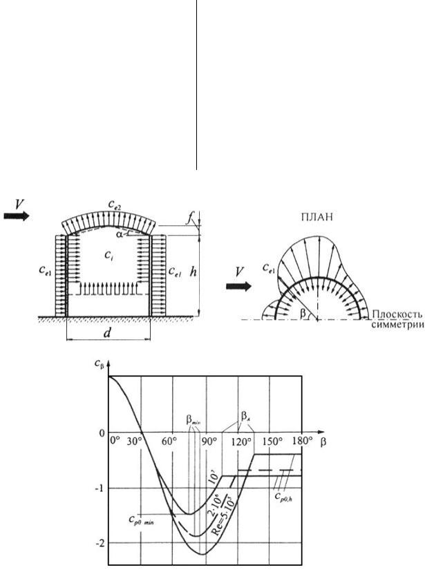
ОБЩИЕ СВЕДЕНИЯ
Расчет ветровой нагрузки wm (кгс/м2) производится по п.11 и приложен ю Д.1.3[1]. Для построения эпюры ветровой равномерно распределенной нагрузки дуга покрытия делится на четыре равные части. Аэрод нам ческ е коэффициенты для стен принимаются по таблице
.2[1], для покрытия - по рисунку Д.5[1]. Погонная нагрузка определяется с учетом ширины грузовой площади 3 м.
l (d)
Рис. Д.5[1]
Примечание. При 0,2 ≤ f /d≥ 0,3и h1 /d≥ 0,5 необходимо учитывать два значения коэффициента Се1.
40