фазный впрыск. Первая порция топлива (10 – 20% от основной) является запальной (подготовительной), она прогревает камеру сгорания до 2000 К и создает необходимую турбулентность (образование вихрей воздушного потока) [6]. Основная порция топлива поступает в прогретую камеру сгорания, топливо воспламеняется с меньшим периодом задержки самовоспламенения. При этом улучшается процесс сгорания основной порции топлива и уменьшается скорость повышения давления (см. рис. 3.1 фазу быстрого сгорания, от точки 2 до точки 3).
|
|
Содержание отчета |
и |
||
1. |
На менован е, цели задачи практической работы. |
|
С2. Требован я к д зельным топливам. |
||
3. |
Инд каторная д аграмма и фазы процесса сгорания (рис. 3.1). |
|
4. |
Анал з формулы Н.Н. Семенова для определения периода (времени) задержки |
|
|
|
б |
самовоспламенен я д зельного топлива. |
||
5. |
Определен е пер ода задержки воспламенения расчетным путем при темпе- |
|
ратуре |
давлен в камере сгорания в момент подачи топлива (Тс = 800 К для |
|
Рс = 8 МПа). |
|
|
6. |
Выводы по ра оте. |
|
|
|
А |
|
|
Контрольные вопросы и задания |
1.Укажите главные тре ования к дизельным топливам.
2.Поясните, на какие фазы можно разделить процесс сгорания дизельного топлива?
3.Укажите, когда начинается и заканчивается период задержки самовоспламенения дизельного топлива?
4.От каких главных факторов зависит время задержки воспламенения дизельного топлива?
5.С какой целью определяют время задержки воспламенения дизельного топлива и как оно связано с размерами камеры сгорания и дальнобойностью топливного факела?
6.Для какой цели система Common Rail перед основной подачей топлива подаёт малую запальную порцию топлива? И
26
Практическая работа № 4
СИСТЕМЫ ПИТАНИЯ ДВИГАТЕЛЕЙ ВНУТРЕННЕГО ГОРАНИЯ НА ГАЗООБРАЗНОМ ТОПЛИВЕ
|
|
|
|
4.1. Цели и задачи практической работы |
|
|
||||||||
С |
|
|
|
|
|
|
|
|
|
|||||
|
|
Цели практической работы: формирование и закрепление знаний |
||||||||||||
по курсу « |
стемы п тан я двигателя сжиженным газом». |
|
|
|||||||||||
|
|
Задачи: |
зуч |
ть устройство, работу и эксплуатацию систем питания |
||||||||||
|
природный |
|
|
|
|
|
|
|
|
|||||
двигателя на сж женном газе. Выполнить расчет двухступенчатого газо- |
||||||||||||||
вого редуктора. |
|
4.2. Сжиженные газы |
|
|
|
|
||||||||
|
|
|
газообразного |
|
|
|
Таблица 4.1 |
|||||||
|
|
Широкое |
менен е в двигателях внутреннего сгорания получили |
|||||||||||
два вида |
|
|
|
топлива – сжиженный нефтяной газ (СНГ) и сжа- |
||||||||||
тый |
|
|
|
(СПГ). |
|
|
|
|
|
|
|
|
||
|
|
В табл. 4.1 даны характеристики газов, применяемых в качестве топ- |
||||||||||||
|
|
|
|
|
|
А |
|
|
|
|||||
лив в дв гателях внутреннего сгорания [2, 7]. |
|
|
|
|
|
|||||||||
|
|
|
|
|
|
Характеристики газов |
|
|
|
|
|
|||
|
|
|
Параметры |
|
Метан |
|
Этан |
Пропан |
Бутан |
|
||||
|
1. Молекулярная формула |
СН4 |
|
С2Н6 |
|
С3Н8 |
С4Н10 |
|
||||||
|
|
|
|
|
|
|
|
|
|
|||||
|
2. |
Молярная масса, кг / кмоль |
16 |
|
30 |
|
44 |
|
58 |
|
||||
|
|
|
|
|
|
|
|
|
|
|
||||
|
3. Относительная плотность газо- |
0,55 |
|
1,05 |
|
1,56 |
2,1 |
|
||||||
|
вой фазы по воздуху |
|
|
|
|
|
|
|
|
|
||||
|
4. Теплотворная способность, |
|
|
|
|
И |
||||||||
|
|
|
|
3 |
|
|
49,7 |
|
47,1 |
45,9 |
45,4 |
|
||
|
МДж/кг, МДж/ м |
|
|
33,8 |
Д85,6 |
|||||||||
|
|
|
|
|
|
|
|
59,9 |
|
|
111,6 |
|
||
|
5. |
Необходимое количество воз- |
17,2 |
|
16,8 |
15,7 |
15,6 |
|
||||||
|
духа для сгорания 1 кг топлива |
|
|
|||||||||||
|
6. Температура самовоспламене- |
680 – |
|
650 – |
|
510 – |
475– |
|||||||
|
ния, оС |
|
|
|
|
|
|
|||||||
|
|
|
|
|
|
|
750 |
|
580 |
|
580 |
|
510 |
|
|
7. Октановое число по моторному |
110 |
|
108 |
105 |
|
94 |
|
||||||
|
методу |
|
|
|
|
|
|
|
||||||
Автомобильная газобаллонная установка рассчитана на подачу топлива в камеру сгорания под действием давления паров газа в баллоне. В этой связи величина давления насыщенных паров имеет важное эксплуа-
27
тационное значение. Зависимость давления насыщенных паров пропана и бутана мало изменяется от температуры, что позволяет хранить сжиженные газы в баллонах при давлении 1,6 МПа. Для перевода в жидкое состояние пропана и бутана достаточно при 20 °C повысить давление соответственно на 0,8 и 0,2 МПа.
Главным преимуществом пропана и бутана является высокое октано-
вое число, равное 98 единиц по моторному методу. |
|
|
|
||||||
|
По ГО |
Т Р 52087–2003 «Газы углеводородные сжиженные топлив- |
|||||||
ные» на автомоб лях пр меняют в качестве топлива |
пропан автомобиль- |
||||||||
ный (ПА), 85±10% пропана, остальное бутан (для зимних условий), про- |
|||||||||
и |
|
|
|
|
|
||||
пан – бутан автомоб льный (ПБА), 50 ±10% пропана, остальное бутан [8] |
|||||||||
С(табл. 4.2). |
|
|
|
|
|
|
|||
|
|
бА |
|
Таблица 4.2 |
|||||
|
|
Характеристики сжиженных газов |
|
|
|||||
|
|
|
|
|
|
|
|
||
|
Содержан е газов, % |
|
ПА (зимний) |
|
|
ПБА |
|||
|
Пропан |
|
|
|
90 |
|
|
40 |
|
|
Бутан |
|
|
|
5 |
|
|
55 |
|
|
Метан, этан, этилен |
|
5 |
(3,1,1) |
|
5 |
(3,1,1) |
|
|
|
При емкости баллонов |
50 л их заполняют на 45 л, |
обеспечивая за- |
||||||
пас 10% в связи с расширением газа при повышении температуры. |
|||||||||
|
Один 50 – литровый баллон, заправленный сжиженной пропан - бу- |
||||||||
тановой смесью для автомобиля В |
Д |
||||||||
З, рассчитан на 500 км пробега. |
|||||||||
|
Баллон для сжиженного газа имеет 2 трубки: одна – для газовой фазы, |
||||||||
другая – для |
жидкой фазы. |
Газовая фаза используется для пуска двигате- |
|||||||
ля внутреннего сгорания.
ниже, чем бензин, поэтому при переводе двигателя на газ его мощность снижается примерно на 20%.
Пропан - бутановая смесь тяжелее воздуха, и при ее утечках газ будет скапливаться внизу. Скопление газа может спровоцировать взрыв и пожар.
Пропан - бутановая жидкая смесь имеет теплотворную способность И
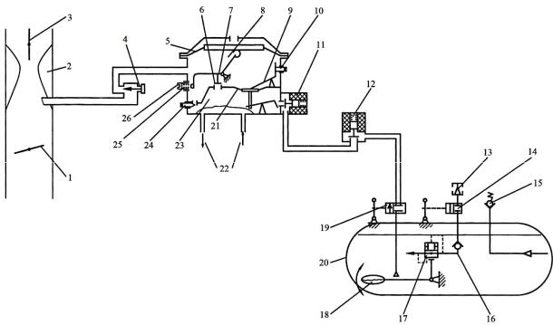
На рис. 4.1 показана принципиальная схема системы питания газобаллонного оборудования при работе двигателя на сжиженном газе [2].
При работе на сжиженных газах запуск холодного двигателя осуществляется на бензине, а после прогрева двигатель переводится на газовое топливо.
28
С |
|
и |
1-й ступени; 10 – регулировочный |
ни; 8 – полостьмембраны2-й ступени; 9 – рычаг |
|
Р с. 4.1. Пр нципиальная схема питания двигателя |
|
на сжиженном газе: |
|
А |
|
1 – дроссельная заслонка; 2 – смеситель; 3 – воздушная заслонка; 4 – дозатор газа; |
|
5 – мембрана 2-й ступени РНД; 6 – клапан 2-й ступени; 7 –рычаг клапана 2-й ступе- |
|
винт рычага 1-й ступени; 11 – входной электромагнитный клапан; 12 – магистральный электромагнитный клапан; 13 – заправочное устройство; 14 – заправочный вен-
Д |
||
тиль; 15 — предохранительный клапан; 16 — клапан обратный; |
17 – отсечной кла- |
|
пан; 18 – поплавок; 19 – магистральный вентиль; 20 – баллон; |
21 – мембрана с кла- |
|
паном 1-й ступени; 22 – каналы для охлаждающей жидкости; 23 – полость 1-й ступе- |
||
ни; 24 – винт регулировочный холостого хода; 25 – пружина; 26 – регулировочный |
||
винт клапана 2-й ступени |
|
|
|
И |
|
В баллон сжиженный газ заправляется через вентиль 13 (рис. 4.1). |
||
Наполнение баллона автоматически прекращается при всплытии поплав- |
||
ка 18, который связан с отсечным клапаном 17. |
|
|
Через магистральный вентиль 19 газ поступает через электромагнит- |
||
ные клапаны 12, 11 и далее в редуктор. В смесителе 2 происходит сниже- |
||
ние давления газа до атмосферного значения. Для испарения жидкой фа- |
||
зы газ подогревается жидкостью из системы охлаждения. Через дозатор газ поступает в смеситель, откуда смесь газа с воздухом поступает в цилиндры (одна часть газа и 16 частей воздуха).
Преимущества работы двигателя на газе:
1.Срок службы моторного масла увеличивается в 2 – 3 раза.
2.Токсичность отработанных газов снижается в 3 – 4 раза.
29
3. Уменьшается образование нагара в цилиндропоршневой группе.
Недостатки:
1.Мощность двигателя снижается на 20%.
2.Работа автомобиля на газе требует герметичной системы. Для опре-
деления утечки газа (по запаху) в него добавляется этилмеркаптан С2Н5SH с неприятным запахом.
Спливазимойрекомендуется пропан автомобильный (ПА), летом – пропанбутан автомоб льный (ПБА).
3.Плохие пусковые качества и пожарная опасность.
На рис. 4.2 показана система питания с механическим управлением
при работе дв гателя на сжиженном газе или бензине. Двигатель может работать на бенз не (реж м прогрева) или на газе. В качестве газового то-
бА Д
смеханическим управлениемИ:
1– трубопровод газа низкого давления; 2 – трубка подвода разрежения к редуктору; 3 – редуктор газовый; 4 – трубка высокого давления (медь); 5 – электромагнитный запорный клапан (газ); 6 – переключатель для газа или бензина; 7 – баллон газо-
вый; 8 – штуцер для заправки газом; 9 – фильтр воздушный; 10 – карбюратор;
11– вставка для подвода газа; 12 – бензопровод; 13 – электрический запорный клапан (бензин); 14 – бензонасос; 15 – бензобак; 16 – вентиль запорный газа (выходной); 17 – указатель уровня газа; 18 – вентиль запорный газа (входной)
30