Материал: 1881

Внимание! Если размещение файла нарушает Ваши авторские права, то обязательно сообщите нам

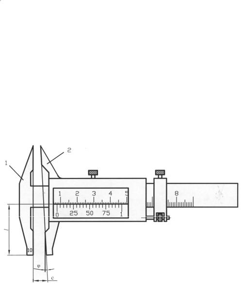
рекос рамки штангенциркуля изменяет расстояние между губками 1 и 2 (рис. 4.4).

Погрешность определения измеряемого размера из-за перекоса пер= l cosφ. При выполнении принципа Аббе l cosφ = 0 соответственно пер = 0.

Субъективные погрешности связаны с индивидуальными особенностями оператора. Как правило, эта погрешность возникает из-за ошибок в отсчете показаний и неопытности оператора.

Рассмотренные выше разновидности инструментальной, методической и субъективной погрешностей вызывают появление систематических и случайных погрешностей, из которых складывается суммарная погрешность измерения. Они также могут приводить к грубым погрешностям измерений. В суммарную погрешность измерения могут входить погрешности, обусловленные влиянием условий измерений. К ним относятся основные и дополнительные погрешности.

Рис.4.4. Погрешность измерения от перекоса губок штангенциркуля

Основная погрешность – это погрешность средства измерения при нормальных условиях эксплуатации. Как правило, нормальными условиями эксплуатации являются: температура 293 5 К или 20 5 С, относительная влажность воздуха 65 15 % при 20 С, напряжение в сети питания 220 В 10 % с частотой 50 Гц 1 %, атмосферное давление от 97,4 до 104 КПа, отсутствие электрических и магнитных полей.

41

В рабочих условиях, зачастую отличающихся от нормальных более широким диапазоном влияющих величин, появляется дополнительная погрешность средств измерений.

Дополнительная погрешность возникает в результате нестабильности режима работы объекта, электромагнитных наводок, колебания параметров источников питания, наличия влаги, ударов и вибраций, температуры и т.п.

Например, отклонение температуры от нормального значения +20 С приводит к изменению длины деталей измерительных средств и изделий. Если невозможно выполнить требования к нормальным условиям, то в результат линейных измерений следует вводить тем-

пературную поправку Хt, определяемую по формуле

 

Хt = ХИЗМ 1 (t1 – 20) – α2 (t2 – 20)],

(4.4)

где ХИЗМ – измеряемый размер; α1 и α2 – коэффициенты линейного расширения материалов измерительного средства и изделия; t1 и t2 – температуры измерительных средств и изделия.

Дополнительную погрешность нормируют в виде коэффициента, указывающего «на сколько» или «во сколько» изменяется погрешность при отклонении номинального значения. Например, указание, что температурная погрешность вольтметра составляет 1 % на 10 С, означает, что при изменении среды на каждые 10 С добавляется дополнительная погрешность 1 %.

Таким образом, повышение точности измерения размеров добиваются за счет уменьшения влияния отдельных погрешностей на результат измерения. Например, нужно выбирать наиболее точные приборы, устанавливать их на ноль (размер) по концевым мерам длины высокого разряда, поручать измерения опытным специалистам и т.д.

Статические погрешности являются постоянными, не изменяющимися в процессе измерения, например неправильная установка начала отсчета, неправильная настройка СИ.

Динамические погрешности являются переменными в процессе измерения; они могут монотонно убывать, возрастать или изменяться периодически.

На каждое средство измерений погрешность приводится только в какой-то одной форме.

Если погрешность СИ при неизменных внешних условиях постоянна во всем диапазоне измерений (задается одним числом), то

= а.

(4.5)

42

Если погрешность меняется в указанном диапазоне (задается линейной зависимостью), то

= (а + bx). (4.6)

При = а погрешность называется аддитивной, а при = (а+bx) – мультипликативной.

Если погрешность выражается в виде функции = f(x), то она называется нелинейной.

4.2. Классы точности средств измерений

Классом точности называется обобщенная характеристика всех средств измерений данного типа, обеспечивающая правильность их показаний и выражаемая пределами допускаемых погрешностей или другими характеристиками, влияющими на точность. В стандартах на средства измерений конкретного типа устанавливаются требования к метрологическим характеристикам, в совокупности определяющие класс точности средств измерений этого типа. ГОСТ 8.401 – 80 устанавливает три вида классов точности СИ.

1. Для пределов допускаемой абсолютной погрешности в единицах измеряемой величины погрешность измерения определяется в соответствии с формулами

= а и = (а + bx), (4.7)

где – пределы допускаемой абсолютной погрешности измерения, выраженной в единицах измеряемой величины или условно в делениях шкалы; а, b – положительные числа.

2. Для пределов допускаемой относительной погрешности в виде ряда чисел:

= А 10n,

(4.8)

где А = 1; 1,5; 2; 2,5; 4; 5; 6; n – положительное или отрицательное целое число, включая нуль (1; 0; – 1; – 2 …).

Классы точности СИ, выраженные через относительные погрешности, могут назначаться двумя способами:

если = а, то = А 10n;

если = (а + bx), то

 

 

 

 

X

 

 

 

 

 

c d

 

 

к

 

 

 

1 ,

(4.9)

X

 

 

 

 

 

 

 

 

 

 

 

 

 

 

 

 

 

 

 

 

 

 

 

где – пределы допускаемой относительной погрешности, %; c, d – выбираются из ряда чисел (1.12); Xк – верхний предел измерений СИ;

43

Х – значение измеряемой величины на входе (выходе) средства измерения или число делений, отсчитываемых по шкале.

3. Для пределов допускаемой приведенной погрешности в %:

 

 

100% A 10n ,

(4.10)

 

 

xN

 

где ХN – нормирующее значение измеряемой величины (см. п. 4.1). Классы точности присваиваются типам средств измерений с

учетом результатов государственных приемочных испытаний. Средствам измерений с несколькими диапазонами измерений одной и той же физической величины или предназначенным для измерений разных физических величин могут быть присвоены различные классы точности для каждого диапазона или каждой измеряемой величины. Так, амперметр с диапазонами 0 – 10, 0 – 20 и 0 – 50 А может иметь разные классы точности для отдельных диапазонов; электроизмерительному прибору, предназначенному для измерений напряжения и сопротивления, могут быть присвоены два класса точности: один – как вольтметру, другой – как омметру.

Классы точности СИ, выраженные через абсолютные погрешности, могут быть обозначены в виде заглавных букв латинского алфавита (например, М, С и т. д.) или римских цифр (I, II, III, IV и т. д.) с добавлением условных знаков. Смысл таких обозначений раскрывается в нормативно-технической документации. При этом, чем дальше буква от начала алфавита, тем больше значения допускаемой абсолютной погрешности. Например, средство измерения класса С более точно, чем средство измерения класса М, т.е. это обозначение не определяет значение погрешности и является условным. Если же класс точности обозначается арабскими цифрами с добавлением какоголибо условного знака, то эти цифры непосредственно устанавливают оценку точности показаний средств измерений.

В связи с большим разнообразием средств измерения и их метрологических характеристик ГОСТ 8.401 – 80 определены способы обозначения, причем выбор того или иного способа зависит от того, в каком виде нормирована погрешность. Для СИ, у которых погрешность измерения определяется в соответствии с формулами = а и = (а + bx), класс точности присваивается порядковым номером, начиная для самого точного с 1 и далее по мере возрастания погрешности.

Если погрешность определяется по формулам (4.8) и (4.9), класс точности СИ соответствует значениям относительной или приведенной погрешности, выраженной в %.

44

Наиболее широкое распространение получило нормирование класса точности по приведенной погрешности.

Если приведенная погрешность = 1,5 %, то класс точности СИ – 1,5. Это справедливо для приведенной погрешности, нормируемой значением физической величины в принятых единицах. В тех случаях, когда погрешность нормируется длиной шкалы прибора, класс точности также равен численному значению , но обозначается по-другому. Например, при = 0,5 % (ХN = 1) класс точности – 0,5.

Если погрешность СИ определяется формулой (4.9) (мультипликативная погрешность), то она обозначается с/d. Если

 

 

 

 

 

X

к

 

 

 

 

,

 

 

0,02 0,01

 

 

 

 

 

 

1

 

 

 

 

 

 

X

 

 

 

 

 

 

 

 

 

 

 

 

 

 

 

то класс точности СИ обозначается 0,02/0,01; с = 0,02, а d = 0,01, т.е. приведенное значение относительной погрешности к началу диапазона измерения н = 0,02 %, а к концу – к = 0,01 %.

Обозначения классов точности наносятся на циферблаты, щитки и корпуса средств измерений приводятся в нормативно-технических документах. При этом в эксплуатационной документации на средство измерений, содержащей обозначение класса точности, должна быть ссылка на стандарт или технические условия, в которых установлен класс точности для этого типа средств измерений.

Необходимо еще раз подчеркнуть, что класс точности является обобщенной характеристикой средств измерений. Знание его позволяет определить не точность конкретного измерения, а лишь указать пределы, в которых находится значение измеряемой величины.

В табл. 4.1 представлены формулы для вычисления погрешностей и обозначение классов точности СИ.

Таблица 4.1. Формулы вычисления погрешностей и обозначение

классов точности СИ

Вид

Формула

Пределы допускаемой

Обозначение

СИ,

реко-

погреш-

 

погрешности

класса точности

мендуемые к

ности

 

 

в НТД

на СИ

обозначе-

 

 

 

 

 

нию

таким

 

 

 

 

 

способом

1

2

3

4

5

 

6

Абсо-

= а

= 0,2А

Класс

N

Меры

 

лютная

= (а +

 

точности

 

 

 

 

N или

III

Меры

 

 

+ bx)

 

класс

 

 

 

 

точности

 

 

 

 

 

 

 

 

 

 

45