Материал: 1875

Внимание! Если размещение файла нарушает Ваши авторские права, то обязательно сообщите нам

 

 

Варианты заданий

Таблица 9.6

 

 

 

 

Грунт

Отметка

hб призмы

Колея башен-

 

варианта

 

котлована

из щебня, м

ного крана, м

1

супесь

−2,30

0,20

5,0

 

2

суглинок

− 3,00

0,25

4,5

 

3

глина

−3,50

0,20

4,0

 

4

суглинок

−2,10

0,25

4,5

 

5

песок

−1,50

0,20

5,0

 

Ссельских районахибна неосвоенныхАДИтерриториях сооружаются грунтовые дороги улучшенной конструкции.

Лабораторная работа № 7 Орган зац я устройства временных дорог и приобъектных складов

Цель работы: Получен е навыков в выполнении расчетов.

Оснащенность оборудован е: методические указания, курс лекций по указанной теме, справочная л тература, калькулятор, мультимедийное оборудование, персональный компьютер, м лл метровка, карандаш, ластик.

 

Порядок проведения работы

1)

Ознаком ться с целью, порядком выполнения работы, теоретической частью.

2)

Задание выдается нд в дуально каждому студенту преподавателем.

3)

Определить исходные данные в соответствие с результатами предыдущих работ.

4)

Определить тип и конструкцию устройства временных дорог.

5)

Определить тип и площади прио ъектных складов в соответствии со специфи-

 

кацией применяемых конструкций, материалов и изделий при монтаже объекта

 

строительства.

6)

Оформить работу и подготовить ее к защите.

 

Теоретические сведения

 

Проектирование временных дорог и подъездных путей

На строительной площадке чаще всего сооружаются временные дороги, конструкция которых зависит, главным образом, от условий строительства. В городских условиях (на строительных площадках и подъездах к ним) временные дороги прокладываются из сборных железобетонных плит, укладываемых по песчаной подушке. В

Проектирование построечных автомобильных дорог в процессе разработки строительного генерального плана ведется в следующей последовательности.

После привязки грузоподъемных кранов, размещения складов материалов, конструкций и изделий, площадок укрупненной сборки и других элементов строительного генерального плана разрабатывается схема движения автомобильного транспорта и расположения дорог. При этом используются как существующие, так и проектируемые дороги. Внутриплощадочные дороги, проектируемые по кольцевой схеме, должны иметь не менее двух въездов-выездов. При стесненных условиях проектируется один тупиковый проезд, и устраиваются разъездные и разворотные площадки. Такие

56

же площадки устраиваются на существующих или проектируемых дорогах в местах разгрузки конструкций и строительных материалов.

На строительном генеральном плане указываются направления движения, развороты и основные размеры дорог (ширина, расстояние между дорогой и складами, подкрановыми путями, забором и существующими зданиями). Ширина проезжей части автомобильных дорог при одностороннем движении не более 3,5 м; уширения, необходимые для стоянки машин при разгрузке составляют 6 м, минимальный радиус поворота дорог 12 м, а ширина дороги на поворотах увеличивается до 5,0 м. Участки дорог, находящиеся в опасной зоне, выделяются штриховкой или цветом. На дорогах

СибАДИпредусматривается установка необходимых знаков организации дорожного движения.

Проектирован е дорог. Для транспортировки конструкций и материалов необходимо в макс мальной степени спользовать постоянные дороги.

Временные вневнутр площадочные дороги следует предусматривать при невозможности использован я постоянных дорог. Временные дороги строят одновременно с постоянными, форм руя ед ную транспортную сеть.

При трасс ровке дорог должны выдерживаться указанные ниже расстояния: между дорогой и складской площадкой – 0,5–1 м; дорогой и подкрановыми путями – 6,5–12,5 м; дорогой и осью железнодорожных путей – 3,75 м; дорогой и забором – не менее 1,5 м.

Кроме того, нужно со людать следующие требования:

- ширина временных дорог при одностороннем движении должна быть 3–4 м, при двухстороннем – 5–8 м;

- радиус закругления внутриплощадочных дорог принимается в зависимости от вида транспортных средств га аритов перевозимых конструкций в пределах 12–30 м; при минимальном радиусе закругления ширина проезда 3,5 м недостаточна для движения автомобильных проездов, и ее надо расширить до 5 м (рис. …);

- при одностороннем движении между дорогой и складами нужно оставлять полосы шириной не менее 3 м для стоянки транспорта под разгрузкой;

- дороги целесообразно делать кольцевыми, а при необходимости тупиков следует предусматривать для разворота машин площадки размерами не менее 12×12 м;

- при монтаже непосредственно с транспортных средств («с колес») целесообразно внутриплощадочные дороги располагать вне зоны действия крана, а для разгрузки расширять дорогу в зоне его действия.

57

СибАДИР сунок – Схема уширения дороги при повороте с углом 90 о

Расчётная в д мость по направлению движения для однополосных дорог должна быть не менее 50 м, а боковая (на перекрестке) – не менее 35 м.

Временные дороги, которые проходят в зоне монтажа, на СГП обозначаются штриховкой.

Сквозной проезд через опасные зоны запрещен.

Конструкции временных дорог нео ходимо проектировать согласно нагрузкам, возникающим при движении ольшегрузного автотранспорта.

Постоянные дороги для использования в период строительства нужно выполнять в две очереди. Вначале делают дороги и укладывают один слой асфальтобетонного покрытия. К концу строительства производят ремонт нижнего слоя и устраивают новый верхний слой.

Конструкции временных дорог зависят от конкретных условий эксплуатации и могут быть следующих типов:

– естественные грунтовые профилированные;

– грунтовые улучшенной конструкции;

– с твердым покрытием;

– из сборных железобетонных инвентарных плит.

Грунтовые дороги устраиваются при небольшой интенсивности движения транспорта (до 3-4 автомашины в час) в одном направлении. Если дороги испытывают большие нагрузки, то они укрепляются гравием, шлаком, песчано-гравийно-глинистой смесью др. Отсыпку гравия производят с устройством корыта и без устройства корыта 1-2

слоями с уплотнением.

58

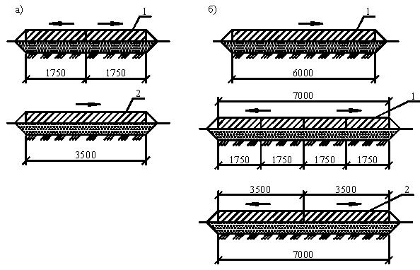
Построечные дороги под нагрузку 12 т лучше всего осуществлять из сборных железобетонных плит. Плиты укладываются на песчаную постель 10-20 см. Хорошо зарекомендовали себя дорожные плиты с предварительным напряжением.

СибАДИРис. 7.2. Конструкция временных дорог с покрытием из плит: а – однополосных; б – двухполосных; 1 – плиты размером 6000*1750; 2 – плиты размером 6000*3500

Проектирование прио ъектных складов. Приобъектные склады организуются для временного хранения материалов, конструкций, изделий, оборудования и других материальных ресурсов в процессе строительства объектов. Объемы подлежащих складированию ресурсов должны быть сведены к минимуму за счет рациональной оптимизации строительства, передовых методов выполнения строительно-монтажных работ, контейнеризации строительных грузов и других организационно-технических решений. При проектировании приобъекгных складов решаются три задачи:

1. определяются гарантийные запасы материалов, конструкций и изделий, подлежащих складированию;

2. производятся расчеты площадей приобъектнь:х складов для основных видов материальных ресурсов;

3. выбираются типы складов их размещение на строительной площадке.

Расчет объема хранения материального ресурса определенного типа Рскл определяется по формуле:

Рскл= Робщ г/Т) k1k2

где Робщ — общее количество материалов, конструкций и изделий данного типа, необходимое для строительства объекта; Т — продолжительность работ, выполняющихся с использованием этого материального ресурса; Тг — гарантийная норма запаса материалов данного вида на строительной площадке; k1— коэффициент неравномерности поступления материалов на склад (для автомобильного транспорта k1= 1,1, для железнодорожного транспорта k1=1,3); k2— коэффициент неравномерности потребления материала в течение расчетного периода k2 =1,3.

59

Далее расчет временных складов заключается в определении их площади с учетом приемочных и отпускных площадок, проездов и проходов. Расчетная площадь склада Fскл определяется исходя из запаса основных материалов Рскл, нормы складирования N, показывающей количество квадратных метров площади склада, необходимой для размещения единицы объема материала, и коэффициента использования площади склада kисп по формуле:

Fскл = Рскл N / kисп

Приобъектные склады создаются непосредственно у строящихся зданий и соору-

СибАДИ

жений. Конструктивно склады строительных материалов и изделий выполняются в

виде открытых площадок, навесов и закрытых помещений. На открытых площадках

складируются матер алы

конструкции, не требующие защиты от атмосферных

осадков: бетонные железобетонные конструкции, кирпич, щебень и т. п. Навесы со-

оружаются для хранен я материалов и изделий, требующих защиты от прямого воз-

действия солнечной рад ац

атмосферных осадков (рубероид, столярные изделия,

лесоматериалы). В закрытых складах хранятся материалы для отделки, электротехнических и сан тарно-техн ческ х ра от, скобяные изделия и другие, представляющие определенную ценность. Для некоторых материалов важным параметром хранения является температура, поэтому некоторые закрытые склады могут быть отапливаемыми. Закрытые склады могут размещаться в постоянных и временных зданиях. Постоянные здания спользуются под склады строительных организаций, перевалочные склады и склады про зводственных предприятий. Большинство складских зданий, размещаемых на строительной площадке, являются временными. Для этой цели используются, как правило, с орно-раз орные, контейнерные и передвижные складские помещения.

Лабораторная работа № 8 Ресурсное обеспечение строительства

Цель работы: Получение навыков в выполнении расчетов.

Оснащенность оборудование: методические указания, курс лекций по указанной теме, справочная литература, калькулятор, линейка, мультимедийное оборудование, персональный компьютер, миллиметровка, карандаш, ластик.

Порядок проведения работы

1) Ознакомиться с целью, порядком выполнения работы, теоретической частью.

2) Задание выдается индивидуально каждому студенту преподавателем. Определяем исходные данные к лабораторной работе.

3) Определяем необходимую потребность строительной площадки во временном водоснабжении.

4) Определить диаметр водопровода.

5) Определяем необходимую потребность строительной площадки во временном энергоснабжении по источникам потребления.

6) Определить мощность трансформаторной подстанции.

7) Оформить работу и подготовить ее к защите.

60