Материал: 1845

Внимание! Если размещение файла нарушает Ваши авторские права, то обязательно сообщите нам

тель – полужесткие минераловатные плиты на синтетическом связующем, необходим зазор 20 мм между утеплителем и продухом. Отсюда минимально возможная высота ребер каркаса плиты h min = 150 мм (см. рис. 7).

 

 

Предварительно принимаем поперечное сечение

 

досок для продольных и поперечных ребер hд x bд.

 

 

После обработки размеры поперечного сечения

 

досок изменятся на 1 3,5 мм с каждой стороны (рис.

 

8). Величина фактических допусков на обработку

 

продольных и поперечных ребер зависит от качества

 

распиловки круглого лесоматериала.

 

 

В расчет принимаем худший вариант, макси-

 

мально возможные допуски на обработку приведены

 

на рис. 8. После острожки размер досок будет равен

Рис. 8. Поперечное

hд/

x bд/.

 

В дальнейшие расчеты вводятся размеры попе-

сечение продольного

 

речного сечения продольных ребер после острожки.

ребра

 

 

 

 

 

Д

1.5.2. Конструктивные требования к расстановке продольных

 

 

ребер

 

 

А

Поперечное сечение плиты с определеннымиИразмерами продольных

ребер приведено на рис. 9.

 

 

 

б

 

и

 

 

С

 

 

 

Рис. 9. Компоновка поперечного сечения плиты

Поперечное сечение плиты считается закомпонованным корректно, если

выполняются требования системы

 

 

а 50 фв.о ;

(7)

350 а 500

мм,

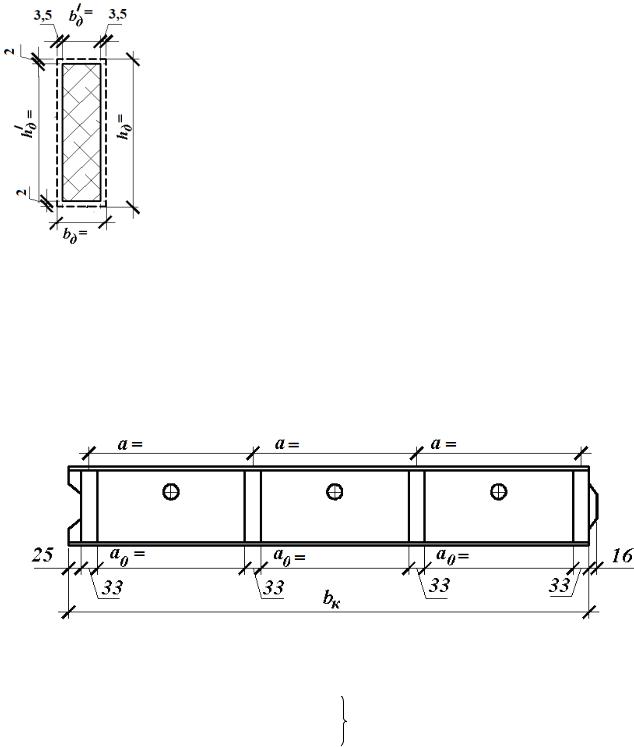
где а – расстояние между осями продольных ребер, мм (см. рис. 9).

При конструктивной ширине плиты bк с размерами, лежащими в диапа-

зоне 1,2 м bк

1,5 м, целесообразно поставить четыре продольных ребра.

Тогда расстояние между продольными ребрами в свету в соответствии с

рис. 9 можно определить по формуле

25

 

 

 

 

b

4 b/

 

 

 

a0

к

д

 

.

(8)

 

 

 

 

 

 

3

 

 

 

11

Расстояние между осями продольных ребер

 

a a0 bд/ .

(9)

1.5.3. Определение толщины фанерных обшивок

Толщину фанерных обшивок определяют с учетом конструктивного минимума. Толщина фанеры верхней обшивки может быть минимально

равна фво = 8 мм, толщина фанеры нижней обшивки фно = 6 мм.

Требуемую толщину фанеры верхней обшивки можно определить из условия прочности на местный изгиб в соответствии с СП [1, п. 6.28]. Т.е. верхнюю обшивку дополнительно необходимо проверить на местный изгиб от сосредоточенного груза Р = 1 кН = 100 кгс с коэффициентом надежности по нагрузке f 1,2 как заделанную в местах приклеивания к ребрам пла-

стинку (рис. 10).

а

б

 

 

 

 

И

 

 

 

Д

 

 

А

 

 

б

 

 

и

 

 

 

С

 

 

 

 

в

Рис. 10. Конструктивная, расчетная схемы и расчетное сечение плиты при расчете на местный изгиб: а – конструктивная схема; б – расчетная схема;

в – расчетное сечение плиты при расчете на местный изгиб

При составлении расчетной схемы предполагаем, что монтажная нагрузка перераспределилась на участок шириной 1 м. При этом в месте приложения нагрузки поперечные и продольные ребра отсутствуют (см. рис. 10,

а).

12

Условие прочности для изгибаемого элемента СП [1, формула (17)]

M выр

Пmi R

,

(10)

 

W

ф.и90

 

 

 

 

 

где М выр максимальный изгибающий момент на эпюре моментов выровнен-

ной (см. рис. 10, б); W момент сопротивления расчетного сечения фанерной обшивки; Rф.и90 расчетное сопротивление фанеры на изгиб поперек во-

локон наружных слоев, принимается по СП [1, табл. 6]; Пmi произведение коэффициентов условия работы,

Пmi

mв mн

,

(11)

 

 

n

 

здесь mн = 1,2 – коэффициент, учитывающий кратковременность приложения монтажной нагрузки. Принимается по СП [1, табл. 8]; mв коэффициент, учитывающий условия эксплуатации конструкции. Принимается по СП [1, табл. 7]; n коэффициент учитывающий срок эксплуатации конструкции.

Принимается по СП [1, табл.12].

 

 

 

 

 

И

 

 

 

 

 

 

 

 

 

 

 

 

Максимальный изгибающий выровненный момент М выр

можно опреде-

лить по формуле

 

 

 

 

 

Д

 

 

 

 

 

 

 

 

 

 

 

 

М выр

 

Ра0

.

 

 

 

(12)

 

 

 

 

 

 

 

 

 

 

 

 

 

8

 

 

 

 

 

 

 

 

 

 

А

 

 

 

 

 

 

Момент сопротивления для расчетного сечения (см. рис. 10, в) имеет

вид

 

 

 

 

 

 

 

 

 

 

 

 

 

 

 

 

б

b 2

 

 

 

 

 

 

 

 

 

 

ф.в.о

 

 

 

 

 

 

 

W

 

 

 

.

 

(13)

 

 

 

 

6

 

 

 

 

 

 

 

 

 

 

 

 

 

С учетом того, что монтажная нагрузка перераспределилась на участок

С

 

 

 

 

 

 

 

 

 

 

 

шириной 1 м , b 100

см, момент сопротивления расчетного сечения можно

представить в виде

и

 

 

 

 

 

 

 

 

 

 

 

 

100 2

 

 

 

 

 

 

 

W

 

 

 

 

 

ф.в.о

.

(14)

 

 

 

 

 

 

 

6

 

 

 

 

 

 

 

 

 

 

 

 

 

Подставив в условие прочности (10) выражения для определения мо-

мента (12) и момента сопротивления (14), получим

 

 

 

 

6Ра0

 

Пmi Rф.и90 .

(15)

 

 

 

8 100 2

 

 

 

 

 

 

 

 

 

 

 

 

 

 

 

 

 

ф.в.о

 

 

 

 

 

 

 

 

 

Отсюда требуемое значение толщины фанеры верхней обшивки можно определить

ф.в.о

 

3Ра0

 

.

(16)

 

Пmi

 

400

Rф.и90

 

13

Полученное значение толщины фанеры верхней обшивки корректируется в сторону увеличения в соответствии с сортаментом фанеры и с учетом конструктивного минимума.

1.5.4. Проверка прочности принятого сечения верхней обшивки на местный изгиб

Проверку прочности принятого сечения на местный изгиб необходимо произвести в соответствии с требованиями СП [1, формула (17)]:

M выр

Пmi R

,

 

W факт

ф.и90

 

 

 

где W факт фактический момент сопротивления фанеры верхней обшивки,

 

100 факт 2

 

Wфакт

ф.в.о

,

6

 

 

здесь факт принятая толщина фанеры верхней обшивки.

ф.в.о

 

 

1.6. Расстановка поперечных ребер

Размеры листов фанеры по сортаментуИпринимаем b l = 1525 1525

мм (25 мм срезаем, удаляя задиры). В расчеты принимаются листы фанеры с

 

 

 

 

Д

размерами 1500 х 1500 мм.

А

 

 

 

Конструктивные тре ования к расстановке поперечных ребер:

1)

размещение ребер в плите должно быть симметричным (рис. 2, 13);

2)

не рекомендуется став ть ребра в зоне действия максимального из-

гибающего момента;

б

 

3)

 

 

поперечные ребра необходимо располагать в четное количество ря-

дов (минимум в 2 ряда);

 

 

4)

и

 

 

поперечные ребра располагают в местах стыка листов фанеры верх-

ней и нижней обшивокС.

Так как длина плиты lк 1500 мм, то необходимо сращивать листы по длине, совмещая стыки c поперечными ребрами.

Стык фанерных листов нижней растянутой обшивки выполняют «на ус» (рис. 11). Верхняя сжатая обшивка стыкуется впритык (рис. 12).

Рис. 11. Стык растянутой обшивки «на Рис. 12. Стык сжатой обшивки «впритык» ус»

Трехмерная модель каркаса плиты приведена на рис. 13.

14

 

 

 

 

И

 

 

 

Д

 

 

А

 

 

б

 

 

и

 

 

 

С

 

 

 

 

Рис. 13. Каркас плиты ДК1

15