Материал: 1845

Внимание! Если размещение файла нарушает Ваши авторские права, то обязательно сообщите нам

Министерство образования и науки Российской Федерации Федеральное государственное бюджетное образовательное учреждение высшего

образования «Сибирский государственный автомобильно-дорожный университет (СибАДИ)»

Л.В. Красотина

ПРОЕКТИРОВАНИЕ ОДНОЭТАЖНОГО ОДНОПРОЛЕТНОГО ПРОИЗВОДСТВЕННОГО ЗДАНИЯ

 

 

 

 

И

С КАРКАСОМ ИЗ КЛЕЕНОЙ ДРЕВЕСИНЫ

 

 

 

Д

 

 

 

Учебно-методическое пособие

 

 

А

 

 

б

 

 

и

 

 

 

С

 

 

 

 

Омск • 2017

УДК 624.011.14

ББК 38.55

П79

Согласно 436-ФЗ от 29.12.2010 «О защите детей от информации, причиняющей вред их здоровью и развитию» данная продукция маркировке не подлежит.

Рецензент

д-р техн. наук, проф. В.А. Нехаев (ФГБОУ ВПО ОмГУПС)

Работа утверждена редакционно-издательским советом СибАДИ в качестве учебно-методического пособия.

Красотина, Лариса Владимировна.

П79 Проектирование одноэтажного однопролетного производственного здания с каркасом из клееной древесины [ Электронный ресурс] :

учебно-методическое пособие / Л.В. Красотина. – Электрон. дан. – Омск :

СибАДИ, 2017. ‒ URL: http://bek.sibadi.org/cgi-bin/irbis64r_plus/

cgiirbis_64_ft.exe. - Режим доступа: для авторизованных пользователей.

ISBN 978-5-00113СибАДИ-030-07

Содержит 4 раздела, посвященных проектированию плит покрытия с деревянным каркасом и фанерными обшивками, клееных двускатных балок, клееных колонн и узлов сопряжения элементов рам. Рассматриваемые плиты покрытия могут быть использованы для бесфонарных зданий с наружным отводом воды. При проектировании клееных конструкций (плит покрытия, колонн, двускатных балок) разобраны и обоснованы спосо ы выполнения и возможные типы клеевых соединений.

Имеет интерактивное оглавление в виде закладок.

Рекомендуется о учающ мся всех форм обучения направления «Промышленное гражданское строительство».

Работа подготовлена на кафедре «Строительные конструкции».

Текстовое (символьное) издание (1 МБ)

Системные требования: Intel, 3,4 GHz; 150 МБ; Windows XP/Vista/7; DVD-ROM;

1 ГБ свободного места на жестком диске; программа для чтения pdf-файлов: Adobe Acrobat Reader; Foxit Reader

Редактор И.Г. Кузнецова Техническая подготовка Н.В. Кенжалинова

Издание первое. Дата подписания к использованию 27.09.17

Издательско-полиграфический комплекс СибАДИ. 644080, г. Омск, пр. Мира, 5 РИО ИПК СибАДИ. 644080, г. Омск, ул. 2-я Поселковая, 1

© ФГБОУ ВО «СибАДИ», 2017

Введение

При изучении курса «Конструкции из дерева и пластмасс» студентам необходимо усвоить специальные знания в области проектирования строительных конструкций из дерева и полимерных материалов. В связи с этим особое значение имеет качественное выполнение курсовой работы.

Цели курсовой работы:

-приобретение студентами знаний по теоретическим основам расчетов на прочность и деформациям конструкций из клееной древесины;

-приобретение навыков пользования нормативной и справочной документацией;

-практическое применение полученных теоретических знаний для выполнения расчетов по предельным состояниям первой и второй групп;

-формирование у студентов понимания принципов конструирования строительных конструкций и узлов их сопряженияИ.

В учебно-методическом пособии 5 разделов, посвященных расчету

клеефанерных плит покрытия, двускатных балок и колонн из клееной древесины одноэтажного однопролетногоДпроизводственного здания, расчету и конструированию узла сопряжения двускатной балки с колонной а также проектированию узла сопряженияАколонны с фундаментом.

Курсовая работа выполняется студентами под руководством преподавателя. Преподаватель бзнакомит студентов с методиками расчетов строительных конструкций из клееной древесины. Студенты изучают соответствующую тему, делаютирасчеты конструкций в соответствии с полученным ими заданием и выполняют чертежи рассчитанных конструкций и узлов их сопряжения. С

В конце каждого раздела приведены примеры расчета аналогичных конструкций, позволяющие лучше освоить изучаемый материал и качественно подготовиться к защите курсовой работы.

3

1.РАСЧЕТ КЛЕЕНОЙ ПЛИТЫ ПОКРЫТИЯ

1.1.Исходные данные

1.Пролет здания L = …... м.

2.Отметка низа стропильной конструкции H = ……. м.

3.Шаг поперечных рам В=…….м.

4.Длина здания ……....м.

5.Снеговой район……. .

6.Ветровой район и тип местности……… .

7.Температурно-влажностные условия эксплуатации……….. .

8.Класс ответственности здания…………….. .

Исходные данные принимаются по заданию преподавателя.

 

1.2. Конструктивное решение плиты

 

 

 

 

 

И

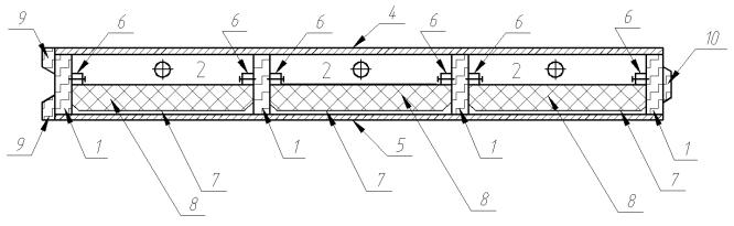
На рис. 1 приведено поперечное сечение плиты, каркас плиты представ-

лен на рис. 2.

 

 

 

Д

 

 

 

 

 

1 - 1

 

 

 

 

 

А

 

 

 

 

б

 

 

 

 

и

 

 

 

 

 

С

 

 

 

 

поперечные ребра;

Рис. 1. Поперечное сечение плиты: 1продольные ребра; 2

3 – торцевые вкладыши; 4 – фанера верхней обшивки; 5 – фанера нижней обшивки; 6 – прижимные бруски; 7 – пароизоляция; 8 – утеплитель; 9 – паз; 10 – гребень

4

 

 

 

 

И

 

 

 

Д

 

 

А

 

 

б

 

 

и

 

 

 

С

 

 

 

 

Рис. 2. Каркас плиты ДК1 : 1 продольные ребра; 2 поперечные ребра; 3 торцевые вкладыши; 4 8 см. на рис. 1; 9 паз; 10 гребень

5