|
|
Характеристики бетона |
|
Таблица 5 |
|||||
|
|
|
|
||||||
Класс |
Коэффициент |
Расчетные сопротивления для |
Начальный |
||||||
бетона на |
условий |
|
предельных состояний, МПа |
модуль |
|||||
сжатие |
работы |
|
|
|
|
|
|
упругости Еb, |
|
первой группы |
второй группы |
||||||||
|
бетона γb2 |
МПа |
|||||||
|
Rb |
|
Rbt |
Rb,ser |
|
Rbt,ser |
|||
|
|
|
|
|
|||||
В20 |
1,0 |
11,50 |
|
0,90 |
15,0 |
|
1,4 |
24∙103 |
|
|
0,9 |
10,35 |
|
0,81 |
- |
|
- |
|
|
В25 |
1,0 |
14,50 |
|
1,05 |
18,5 |
|
1,6 |
27∙103 |
|
|
0,9 |
13,05 |
|
0,95 |
- |
|
- |
|
|
ВЗ0 |
1,0 |
17,00 |
|
1,20 |
22,0 |
|
1,8 |
29∙103 |
|
|
0,9 |
15,30 |
|
1,08 |
- |
|
- |
|
|
Примечание. При расчете по I группе предельных состояний Rb и Rbt следует принимать с коэффициентом γb2 = 0,9 .
Класс арматуры следует принимать в соответствии с указаниями [2, п. 2.19 а, б, в и п. 2.24]. В зависимости от класса арматуры по [2, табл. 19, 20, 22, 23, 29] определяются характеристики арматуры и заносятся в табл. 6.
|
|
Характеристики арматуры |
Таблица 6 |
||||
|
|
|
|||||
|
Расчетные сопротивления для |
Модуль |
|||||
|
|
предельных состояний, МПа |
|||||
Класс |
|
первой группы |
|
второй |
упругости |
||
арматуры, |
|
|
группы |
арматуры |
|||
|
|
|
|
|
|||
диаметры |
Rs |
|
Rsw |
|
Rsc |
Rs,ser |
Еs, МПа |
А-I |
225 |
|
175 |
|
225 |
235 |
210∙103 |
|
|
|
|
|
|
|
|
А-II |
280 |
|
225 |
|
280 |
295 |
210∙103 |
|
|
|
|
|
|
|
|
А-III, |
355 |
|
285 |
|
355 |
390 |
|
6...8 мм |
|
|
|
||||
|
|
|
|
|
|
200∙103 |
|
А-III, |
365 |
|
290 |
|
365 |
390 |
|
10...40 мм |
|
|
|
||||
|
|
|
|
|
|
|
|
Вр-1, |
375 |
|
270 |
|
375 |
- |
|
3 мм |
|
|
|
||||
|
|
|
|
|
|
|
|
Вр-1, |
365 |
|
265 |
|
365 |
- |
170∙103 |
4 мм |
|
|
|||||
|
|
|
|
|
|
|
|
Вр-1, |
360 |
|
260 |
|
360 |
- |
|
5 мм |
|
|
|
||||
|
|
|
|
|
|
|
|
|
|
43 |
|
|
|
||
Следует обратить внимание на соблюдение размерности расчетных формул: усилия М и Q в Н∙см и Н, размеры в см.
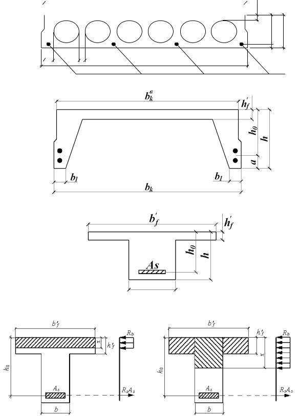
При расчете прочности нормальных и наклонных сечений поперечное сечение панели приводится к тавровому профилю в соответствии с рекомендациями рис. 24.
Вводимая в расчет ширина полки приведенного сечения bf I для ребристых панелей не должна превышать [2, п. 3.16]:
а) ширину панели поверху bкв;
б) (1/3)∙l0 + b;
в) 12∙ hf I + b – для сечений при hIf 0,1. h
Для пустотных панелей bf I = bкв. Рабочая высота (см) сечения панели
h0 h a,
где а – расстояние от наиболее растянутого края сечения до центра тяжести растянутой арматуры панели, рекомендуется принимать в соответствии с назначенной толщиной защитного слоя по [2, п. 5.5]:
–для пустотных панелей (расположение арматуры в один ряд по высоте) – 30...35 мм;
–для ребристых панелей (расположение арматуры в два ряда по высоте) – 50...60 мм.
3.4.2. Расчет прочности нормальных сечений
Расчет прочности нормальных сечений производится в соответствии с [2, п. 3.16] (см. рис. 24). Предполагается, что продольной сжатой арматуры по расчету не требуется.
Требуемая площадь сечения растянутой арматуры определяется в зависимости от положения нейтральной оси:
M R |
b |
bI hI h |
0,5 hI 100. |
(26) |
|
f f 0 |
f |
|
При соблюдении условия (26) нейтральная ось проходит в пределах полки и сечение рассчитывается как прямоугольное с
шириной
bf I, т.е. определив
0 |
M |
|
|
, |
(27) |
R bI h2 |
100 |
||||
|
b f |
0 |
|
|
|
44
а) |
|
|
bkв |
|
|
|
h f |
|
|
||||||
|
|
|
|
|
|
|
|
|
|
|
|
|
|
|
|
h0 h
a
|
b |
1 |
b |
2 |
bk |
|
|
|
|||
|
|
|
|
|
|
As
б)
в)
b = 2∙ b1+∑ b2
г)
Рис. 24. К расчету прочности нормальных сечений:
45
а, б – действительное сечение; в – приведенное сечение; г – варианты напряженного состояния
находят по табл.7 коэффициент ν и подсчитывают требуемую площадь растянутой арматуры (см2):
As |
|
M |
(28) |
|
|
. |
|||
R ν h 100 |
||||
|
s |
0 |
|
|
При несоблюдении условия (26) нейтральная линия располагается в ребре. Параметр α0 определяется с учетом свесов полки:
|
M R |
bI b hI h |
0,5 hI 100 |
|
|
|||
0 |
b |
f |
f |
0 |
|
f |
. |
(29) |
|
R b h2 |
100 |
|
|||||
|
|
b |
0 |
|
|
|
|
|
По табл. 7 находим относительную высоту сжатой зоны ξ, которая должна быть сравнена с граничной ξR [2, п. 3.12]:
R |
|
|
|
|
|
, |
(30) |
|
R |
|
|
||||
1 |
s |
1 |
|
|
|
||
500 |
|
|
|||||
|
|
|
1,1 |
|
|||
где Rs расчетное сопротивление продольной арматуры по первой группе предельных состояний в МПа, ω = 0,85 – 0,008∙Rb, здесь Rb – расчетное сопротивление бетона сжатию в МПа с учетом коэффициента условийработыγb2 =0,9.
Если ξ ≤ ξR, требуемое количество растянутой арматуры (см2) вычисляем по формуле
A |
b h |
bI |
b hI |
Rb |
. |
(31) |
|
||||||
S |
0 |
f |
f R |
|
||
|
|
|
|
s |
|
|
Количество требуемой арматуры, подсчитанное по формуле (28) или (31), подбирается с минимально возможным превышением по сортаменту (табл. 8), с указанием числа, диаметра, класса арматуры и
ее площади, например, 4 ø16 АIII, АSФ = 8,04 см2.
Размещение принятой арматуры должно проводиться в соответствии с [2, п. 5.12; 5.18] и рис. 22. В многопустотных панелях обязательна установка стержней в крайних ребрах, в промежуточных возможна установка не в каждом ребре. Причем соблюдение симметрии не обязательно.
После размещения принятой арматуры необходимо провести корректировку значений а и h0.
Проверка прочности нормального сечения
46
47
|
|
|
|
|
|
|
|
|
|
Таблица 7 |
|
|
Значения ξ, ν и α0 |
для расчета прочности нормальных сечений |
|
||||||||
|
|
|
|
|
|
|
|
|
|
|
|
ξ |
ν |
α0 |
ξ |
ν |
α0 |
ξ |
ν |
α0 |
ξ |
ν |
α0 |
|
|
|
|
|
|
|
|
|
|
|
|
0,01 |
0,995 |
0,010 |
0,19 |
0,905 |
0,172 |
0,37 |
0,815 |
0,301 |
0,55 |
0,725 |
0,399 |
0,02 |
0,990 |
0,020 |
0,20 |
0,900 |
0,180 |
0,38 |
0,810 |
0,309 |
0,56 |
0,720 |
0,403 |
0,03 |
0,985 |
0,030 |
0,21 |
0,895 |
0,188 |
0,39 |
0,805 |
0,314 |
0,57 |
0,715 |
0,406 |
0,04 |
0,980 |
0,039 |
0,22 |
0,890 |
0,196 |
0,40 |
0,800 |
0,320 |
0,58 |
0,710 |
0,412 |
0,05 |
0,975 |
0,048 |
0,23 |
0,885 |
0,203 |
0,41 |
0,795 |
0,326 |
0,59 |
0,705 |
0,416 |
0,06 |
0,970 |
0,058 |
0,24 |
0,880 |
0,211 |
0,42 |
0,790 |
0,332 |
0,60 |
0,700 |
0,420 |
0,07 |
0,965 |
0,067 |
0,25 |
0,875 |
0,219 |
0,43 |
0,785 |
0,337 |
0,61 |
0,695 |
0,424 |
0,08 |
0,960 |
0,076 |
0,26 |
0,870 |
0,226 |
0,44 |
0,780 |
0,343 |
0,62 |
0,690 |
0,428 |
0,09 |
0,955 |
0,085 |
0,27 |
0,865 |
0,236 |
0,45 |
0,775 |
0,349 |
0,63 |
0,685 |
0,432 |
0,10 |
0,950 |
0,095 |
0,28 |
0,860 |
0,241 |
0,46 |
0,770 |
0,354 |
0,64 |
0,680 |
0,435 |
0,11 |
0,945 |
0,104 |
0,29 |
0,855 |
0,248 |
0,47 |
0,765 |
0,359 |
0,65 |
0,675 |
0,439 |
0,12 |
0,940 |
0,113 |
0,30 |
0,850 |
0,255 |
0,48 |
0,760 |
0,365 |
0,66 |
0,670 |
0,442 |
0,13 |
0,935 |
0,121 |
0,31 |
0,845 |
0,262 |
0,49 |
0,755 |
0,370 |
0,67 |
0,665 |
0,446 |
0,14 |
0,930 |
0,130 |
0,32 |
0,840 |
0,269 |
0,50 |
0,750 |
0,375 |
0,68 |
0,660 |
0,449 |
0,15 |
0,925 |
0,139 |
0,33 |
0,835 |
0,275 |
0,51 |
0,745 |
0,380 |
0,69 |
0,655 |
0,452 |
0,16 |
0,920 |
0,147 |
0,34 |
0,830 |
0,282 |
0,52 |
0,740 |
0,385 |
0,70 |
0,650 |
0,455 |
0,17 |
0,915 |
0,155 |
0,35 |
0,825 |
0,289 |
0,53 |
0,735 |
0,390 |
0,71 |
0,645 |
0,458 |
0,18 |
0,910 |
0,164 |
0,36 |
0,820 |
0,295 |
0,54 |
0,730 |
0,394 |
0,72 |
0,640 |
0,461 |
|
|
|
|
|
|
|
|
|
|
|
|
:условия из оси |
проверки Для |
Ф S |
прочности |
R |
|
s |
|
А |
|
R |
определяется |
. |
|
b |
|
b |
|
I f |
|
h |
|
I f |
|
(32) |
нейтральной положение |