Материал: 1799

Внимание! Если размещение файла нарушает Ваши авторские права, то обязательно сообщите нам

29

Рис. 20. План расположения ригелей и панелей (слева – ригель крестового сечения; справа – ригель прямоугольного сечения)

33

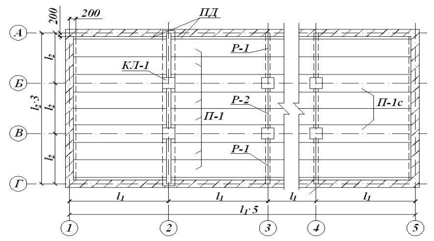
Привязку стен здания и их толщину рекомендуется принимать соответственно 200 и 640 мм (рис. 20).

Для обеспечения жёсткости здания в поперечном направлении и во избежание утяжеления надоконных перемычек обычно принимается поперечное расположение ригелей по осям простенков и продольное – панелей перекрытия.

Номинальная ширина каждой панели принимается одинаковой для всего перекрытия и вычисляется путём деления длины средней ячейки поперёк здания l2 на принятое количество панелей. Полученная номинальная ширина панелей должна быть в пределах

1,3…1,7 м.

а) ребристая панель

б) панель с круглыми пустотами

Рис. 21. Поперечное сечение панелей перекрытия

34

Раскладка панелей перекрытия показана на рис. 20. Участки, примыкающие к продольным стенам и имеющие ширину меньше номинальной ширины панелей, перекрываются доборными панелями. Конструктивная ширина панелей назначается на 20…30 мм меньше номинальной в соответствии с [2, п. 5.51].

Опалубочные размеры поперечного сечения панели принимаются в соответствии с рекомендациями табл. 1, 2, 3 и рис. 21.

Каждому конструктивному элементу присваивается марка, состоящая из буквенного индекса и порядкового номера. Например, панели перекрытия – П-1, П-1С и т.д.; ригели – Р-1, Р-2 и т.д., колонны – КЛ-1.

3. ПРОЕКТИРОВАНИЕ ПАНЕЛИ СБОРНОГО ПЕРЕКРЫТИЯ БЕЗ ПРЕДВАРИТЕЛЬНОГО НАТЯЖЕНИЯ АРМАТУРЫ ПО СНиП 2.03.01 – 84

3.1. Конструктивная схема

Производится расчёт и конструирование панели перекрытия, опирающейся на ригель. Ребристая панель устанавливается на прямоугольные ригели поверху и закрепляется сваркой закладных деталей. Пустотная панель укладывается на полки крестовых ригелей по слою цементно-песчаного раствора (рис. 22).

3.2. Расчётная схема и нагрузки

Поскольку возможен свободный поворот опорных сечений, расчётная схема панели представляет собой статически определимую однопролётную балку (см. рис. 22), загруженную равномерно распределённой нагрузкой, в состав которой входят постоянная, включающая вес пола и собственный вес панели, и временная.

Нормативную нагрузку (кН/м2) от собственной массы панели рекомендуется определять, как

gсн.в Aполн Aпуст ,

bн 100

где ρ = 2500 кг/м3 плотность железобетона; Аполн – площадь поперечного сечения панели по номинальным размерам, м2; параметры сечения панелей принимаются по ориентировочным

35

данным табл. 1 3. Апуст – суммарная площадь пустот в пределах габарита сечения, м2.

Таблица 1

Назначение высоты пустотной панели, мм

 

Полная

 

 

 

 

l1

 

 

 

 

 

 

 

 

 

 

 

 

 

 

 

временная

 

 

 

 

 

 

 

 

 

 

нагрузка,

 

5

5,5

6

6,5

 

7

 

 

кН/м2

 

 

 

 

 

 

 

 

 

 

 

 

 

 

 

 

 

 

 

 

 

 

 

 

3,0

 

200

220

230

240

 

260

 

4,5

 

220

230

240

260

 

270

 

6,0

 

230

240

260

270

 

280

 

7,0

 

240

260

270

280

 

290

 

8,0

 

260

270

280

290

 

300

 

 

 

 

 

 

 

 

 

 

Таблица 2

 

 

 

 

Назначение высоты ребристой панели, мм

 

 

 

Полная

 

 

 

 

l1, м

 

 

 

 

 

 

 

 

 

 

 

 

 

 

 

временная

 

 

 

 

 

 

 

 

 

 

нагрузка,

 

5

5,5

6

6,5

 

7

 

 

кН/м2

 

 

 

 

 

 

 

 

 

 

 

 

 

 

 

 

 

 

 

 

5,5

 

300

320

330

350

 

360

 

7,0

 

320

330

350

360

 

370

 

8,5

 

330

350

360

370

 

380

 

10,0

 

350

360

370

380

 

390

 

11,50

 

360

370

380

390

 

400

 

 

 

 

 

 

 

 

 

 

Таблица 3

 

 

Назначение толщины полки ребристой панели, мм

 

Полная

 

 

 

Номинальная ширина панели bH, м

 

 

 

временная

 

 

 

 

 

 

 

 

нагрузка,

 

 

1,3

1,4

1,5

1,6

 

1,7

 

 

кН/м2

 

 

 

 

 

 

 

 

 

 

 

 

 

5,5

 

50

 

55

 

 

60

 

 

7,0

 

 

 

55

 

60

 

 

 

 

8,5

 

55

 

60

 

 

65

 

 

10,0

 

 

 

60

 

65

 

 

 

 

11,5

 

60

 

65

 

 

70

 

36

В задании на курсовой проект указаны нормативные значения эквивалентной равномерно распределенной нагрузки от 1 м2 пола и от временной на междуэтажное перекрытие здания: длительно действующей pдлн и кратковременно действующей pкрн в кН/м2.

Коэффициенты надежности по нагрузке для временных равномерно распределенных нагрузок на перекрытия принимаются

согласно [3, п. 3.7]:

при pн < 2 кН/м2 γf = 1,3; при pн ≥ 2 кН/м2 γf = 1,2.

Коэффициент надежности по нагрузке от веса пола принимается равным 1,3 [3].

Коэффициент надежности по нагрузке от собственного веса панели перекрытия принимается равным 1,1 [3].

Подсчет нормативных и расчетных нагрузок с подразделением на длительно и кратковременно действующие выполняется в табличной форме (табл.4).

3.3. Статический расчет

Для выполнения расчетов по первой и второй группам предельных состояний нужно вычислить следующие усилия:

– изгибающий момент (кН∙м) от полной расчетной нагрузки

M q l02 ; 8

– изгибающий момент (кН∙м) от полной нормативной нагрузки

M н qн l02 ; 8

– изгибающий момент (кН∙м) от нормативной длительно действующей нагрузки

Mдлн qдлн l02 ;

8

– поперечную силу (кН) от полной расчетной нагрузки

37