Материал: 1798

Внимание! Если размещение файла нарушает Ваши авторские права, то обязательно сообщите нам

81

4. Выбираем передаточное отношение зубчатой передачи u23 = 4 и определяем передаточное отношение ременной передачи

u12 u13 18,98 4,75.

u23 4

5. Определяем частоту вращения 2- го вала:

n2 n3 n23 38,2 4 152,8об/мин. 6. Находим крутящие моменты на валах:

M

1

 

N1

 

9,55N1

 

9,55 7,5

0,099 кН м = 99 Н м;

 

n

 

 

 

 

725

 

 

 

1

1

 

 

 

M2 M1 u12 рп 99 4,75 0,95 447Н м = 0,45 кН м;

M3 M1 u13 99 18,98 0,92 1729Н м = 1,73 кН м.

Тали представляют собой простые по устройству и небольшие по размерам грузоподъёмные машины. Их используют для подъёма грузов, от 0,25 до 8 т, при монтаже и ремонте автомобилей, станков, других машин и оборудования, а также на различных вспомогательных работах, сопровождаемых подъёмом грузов, узлов машин, при складских работах и т.д. В зависимости от привода тали разделяют на ручные и электрические.

Ручные тали бывают: подвесные с червячным подъёмным механизмом и передвижные тали, которые могут передвигаться по монорельсу.

Электрические тали изготавливают в виде самостоятельных машин, предназначенных для подъёма или подъёма и горизонтального перемещения, или в виде механизмов в составе однобалочных мостовых, козловых, консольных кранов. Электрическая таль (рис. 4.3) состоит из барабана 2, на который навивается канат 3 для подъёма груза 4 (груз зацепляется с помощью крюка 5), барабан приводится во вращение от электродвигателя 7 через зубчатую передачу Z1...Z4. В электрических талях для согласования высокой скорости электродвигателя с низкой частотой вращения барабана (nэ= 1460 об/мин; n6 = 8 об/мин) , а также с целью обеспечения самоторможения, т.е. удерживания поднимаемого груза при остановке электродвигателя, кроме зубчатых передач вводится червячная передача. Для горизонтального перемещения барабан с электрическим приводом монтируется на тележке, которая с помощью колёс перемещается по монорельсу, т.е. по нижнему поясу двутавровой балки. Для повышения грузоподъёмности и снижения скорости подъёма в два раза крюк не прицепляют к концу каната, а подвешивают на подвижном блоке (рис. 4.10).

Расчёт тали аналогичен расчёту лебёдки.

82

6.2. Ленточный транспортёр

Ленточный транспортёр, или конвейер, – это транспортная машина, которая предназначена для непрерывного перемещения твёрдых и сыпучих тел на сравнительно небольшое расстояние. Например, сыпучий груз (зерно) доставляют на погрузочно-разгрузочную площадку, а затем с помощью ленточного конвейера транспортируют его внутрь склада. С помощью ленточного конвейера можно транспортировать сыпучий груз в мешках, овощи в ящиках и т.д. Обладая малыми габаритными размерами, небольшой мощностью приводного двигателя и высокой надёжностью, ленточные конвейеры получили широкое применение в сельском хозяйстве, промышленности, горнодобывающей сфере, в складском хозяйстве и т.д.

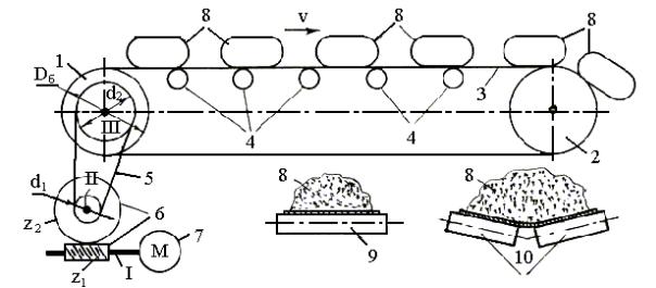
Рис.6.2

Ленточный транспортёр состоит из следующих основных частей: 1–

ведущий барабан; 2–ведомый барабан; 3 – прорезиненная лента; 4 – поддерживающие ролики; 5 – ременная или цепная передача; 6 – червячная передача; 7 – приводной электродвигатель; 8 – транспортируемый груз.

Ведущий барабан 1 получает вращение от приводного двигателя 7 через передачи 5 и 6. Прорезиненная широкая лента 3 охватывает ведущий 1 и ведомый 2 барабаны. Верхняя ветвь ленты поддерживается роликами 4 по всей длине. Ролики 4 могут быть горизонтальными 9 и V - образными 10. Груз 8 кладут на верхнюю ветвь ленты 3, которая непрерывно движется со скоростью v. В конце транспортёра груз 8 либо подхватывается рабочим, либо падает в приёмник, а если это сыпучая масса (песок), то она сыплется в приёмную тару или на пол в кучу.

Ленточные стационарные конвейеры и переносные конвейеры изготавливают в виде самостоятельных машин. Основные технические данные ленточных стационарных конвейеров общего назначения с

83

прорезиненной лентой: ширина ленты b = 400...1600 мм, диаметр приводного барабана db= 250...1600 мм , скорость движения ленты v= 0,6...3 м/с, расчётная производительность конвейера при горизонтальных поддерживающих роликах 9 (рис. 6.2) и плоской ленте Q = 15...1200 м3/ч, при V-образных поддерживающих роликах и желобчатой ленте Q =

25...2500 м3/ч.

Кинематический и силовой расчёты ленточного транспортёра разберём на примере. Окружное усилие на ведущем барабане (тяговая сила ленты) F=5 кН, окружная скорость барабана или скорость ленты v =0.25 м/с, диаметр барабана D6=250 мм. Произвести кинематический и силовой расчёты.

Ре ш е н и е

1.Определяем общий КПД привода транспортёра, если КПД ременной передачи рn =0,95 , а КПД червячной передачи чп= 0,6.

рn чп 0,95 0,6 0,57.

2.Определяем мощность электродвигателя. Полезная мощность транспортёра (на III валу барабана)

N3 F v 5 0.25 1.25кВт.

Мощность на валу электродвигателя

N1 N3 1,25 2,19 кВт.0,57

3. По таблицам выбираем асинхронный электродвигатель мощностью Nэ 2,2 кВт, частотой вращения nэ 1425об/мин.

4. Определяем общее передаточное отношение привода

u13 n1n3 ,

где

n

30 3

 

30 2v

 

30 2 0,25

19,1об/мин.

 

 

 

 

 

 

 

3

 

 

D6

0,25

 

 

 

После подстановки получим

 

1425

 

 

 

 

 

 

 

u

 

74,6.

 

 

 

 

 

 

 

 

 

13

19,1

 

 

5. Выбираем передаточное отношение ременной передачи u23 3 и определяем передаточное отношение червячной передачи

u12 u13 74,6 24,8.

u23 3

6. Определяем частоту вращения II-го вала

n2 n3 u23 19,1 3= 57,3об/мин.

84

7. Находим крутящие моменты на валах:

M

1

 

N1

9,55

N1

9,55

 

2,2

0,015 кН м;

 

 

 

 

 

 

n

1425

 

 

1

1

 

 

 

 

M2 M1 u12 чп 0,015 24,8 0,6 = 0,22кН м;

M3 M1 u13 0,015 74,6 0,57 = 0,63 кН м.

6.3. Шнековый транспортёр

Шнековый, или винтовой, транспортёр (конвейер) – это транспортная машина, предназначенная для перемещения сыпучих, кусковых и полужидких вязких тел. Например, шнековый транспортёр применяется для погрузки угля (или песка) в вагоны, для транспортировки металлической стружки, отходов литейного производства, для выдавливания сырой резины сквозь кольцо при изготовлении резиновых шлангов, для перемещения и выдавливания массы теста при изготовлении макарон и вермишели, кускового мяса при его рубке и при производстве колбас и т.д. В домашних условиях примером шнекового транспортёра может служить мясорубка.

Шнековый транспортёр, или винтовой конвейер, состоит из следующих основных частей: цилиндрического корпуса 1, внутри которого расположен винт или шнек 2 , состоящий из цилиндрического стержня диаметром d и винтовой ленты 5, приваренной к стержню; в корпусе 1 имеется горловина 3 для загрузки перемещаемой массы и горловина 4 для удаления перемещаемой массы; если транспортёр предназначен для выдавливания массы, то горловина 4 отсутствует, а масса выдавливается винтом через отверстия, сделанные в торце 6 корпуса; для сообщения винту 2 вращательного движения имеется передача от электродвигателя 7, состоящая из четырёх валов и шести зубчатых колёс Z1...Z6 .

Перемещаемую массу вводят через горловину 3 внутрь транспортёра. Вращающийся винт 2 захватывает своей винтовой лентой 5 поступающую массу и перемещает её вдоль оси винта со скоростью v. Если транспортер применяется для сыпучих тел, то в конце корпуса делают горловину 4, через которую уголь или песок высыпаются. Если транспортёр предназначен для выдавливания вязкой массы в резиновой или пищевой промышленности, то масса выдавливается через специальные отверстия в торце корпуса 1, принимая форму, соответствующую отверстию (или отверстиям).

Шнековые или винтовые транспортёры могут изготавливаться в виде самостоятельных машин или входить в состав машин по переработке массы. Основные технические данные шнековых транспортёров для транспортировки сыпучих грузов: диаметр шнека D=400...800 мм; длина

85

транспортёра 2...25 м; скорость перемещения груза v = 36...60 м/мин; расчётная производительность Q 2...15 м3/мин.

Кинематический и силовой расчёты шнекового транспортёра разберём на примере.

Требуется определить кинематические параметры и расчётные нагрузки шнекового транспортёра, производительность которого Q 3/мин; наружный диаметр винта D=400 мм; внутренний диаметр винта d=200 мм; шаг винта t=300 мм; транспортируемый материал – уголь, плотность которого 1500 кг/м3; длина винта (шнека) l=5м, общий КПД0,7; КПД передач зп 0,97.

Р е ш е н и е

Прежде всего, нужно установить зависимость между производительностью Q и частотой вращения винта n4 (т.к. винт является IV-м валом). Уголь транспортируется в кольцевом пространстве между жёлобом-корпусом 1 и цилиндрическим стержнем диаметром d.

Для транспортирования сыпучих тел обычно корпус делают открытым, а сыпучее тело транспортируют в полдиаметра. Объём угля между соседними витками винта, расстояние между которыми равно шагу

t, можно определить, если помножить площадь кольца S (D2 d2 ) на

4

длину шага t, а с учётом половины площади получим

Рис.6.3