Материал: 1798

Внимание! Если размещение файла нарушает Ваши авторские права, то обязательно сообщите нам

66

Различают рычаги одноплечные и двуплечные.

Уодноплечного рычага ось вращения расположена на одном из концов, а силы, действующие на рычаг, антипараллельны, т.е. параллельны

инаправлены в разные стороны (рис. 4.5).

Удвуплечного рычага ось расположена между точками приложения сил и силы параллельны (рис. 4.6).

На рисунках обозначены:G – нагрузка; F – сила, уравновешиваю-

щая нагрузку; 1

- плечо нагрузки G; 2 - плечо силы F.

Чтобы рычаг находился в покое, т.е. был уравновешен, сумма моментов относительно оси вращения А должна быть равна нулю:

Рис.4.5

 

 

 

Рис.4.6

MA G e1 F e2 0,

откуда

 

 

 

 

G 1 F 2

(4.14)

или

 

 

 

 

 

G

 

 

2

.

(4.15)

 

 

 

 

 

F

 

1

 

Сила F , приложенная к рычагу , во столько раз меньше нагрузки G, во сколько раз плечо силы 2 больше плеча нагрузки 1.

Для получения большого выигрыша в силе применяют систему рычагов (рис. 4.7). Двуплечный рычаг нагружен силой F. Точка В двуплечного рычага соединена канатом с точкой С одноплечного рычага. Через канат на одноплечный рычаг передаётся сила Т, которая поднимает нагрузку G.

Сила Т определится по формуле

Т = F 1 2 .

Нагрузка G находится по формуле

G = T 4 3 .

Если в эту формулу подставить значение Т, то получим

 

 

 

 

 

 

 

 

 

 

67

 

 

 

 

 

 

 

 

 

 

G = F

2

 

4

.

(4.16)

 

 

 

 

 

 

 

 

 

 

 

 

 

 

 

 

 

 

 

1

 

3

Если 1

3 , а 2

4 , то

 

 

 

 

 

 

 

 

 

 

 

 

 

 

 

 

2

2

 

 

 

 

 

 

 

 

 

 

 

G = F

 

.

(4.17)

 

 

 

 

 

 

 

 

 

 

 

 

 

 

 

 

 

 

 

 

 

 

 

 

 

 

 

 

 

 

 

 

 

 

 

 

 

 

1

 

 

 

 

 

 

 

 

 

 

 

Выбрав

 

 

рычаги

с

 

 

 

 

 

 

 

отношением

плеч

2 1 = 3

,

 

 

 

 

 

 

 

получим

для

 

одного

рычага

 

 

 

 

 

 

 

выигрыш в силе в 3 раза и для

 

 

 

 

 

 

 

системы двух рычагов - в 32 = 9

 

 

 

 

 

 

 

раз! А если применить три

 

 

 

 

 

 

 

рычага, то выигрыш получим в 33

 

 

 

 

 

 

 

= 27 раз!!

 

 

 

 

 

 

 

 

 

 

 

 

 

 

 

Сложные

 

системы

 

 

 

 

 

 

 

рычагов

дают

значительный

 

 

 

 

 

 

 

выигрыш в силе. Одну из таких

 

 

 

 

 

 

 

систем

используют

для

 

 

 

 

 

 

 

взвешивания

 

больших

грузов:

 

 

 

 

 

 

 

автомобилей, вагонов и др.

 

 

 

 

 

 

 

 

Рис.4.7

В этом случае огромный

 

 

 

 

 

 

 

 

 

 

вес G автомобиля или вагона уравновешивается маленьким весом гири F:

 

 

 

 

 

 

 

 

 

2

n

 

 

 

 

 

 

 

 

 

 

G F

 

 

 

 

 

 

(4.18)

 

 

 

 

 

 

 

 

 

 

 

 

 

 

 

 

 

 

1

,

 

 

 

 

 

 

 

 

 

 

 

 

 

 

 

 

где n – показатель степени, указывающей число рычагов в системе. Пусть вес автомобиля с грузом составляет 6 т, что в системе СИ

составляет 60 кН. Какую гирю нужно положить, чтобы уравновесить вес автомобиля, если отношение длин рычагов l2 5, а число рычагов – 4?

 

 

G

 

 

60000

 

60000

l1

F

 

 

 

 

96 Н = 9,6 кгс.

 

 

 

 

n

5 4

 

 

 

 

2

 

 

625

 

 

 

 

 

 

 

 

 

 

 

 

 

 

 

 

 

 

 

 

 

1

 

 

 

 

 

 

 

 

 

 

 

 

 

 

 

 

 

 

 

 

2

 

n

 

 

Отношение плеч рычагов выбирают таким, чтобы

 

 

 

 

было кратно 10,

 

 

 

 

1

 

 

 

 

 

 

 

 

 

 

 

 

 

2

 

 

 

 

 

2

4

 

 

 

5,62,то

 

 

 

 

1000. Тогда

100 или 1000. Например, если выбрать

 

 

 

 

 

 

 

 

 

 

 

 

1

 

 

 

 

1

 

 

68

при взвешивании автомобиля весом 6 т на весы нужно будет положить гирю массой 6 кг.

4.3.3.Ворот, блоки и полиспасты

Кразновидностям рычагов относятся ворот, блоки и полиспасты.

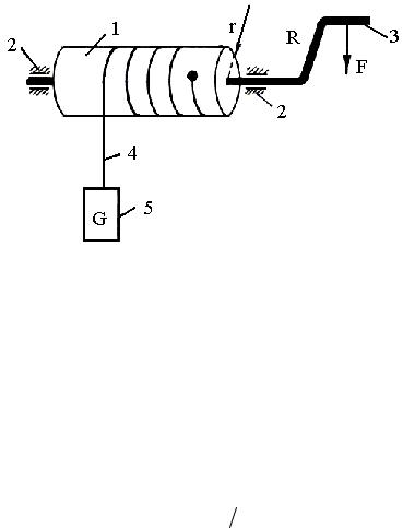
Рис.4.8

Ворот – это цилиндрический барабан 1, установленный на подшипниках 2 и снабженный рычагом 3 для вращения барабана. Примером может служить колодезный ворот. При вращении рычага 3 канат 4 наматывается на ворот 1 (барабан) и груз 5 поднимается. Плечо рычага R делает больше радиуса ворота r, чтобы получить выигрыш в силе.

Из равенства моментов, приложенных к вороту и рычагу

G r F R ,

находим

 

G F R r.

(4.19)

Сила F1, приложенная к рычагу ворота, во столько раз меньше поднимаемого груза G, во сколько раз плечо рычага R больше радиуса ворота r.

Блок 1 представляет собой колесо (рис. 4.9), на ободе которого имеется желобок, в котором помещается канат 2, огибающий блок.

К одному концу каната крепят груз G, а к другому прикладывают силу F. Так как ось закреплена, блок называют неподвижным. Он может только вращаться вокруг своей оси.

Условие равновесия блока

G r F r ,или G = F.

Выигрыша в силе у неподвижного блока нет. Канат растягивается одной и той же силой. Это правило присуще для всех схем с блоками и канатами.

69

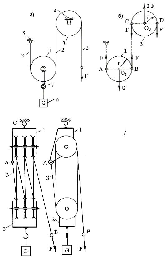
Рассмотрим схему подвижного блока с неподвижным (рис. 4.10, а).

Подвижный блок отличается от неподвижного тем, что ось его не закреплена и он может перемещаться вместе с осью. Подвижный блок 1 висит на двух ветвях каната 2, который огибает его снизу. Далее канат 2 огибает неподвижный блок 3, установленный на неподвижной оси 4. Один конец каната прикреплен к опоре 5, а за другой конец тянут его силой F. Груз 6 крепится к крюку 7, который прикреплен к оси

Рис.4.9

подвижного блока 1. Из рисунка видно, что груз 6 вместе с блоком 1 висит на двух ветвях каната. Составим расчетную схему (рис. 4.10, б). Для этого освободим блоки (тела) от связей, т.е. канатов, и заменим связи реакциями. Так как сила натяжения всего каната едина и равна силе F, то реакции связей будут равны силе F.

Рассмотрим равновесие блока 1 (рис. 4.10, б). Все силы действуют вертикально, поэтому на горизонтальную ось они проектируются в нуль. Груз G обычно задан, поэтому количество неизвестных равно одному, т.е. силе F. Достаточно составить уравнение равновесия

2 F = G, или F G 2.

(4.20)

Выигрыш в силе получается в два раза.

Полиспаст состоит из группы неподвижных блоков 1 и группы подвижных блоков 2. Канат 3 закрепляют одним своим концом к неподвижной группе блоков в точке А. Затем он пропускается через первый блок подвижной группы, через первый блок неподвижной группы и т.д. Второй конец каната, переброшенный через последний блок неподвижной группы, опускается вниз и к нему в точке В прикладывается сила F.

Груз подвешен к группе подвижных блоков 2, которая висит на

3 2 = 6 ,

т.е. шести канатах: три блока по два каната получается шесть. Уравнение равновесия будет иметь вид

G = 2 3 F.

(4.21)

Если число подвижных блоков в полиспасте обозначить буквой n,

число канатов будет равно 2n, тогда уравнение примет вид

 

G = 2 n F

(4.22)

70

Рис.4.10

или

F G 2n.

(4.23)

Итак, если число подвижных блоков равно 3, то выигрыш в силе равен 6.

Рис.4.11