Материал: 1661

Внимание! Если размещение файла нарушает Ваши авторские права, то обязательно сообщите нам

отсосом воздуха применяют для удаления тяжелых газов и пыли при отсутствии источников тепла в шкафу. Шкафы с верхним отсосом применяют для процессов, сопровождающихся выделением тепла. Комбинированный (нижний и верхний) отсос устраивают в химических лабораторных вытяжных шкафах.

Объемный расход воздуха L, м3/ч, отсасываемого вытяжными шкафами при механической вытяжке, определяется из условия отсутствия выбивания загрязненного воздуха из шкафа и с учетом токсичности выделяющ хся веществ по формуле

L 3600 F2

где υ – средняя скорость всасывания в сечении открытого проема, м/с; F – площадь открытого (рабочего) проема шкафа, м2.

 

 

 

 

Таблица 1

 

 

Рекомендуемые скорости всасывания воздуха в проемах

 

вытяжных шкафов при некоторых производственных операциях

 

 

 

 

 

 

 

Про

зводственные операции

Основные вредные

Скорость

 

выделения

всасывания м/с

 

 

 

 

 

 

Плавка

розл в св нца (t=400°C)

эрозоль свинца и

1,5 - 1,7

 

 

 

 

окислов

 

 

 

 

Гальваническое свинцевание

Фтористый водород

1,5

 

 

Пайка свинцом или третником

эрозоль свинца и дым

0,7

– 1,6

 

 

 

Пайка без свинца

эрозоль металла

0,4

– 0,5

 

 

Работа со свинцом при интенсивном

эрозоль свинца и

2 – 2,5

 

 

 

движении в шкафу

окислов

 

 

 

 

Работа с ртутью без нагрева

Пары ртути

0,8

– 1,1

 

 

 

 

То же, с нагревом

То же

1,1

– 1,3

 

 

Электролитические обезжиривание

Туман щелочей

0,6

– 0,8

 

 

Работа на лабораторных

Газы и пары при

 

 

 

 

полузаводских установках

допустимой

 

 

 

 

 

 

концентрации, мг/м3:

0,5

 

 

 

 

о 10

0,7 – 1

 

 

 

 

От 10 до 1

1, 2 – 1,5

 

 

 

 

Ниже 1

 

 

 

 

Операции с особо вредными

Радиоактивные вещества,

2

– 3

 

 

СибАДИ

 

 

 

 

веществами

теллур, бериллий

 

 

 

 

Промывка в бензине

Пары бензина

0,5

– 0,6

 

 

Работа в лабораторных шкафах

Различные пары и газы

0,3

– 0,5

 

 

Гидропескоструйная очистка (при

Силикатная пыль

1 – 1,5

 

 

 

закрытом проеме)

 

 

 

 

6

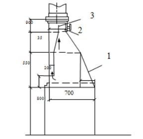
Р сунок 3 – Вытяжной шкаф с комбинированным отсосом:

1 – плоскость ра очего отверстия; 2 – люк; 3 – свободный конец стального листа для регулировки

Среднюю скорость всасывания в открытом проеме шкафа рекомендуется пр н мать по данным табл. 1 и по действующим нормат вам.

Площадь открытого (ра очего) проема лабораторного шкафа составляет 40-50% площади проема при полном раскрытии дверок шкафа.

Вытяжка из нижней зоны ла ораторных шкафов с комбинированным (нижним верхним) отсосом составляет 30-50% общей вытяжки из шкафа. Остальное количество воздуха удаляется из верхней зоны.

Пример расчета

Исходные данные: оборудование стоит в помещении 12x12 метров, высотой 8 метров.

В помещении расположено:

- пескоструйная камера 1 м x 1 м x 2 м, диаметр выбросного патрубка 315 мм, скорость воздуха в нем на всасе 7 м/сек.

Цель работы: определить расход воздуха, удаляемого от камеры –

Lк, м3/час.

Ход работы: расход воздуха, удаляемого от пескоструйной камеры:

 

 

 

 

3

 

 

СибАДИ

LПК 3600 Fпр пр 3600 0,078 7 1965м

 

/ч,

 

где Fпр – площадь выбросного патрубка

 

 

 

 

Пd2

3,14 0,3152

 

 

2

F

 

 

0,078м

 

4

 

пр

 

4

 

 

 

v – средняя скорость всасывания в сечении открытого проема, для пескоструйной камеры v=0,8 м/с.

7

3. БОРТОВЫЕ И КОЛЬЦЕВЫЕ ОТСОСЫ

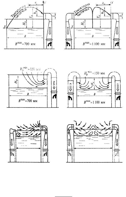
Бортовые отсосы. Бортовые отсосы применяют для удаления вредных выделений с поверхности растворов, находящихся в различных ванных, где происходят процессы металлопокрытия и травления. Различают однобортовые отсосы, когда щель отсоса расположена вдоль одной из длинных сторон ванны. Двухбортовые, когда щели расположены

СибАДИу двух противоположных сторон, и угловые – при расположении щелей у двух соседн х сторон.

Бортовой отсос называют простым (рис.4, а), когда щели расположены в верт кальной плоскости, и опрокинутым (рис.4, б), когда щели расположены гор зонтально в плоскости, параллельной зеркалу ванны. Чем токс чнее выделения с зеркала ванны, тем ближе их нужно прижать к зеркалу, что ы не допустить попадания вредных веществ в зону дыхания работающ х у ванн.

Рисунок 4 – Бортовые отсосы: а – простой; б – опрокинутый

Простые отсосы следует применять при высоком стоянии уровня раствора в ванне, когда расстояние до щели отсоса H составляет менее 80150 мм; при более низком стоянии уровня раствора (H=150, 300 мм и более) значительно меньшего расхода воздуха требуют опрокинутые бортовые отсосы.

Расход воздуха на все виды бортовых отсосов тем больше, чем больше ширина ванны B, выше температура раствора чем ближе к поверхности раствора необходимо прижать поток с учетом токсичности выделений.

Определение расхода воздуха, отсасываемого от горячих ванн. Расход воздуха, отсасываемого от промышленных ванн, впервые теоретически определил инж. И. Л. Виварели.

При работе бортового на частицу воздуха, находящуюся у поверхности раствора в ванне, действуют подъемная сила и сила всасывания. Под влиянием их частица движется по криволинейной траектории.

8

СибАДИ

 

 

 

 

а

 

б

 

 

 

 

 

а

 

б

Р сунок 5 – Односторонний (а) и двухсторонний (б) отсос от гальванической

 

 

 

 

 

ванны

 

 

 

 

 

а

 

б

Рисунок 6– Схема опрокинутого одностороннего (а) и двухстороннего (б)

 

 

 

 

 

 

 

 

 

 

 

 

 

 

 

 

 

 

 

B>1100м

 

 

 

 

 

 

 

 

 

 

 

 

 

 

 

а

 

б

 

 

 

 

Рисунок 7 – ортовый отсос со сдувом:

 

 

 

 

а – с боковым; б – с центральным

3

/ч,

удаляемого бортовыми отсосами

Объемный расход воздуха L, м

всех видов может быть определен по формуле

L q3tв tпомlKH K ,

где q – удельный расход воздуха, м3/ч на 1 м длины ванны, определяемый в зависимости от высоты спектра вредных выделений h и ширины ванны B;

l – длина ванны, м;

KH – поправочный коэффициент на глубину уровня раствора в ванне;

9

Kυ – поправочный коэффициент на скорость движения воздуха в помещении; Для опрокинутых отсосов расчетную ширину ванны принимают

меньше фактической на ширину щелей. При однобортовых отсосах

B B b2;

При двухбортовых отсосах

 

СибАДИ

 

 

B B 2b.

где Bʹ

B˝ - расчетная ширина ванны соответственно при одно- и

двухбортовых отсосах; B – ширина ванны без отсоса; b – ширина (высота)

щели отсоса.

 

 

 

Ш р ну

(высоту) щели отсоса

по конструктивным и

технолог ческ м соо ражениям принимают равной 0,1 B, но не менее 50

мм.

 

 

 

Для всех ванн с н зкими температурами (холодные ванны) разность

∆t=tв – tпом следует пр н мать не менее 10°C.

 

В целях эконом

расхода воздуха на отсос глубину уровня раствора

H для одно-

двух ортовых опрокинутых и однобортовых простых

отсосов необход мо пр нимать не более 120-200 мм, для двухбортовых

простых отсосов – не

олее 80-100 мм.

 

При отводе воздуха от ортовых отсосов необходимо обеспечивать,

равные скорости по всей длине щели борта.

ля этого щель, имеющую на

всем протяжении постоянную высоту, разбивают на ряд секций. Сужение воздуховода в основании секции не должно быть более 60°.

Пример расчета №1

Исходные данные: Рассчитать простой двух бортовой отсос для ванны хромирования шириной B=0,75 м, длиной l=1,2 м при температуре раствора в ванне tв=60°C и температуре воздуха в помещении tпом=16°C. Расстояние от зеркала ванны до кромки ее борта H=80 мм, скорость движения в помещении υпом=0,4 м/с.

Ход работы: Для ванны хромирования по табл. 2 принимаем высоту спектра вредных выделений h=40 мм.

По графику на рис. 8 при ширине ванны B=750 мм высоте спектра вредных выделений h=40 мм находим q=560 м3/(ч·м). При H=80 мм поправка на глубину уровня KH=1. Поправку на скорость движения воздуха в помещении при υпом=0,4 м/с и ∆t=60 – 16=44°C находим по графику на рис. 7 , б: Kυ=1, 57.

В этом случае расход воздуха для простого отсоса составит:

L 560360 16 1,2 1 1,57 3730м3 /ч

10