Материал: 1210

Внимание! Если размещение файла нарушает Ваши авторские права, то обязательно сообщите нам

56

отрицательным. Практически постоянное смещение, подаваемое на ЛПД, превышает пороговое. При этом высокочастотные пульсации не создают пробой, а модулируют лавинный ток. Для глубокой модуляции вольтамперная характеристика ЛПД должна обладать резким перегибом при напряжении пробоя.

В лавинно-пролетном диоде в пролетное пространство поступают уже сгруппированные сгустки носителей заряда, что существенно повышает эффективность взаимодействия.

Рассмотрим влияние объемного заряда на работу ЛПД. Носители заряда, возникающие в этом слое умножения, уменьшают напряженность электрического поля, что эквивалентно появлению в диоде внутренней отрицательной обратной связи. Если бы ток не отставал по фазе от электрического поля, то отрицательная обратная связь ограничила бы протекающий через диод средний ток. Отставание фазы тока от поля вносит запаздывание в цепь обратной связи. Оно на определенных участках облегчает условия самовозбуждения колебаний в системе. Действительно, при оптимальном энергообмене время запаздывания tЗ тока относительно поля составляет часть периода

СВЧ - колебаний. Отсюда получаем, что автоколебания при прочих равных условиях быстрее всего возникают на частоте f 0, 25tЗ .

Поскольку образование лавинного процесса и, соответственно, время запаздывания зависят от приложенного напряжения, изменение последнего обеспечивает электронное регулирование частоты генерации. Однако практически в связи с большой крутизной вольтамперной характеристики диода в области лавинного пробоя говорят об изменении не напряжения, а тока питания диода. Иногда внутренняя обратная связь может оказаться достаточной для возникновения в диоде автоколебаний, не требующих внешнего добротного резонатора.

Лавинно-пролетные диоды в непрерывном режиме могут обеспечивать мощность до 10 Вт в диапазоне частот более 10 ГГц и единицы ватт на частотах до 50 ГГц при КПД = 15 - 20 %. В импульсном режиме мощность может достигать 100 Вт при частоте генерации 10 ГГц и КПД = 60 - 70 %.

1.6.3 Cхемы и конструкции генераторов на лавинно – пролетных диодах и диодах Ганна

Генераторы на диодах могут работать как автогенераторы в автономном и синхронизированных внешним сигналом режимах, усилители и умножители частоты [3].

Конструкция диодных генераторов включает резонансную систему, элементы связи с нагрузкой и элементы подачи питания на диод. При этом генераторы на диодах Ганна и ЛПД в пролетном режиме (IМРАТТ - режиме) по эквивалентной схеме должны соответствовать работе диода в парал-

57

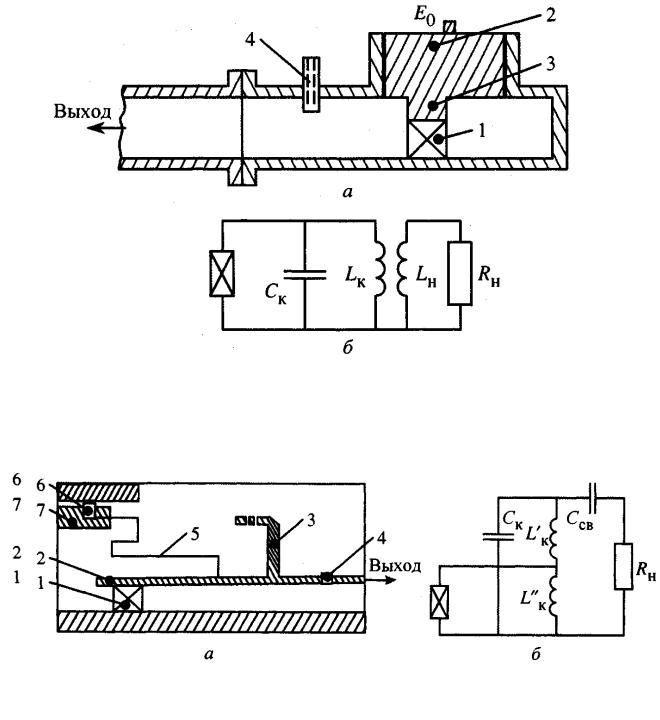
лельном резонансном контуре, а генераторы на лавинно-пролетных диодах в режиме с захваченной плазмой (TRAPATT-режиме) - в последовательном контуре [3]. Резонансные системы генераторов могут быть выполнены на основе коаксиальных, микрополосковых (рис. 12. 35) или волноводных резонаторов (рис.12.34).

Рисунок 1.34 - Волноводная конструкция генератора при работе диода в параллельном контуре

Упрощенное изображение волноводной конструкции при работе в па-

Рисунок 1.35 - Топология и эквивалентная схема микрополоскового диодного генератора

микрополоскового диодного генератора

раллельном контуре показано на рис. 1.34, а. Бескорпусный диод 1 установлен на широкой стенке волноводного резонатора, образованного короткозамкнутым участком волновода и участком от диода до винта 4. Напряжение смещения подается на диод через низкоомный коаксиальный четвертьволновый фильтр 2 и штырь 3, с помощью которого также осуществляется связь ре-

58

зонатора с диодом. Для регулировки связи с нагрузкой служит винт 4, настройка резонатора на требуемую частоту осуществляется изменением длины короткозамкнутого участка волновода. Такая конструкция соответствует параллельному колебательному контуру, ее эквивалентная схема показана на рис. 1.34, б.

На рис. 1.35, а показана возможная топология микрополоскового диодного генератора. Здесь диод 1, в зависимости от исполнения установленный планарно или вертикально, присоединен к резонансной системе, образованной полуволновым отрезком микрополосковой линии 2 и подстроечным шлейфом 3. Миниатюрный конденсатор 4 используется для связи резонансной системы с нагрузкой. Для подачи на диод напряжения питания служат четвертьволновый дроссель 5, блокировочный конденсатор 6 и контактная площадка 7. Эквивалентная схема генератора показана на рис. 1.35, б.

Усилители на диодах Ганна и ЛПД обычно выполняются по отража-

тельной схеме, проходная схема из-за двунаправленности на СВЧ используется редко. Структурные схемы отражательных диодных усилителей приведены на рис. 1.36. Для устойчивого усиления диод должен иметь стабильную отрицательную проводимость в широком диапазоне частот. Это достигается выбором режима работы диода и параметров согласующей цепи либо подбором характеристик диода.

Рисунок 1.36 - Диодные усилители СВЧ по отражательной схеме

Например, в диодах Ганна при значениях произведения ( n0 - концентрация электронов в образце; L - длина образца) n0L 1012 см2 и напряжении питания E0 3 4 UKP движущиеся домены в образце самопроизвольно не

возникают и диод имеет отрицательную проводимость в широком диапазоне частот. Это позволяет реализовывать на них усилители с полосой частот по-

59

рядка октавы, коэффициентом усиления до 20 дБ и выходной мощностью, близкой к выходной мощности в автогенераторном режиме.

Работа умножителей частоты на диодах Ганна и лавинно-пролетных диодах основывается либо на принципе синхронизации автогенератора частотой, близкой к субгармонике собственной частоты генерации, либо на выделении одной из высокочастотных гармонических составляющих тока или напряжения диода.

2НАДЕЖНОСТЬ РАДИОПЕРЕДАЮЩИХ УСТРОЙСТВ

2.1Общие сведения

Проблема надежности радиоэлектронной аппаратуры и в том числе радиопередатчиков, в последние годы приобретает все более важное значение, так как возрастает ответственность выполняемых ими функций, растет степень автоматизации и повышаются требования к качеству работы и экономической эффективности технических систем. Все чаще передатчиком(радиостанцией) управляет сам абонент - не специалист связи.

В некоторых случаях выход передатчика из строя крайне нежелателен (например, передатчиков телевизионного или звукового радиовещания, особенно при передаче важных сообщений), а иногда недопустим из-за тяжелых и даже катастрофических последствий (передатчики спутников или навигационных и взлетно-посадочных систем самолетов, аварийные радиостанции воздушных и морских судов, передающие буи спутниковой системы определения местоположения судов, самолетов, потерпевших аварию, КОСПАССАРСАТ и др.). В других случаях недостаточная надежность или сложность эксплуатации радиотехнических средств приводит к экономической нецелесообразности их использования (например, РРЛ с большим числом ретрансляций при низкой надежности аппаратуры экономически нецелесообразна).

Надежность любого технического устройства, в том числе и радиопередатчика, определяется качеством его разработки, обеспечивается в процессе изготовления и поддерживается во время эксплуатации.

Радиопередатчики являются сложными техническими комплексами, в состав которых входят радиоэлектронное и электросиловое оборудование, электромеханические и механические устройства и др. Число элементов в современном передатчике достигает 103...105 единиц; наблюдается устойчивая тенденция постепенного усложнения передатчиков вследствие перехода на более сложные виды модуляции (однополосную, широкополосную, импульс- но-кодовую), ужесточения технических требований, автоматизации и др. Нормальное функционирование РП зависит от многих факторов, влияние которых на их параметры и характеристики установить в виде определенных

60

функциональных зависимостей очень трудно или невозможно. К тому же большинство факторов (температура, колебания напряжения, отклонения от технологического процесса и др.) являются случайными величинами и процессами.

В доброкачественно разработанном, изготовленном и настроенном передатчике при правильной его эксплуатации выходы из строя (отказы) являются случайными событиями, поэтому расчеты и оценки надежности производятся вероятностно - статистическими методами.

Современные радиопередатчики разрабатывают, производят и эксплуатируют с обязательным учетом требований теории надежности [13 - 18], которая позволяет создавать их с требуемой высокой степенью надежности путем рационального выбора их структуры и схемы, элементов и деталей, режимов работы, резервирования наиболее ответственных и недостаточно надежных узлов, блоков, введения системы контроля технического состояния, позволяющей быстро обнаруживать возникшие неисправности и даже предсказывать их появление, и т.д.

2.2Основные понятия и количественные характеристики надежности радиопередатчиков

Надежность — это свойство объекта (в том числе и радиопередатчика) сохранять во времени в установленных пределах значения всех параметров, характеризующих способность выполнять требуемые функции в заданных режимах и условиях применения, технического обслуживания, хранения и транспортирования [19]. Надежность является сложным свойством, которое в зависимости от назначения объекта и условий его применения состоит из сочетания свойств: безотказности, долговечности, ремонтопригодности и сохраняемости.

Для большинства связных и вещательных радиопередатчиков, являющихся восстанавливаемыми изделиями длительного, многократного пользования, основными свойствами являются безотказность и ремонтопригодность (а в некоторых случаях — и долговечность).

Безотказность — это свойство непрерывно сохранять работоспособность в течение некоторого времени работы, называемого в теории надежно-

сти наработкой.

Долговечность также означает свойство сохранения работоспособности, но с учетом технического обслуживания, профилактик, ремонтов до наступления предельного состояния, когда израсходован технический ресурс, восстановление параметров и характеристик передатчика путем ремонта становится нецелесообразным и эксплуатация его прекращается.

Ремонтопригодность — это свойство приспособленности к предупреждению и обнаружению отказов, повреждений и устранению их последствий путем проведения ремонтов и технического обслуживания.