Материал: Вторичный источник электропитания

Внимание! Если размещение файла нарушает Ваши авторские права, то обязательно сообщите нам

Вторичный источник электропитания

МИНОБРНАУКИ РОССИИ

Федеральное государственное бюджетное образовательное учреждение

высшего профессионального образования

"Тульский государственный университет"

Институт высокоточных систем им. В.П. Грязева

Кафедра "Приборы управления"






Курсовой проект

"Вторичный источник электропитания"


Выполнил:

студент группы 121111

Колкова О.В.

Проверил: проф. д.т.нкаф.ПУ

Иванов Ю.В.




Тула 2014г.

ЗАДАНИЕ

Номинальное напряжение питающей сетиUc=40 В; частота напряжения питающей сетиfc=1000 Гц; пределы изменения напряжения сети ac=10% и bс=10%; номинальное выходное напряжение Uн=5 В; пределы регулировки выходного напряжения Uн max=7 Ви Uн min=4 В; пределы изменения тока нагрузки Iн max=1 А и Iн min=0.5 А;максимальная температура окружающей среды tокр max=+60°Cи минимальная температура окружающей среды tокр min=60°C; коэффициент стабилизации Kст>100; внутреннее сопротивление rн<0.1 Ом; амплитуда пульсации на выходестабилизатораUпул=10 мВ; температурный коэффициент напряжения γн<15 мВ/°С.

Графическая часть представлена на листах фората А1. Первый листсхема электрическая принципиальная, второй листплата печатная и третий листсборочный чертеж. В конце пояснительной записки приведена спецификация на сборку.

СОДЕРЖАНИЕ

Введение

. Выбор схемы

.1 Расчет источника опорного напряжения

.2 Расчет стабилизатора

.3 Выбор схемы и расчет выпрямителя

.4 Определение значения емкости фильтра

.5 Расчет регулирующего элемента

.6 Расчет выходного делителя

. Расчет трансформатора

.1 Расчет габаритной мощности. Выбор типоразмера магнитопровода

. Расчет теплоотвода

. Печатная плата

Заключение

Список используемой литературы

Приложение 1

Приложение 2.

Спецификация

ВВЕДЕНИЕ

Источники вторичного электропитания (ИВЭП) предназначены для получения напряжения, необходимого для питания различных электронных устройств. Для работы электронных приборов необходимо постоянное напряжение, величина которого обычно не превышает нескольких вольт. Вторичные источники получают энергию от первичных источников: сети переменного тока, аккумуляторов и т. д.

Структурная схема ИВЭП, получающего энергию от сети переменного тока, показана на (рис. 1). Трансформатор предназначен для изменения уровня переменного напряжения и гальванической развязки выпрямителя и питающей сети. Выпрямитель преобразует переменное напряжение синусоидальной формы в пульсирующее напряжение одной полярности. Сглаживающий фильтр уменьшает пульсации напряжения на выходе выпрямителя. Стабилизатор уменьшает колебания напряжения на нагрузке.

Рис. 1. Структурная схема ИВЭП

Рассмотренный источник питания имеет большие вес и габариты, определяемые, прежде всего размерами трансформатора и сглаживающего фильтра. В настоящее время такие ИВЭП вытесняются преобразовательными устройствами, работающими на частотах, составляющих десятки и сотни килогерц. При этом удается значительно уменьшить размеры и вес устройства

. ВЫБОР СХЕМЫ

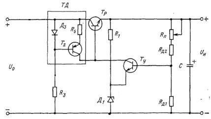
Для обеспечения заданных параметров выходного тока и напряжения применим схему с коллекторной нагрузкой усилителяTу(рис.3).Регу-лирующийэлемент будет состоять из каскада кремниевых транзисторов, соединённых по схеме (рис.2).

Рис.2. Составной регулирующий транзистор

Рис.3.Схема транзисторного стабилизатора с внутренним источником опорного напряжения.

Когда в качестве коллекторной нагрузки усилителя Tу используется токостабилизирующий двухполюсник ТД, то минимальное напряжение на T1при трех кремниевых транзисторахT1,T2 и Т3 будет не меньше 3В.

1.1 Расчет источника опорного напряжения

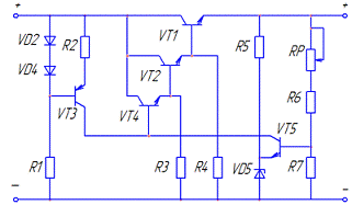
В качестве источника опорного напряжения VD5применим стабилитрон типа 2С133А (см. приложение 1 п.3.), исходя из того что:

, где

напряжение стабилизации

У стабилитрона 2С133А напряжение стабилизации лежит в пределах от 33.6 В, температурный коэффициент напряжения ТКН равен 3.3 мВ/°С.

Определим ТКН для нашей схемы и сравним его с заданным в исходных данных:


величина γу для транзисторов имеет разброс от 1.9 до 2.5мВ/°С,


Получили: условие выполняется.

В качестве VD2 и VD4 примем диоды Д223. (см. приложение 1 п.3.).

.2 Расчет стабилизатора

На основании вышесказанного принимаем схему, показанную на рис.4

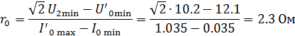
Принимаем минимальное коллекторное напряжение транзистора VT1UКЭ2 min=3 В.

Зададимся амплитудой пульсации на входе стабилизатора U0~=1 В и определим минимальное напряжение на входе стабилизатора:

Рис.4.Схема транзисторного стабилизатора напряжения


Минимальное потребление тока стабилизатором Iomin при U0min , Uн minиIн min

слагается из токов, которыми мы задаемся:

Ток через резистор R5: IR5=5м А;

Ток через резистор R1: IR1=12 мА;

Ток через резистор R2: IR2=2 мА;

Ток через резисторы R3 и R4: IR3=IR4=5м А;

Полагаем, то транзисторы VT1иVT2 кремниевые, для которых IКБ 0 max=5 мА:


Принимаем 35 мА.

Максимальное потребление тока от выпрямителя Iomaxпри Uсmin , Uн minиIн maxопределим по формуле:


Более точное значение тока  получим в конце расчета

.3 Выбор схемы и расчет выпрямителя

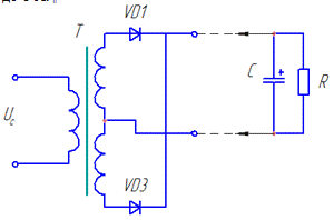
Для наших исходных данных целесообразно использовать двухполупериодную схему выпрямителя (рис.5). Такой выпрямитель работает на фильтр с емкостной реакцией, при напряжении меньше 100 В и токе нагрузки до 1 А.

Рис.5. Двухполупериодная схема однофазного выпрямителя

Данные для расчета:

Минимальное выпрямленное напряжение (при минимальном напряжении сети):

Максимальный ток нагрузки выпрямителя

Минимальный ток нагрузки выпрямителя ;

Амплитуда пульсаций выпрямленного напряжения U0~=1 В или кп=3%;

Напряжение питающей сети  (ас=0.1 и bc=0.1);

Частота сети fc=1000 Гц

Определим средний ток нагрузки:


В качестве вентилей выбираем кремневые диоды типа 2Д217А

(см. приложение 1 п.3.), у которых:

Найдем расчетное значение минимального выпрямленного напряжения:


количество последовательно включенных и одновременно работающих вентилей (в нашем случае ).

Активное сопротивление трансформатора


коэффициент, зависящий от схемы выпрямления ();

;

.


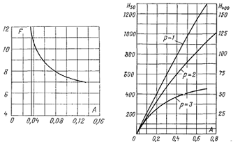
Рассчитаем параметр А:


;



Тогда

 

Определяем коэффициентыB,D,Fи H по графикам (рис.6 ирис.7):

Рис.6. Графики зависимостей В=f(A) и D=f(A) для выпрямителей с емкостным фильтром.

Рис.7. Графики зависимостей F=f(A) и H=f(A) для выпрямителей с емкостным фильтром.

Полученные коэффициенты: B=0.84; D=2.8; F=11; H=6.5

Определим параметры трансформатора:

) Действующее напряжение вторичной обмотки

при

при

при

 

2) Коэффициент трансформации


) Ток вторичной обмотки


4) Ток первичной обмотки


) Типовая мощность трансформатора


По типовой мощности и току вторичной обмотки выбирают трансформатор.

Определяем параметры вентилей:



Средний ток одного вентиля


Следовательно, вентили 2Д217А выбраны правильно.

.4 Расчет емкости фильтра


Выбираем емкость конденсатора по ГОСТу из стандартного ряда Е24 Сф=1000 мкФ, тип конденсатора К50-6 (см.приложение 1 п.1.):Сф=1000; .

Максимальное напряжение холостого хода выпрямителя

 

Усредненная величина внутреннего сопротивления выпрямителя при

 

1.5 Расчет регулирующего элемента

Вернемся к расчету стабилизатора. Полученные данные из расчета выпрямителя следующие:


Мощность рассеиваемая на транзисторе VT1при , , и


Исходя из значений


выбираем транзистор 2Т903Б (см.приложение 1 п.4.), у которого: