Курсовая работа (т): Внутритрубная ультразвуковая диагностика газонефтепроводов

Внимание! Если размещение файла нарушает Ваши авторские права, то обязательно сообщите нам

пропуск очистных скребков для очистки внутренней поверхности трубопровода от парафиносмолистых отложений, глиняных тампонов, а также удаления посторонних предметов;

пропуск дефектоскопа. Установка маркеров при первом пропуске снарядов-дефектоскопов осуществляется с интервалом 1,5-2 км. При втором пропуске снарядов-дефектоскопов установка маркеров производится в тех точках, где имелись пропущенные маркерные пункты при первом пропуске и где по данным первого пропуска снаряда-дефектоскопа имеют место потери информации. Перед запуском инспекционного снаряда персонал предприятия, выполняющего диагностические работы, обязан провести проверку исправности внутритрубного снаряда с составлением акта установленной формы[1].

3. Ультразвуковой неразрушающий контроль

Ультразвуковой контроль (УЗК) относится к акустическому виду неразрушающего контроля. Все многообразие акустических методов неразрушающего контроля основано на взаимодействии упругих сред (жидких, твердых и газообразных) с акустическими колебаниями и волнами. Они отличаются способами возбуждения колебаний и их регистрацией.

Из числа акустических методов чаще всего применяют ультразвуковую дефектоскопию (УЗД), ультразвуковую толщинометрию (УЗТ) и акустико-эмиссионный неразрушающий контроль. На УЗД в мировой практике приходится в настоящее время 60 % всего объема неразрушающего контроля.

В нефтегазовой отрасли УЗД применяют, например, при контроле корпусов вертлюгов, осей талевых блоков, замков бурильных труб, сварных соединений резервуаров и трубопроводов и т.д. УЗТ является основным методом определения остаточной толщины стенок нефтегазового оборудования. Акустико-эмиссионный контроль широко применяют для интегральной оценки технического состояния и оценки степени опасности, имеющихся дефектов различного оборудования, и в первую очередь емкостного: сосудов, трубопроводов и резервуаров различного назначения.

Первый патент (№ 11371) на метод неразрушающего контроля с использованием акустических ультразвуковых волн с приоритетом от 2 февраля 1928 г. выдан профессору Ленинградского электротехнического института Сергею Яковлевичу Соколову. Именно от этой даты мировая общественность ведет отсчет начала применения УЗД. По сравнению с другими методами неразрушающего контроля УЗД позволяет выявлять дефекты любой формы независимо от их глубины, обладает высокой производительностью, низкой стоимостью, возможностью контроля изделия при одностороннем доступе. Недостатками являются трудности контроля крупнозернистых материалов, а также тонкостенных изделий с толщиной 4 мм и меньше. Контроль изделий сложной формы требует разработки специальных методик или технологических инструкций [7].

.1 Акустические колебания и волны

Акустические колебания представляют собой механические колебания частиц упругой среды. Процессы распространения этих колебаний в среде называют акустическими волнами. Линию, указывающую направление распространения волны, называют лучом, а границу раздела колеблющихся частиц от неколеблющихся - фронтом волны.

Акустические колебания характеризуются частотой, интенсивностью и видом. Виды колебаний в основном определяются свойствами упругой среды и способом их создания. В жидкостях и газах, обладающих упругостью объема, акустические колебания распространяются с одинаковой скоростью во всех направлениях. В твердых телах, характеризуемых помимо упругости объема еще и упругостью формы (сдвиговой упругостью) и неодинаковостью деформаций растяжение-сжатие по различным направлениям (для анизотропных тел), закономерности распространения акустических волн значительно сложнее.

Колебания с частотой до 16...20 Гц называют инфразвуковыми. Колебания с частотой от 16...20 до (15...20) 103 Гц составляют диапазон слышимости, воспринимаемый человеческим ухом. При увеличении частоты колебаний звука более 20 кГц он переходит в ультразвук; при этом способность его распространения меняется: в воздухе способность распространения уменьшается, в твердых и жидких средах - увеличивается. При неразрушающем контроле металлических материалов используются частоты ультразвукового диапазона 0,5...25 МГц.

Распространение акустической ультразвуковой волны в материале происходит с определенной постоянной скоростью С, определяемой свойствами среды (следует отличать скорость ультразвуковой волны С от скорости колебания упругих частиц v, которая зависит от фазы колебаний). Распространение волны сопровождается образованием в материале зон, в которых частицы находятся в одинаковом колебательном состоянии (фазе). Минимальное расстояние между такими зонами называют длиной волны . Величина  связана со скоростью распространения С и частотой колебаний  выражением


Изменить длину ультразвуковой волны в конкретном материале можно только путем изменения частоты  возбуждаемых колебаний.

Направление колебаний частицы в твердых телах может быть различным по отношению к направлению распространения волны. По характеру смещения частиц и распространению колебаний волны бывают нескольких типов.

Для пояснения характера деформации твердого тела при распространении в нем

Продольными называют волны, когда частицы упругой среды колеблются в направлении распространения волны, подвергаясь при этом поочередно деформациям растяжения-сжатия. Скорость Сl, продольной волны определяют по формуле


Если частицы среды колеблются перпендикулярно направлению распространения, испытывая деформации сдвига, такие волны называют поперечными или сдвиговыми. Поперечные волны могут возникать только в твердых средах, обладающих сдвиговой упругостью. Скорость поперечной волны Сt ~ 0,55 Сl.

На поверхности твердого тела могут распространяться поверхностные волны (волны Рэлея). Они состоят из комбинации продольных и поперечных волн и имеют скорость распространения CS = 0,93Сt. Колебания частиц происходят по эллиптической траектории, при этом большая ось эллипса перпендикулярна поверхности. В металлах поверхностные волны практически затухают на глубине, превышающей 1,5. Вместе с тем поверхностные волны распространяются на большие расстояния, следуя изгибам поверхности. Если среда ограничена двумя поверхностями, расстояние между которыми соизмеримо с длиной волны, то в такой тонкой пластине распространяются нормальные пластинчатые волны (их называют также волнами Лэмба). Характеристики основных типов волн приведены в табл.1.

Таблица 1. Характеристика основных типов волн

В зависимости от источника возбуждения могут возникать и другие виды волн: сферические, возбуждаемые точечным источником, размеры которого меньше длины волны, цилиндрические, которые возбуждаются цилиндрическим источником (стержнем), длина которого значительно больше поперечных размеров, и др.

При проведении УЗД и УЗТ металла и сварных соединений используют в основном поперечные и продольные волны [2].

.2 Затухание ультразвука

Распространение ультразвуковой волны, вызванной колебательными движениями возбужденных частиц благодаря упругим силам между ними, сопровождается переносом энергии. Количество энергии, переносимое волной за 1 с через 1 см2 площади, перпендикулярной направлению распространения, называют интенсивностью ультразвука. Интенсивность ультразвуковых колебаний частиц обычно невелика (энергия волны не более 100 Вт/см2) и не выходит за пределы упругих деформаций, где напряжения и деформации связаны линейной зависимостью.

Интенсивность ультразвука по мере прохождения в среде уменьшается за счет ее волнового сопротивления z- Величина этого сопротивления, часто называемого характеристическим импедансом, зависит от плотности среды , скорости распространения волн С и определяется выражением


Размерность волнового сопротивления (характеристического импеданса) составит: [z]=. Заменим ( масса равна силе, деленной на ускорение). Отсюда размерность [z]=. Интенсивность ультразвука J пропорциональна квадрату амплитуды упругого смещения и квадрату частоты колебаний:

,

где U - амплитуда упругого смещения частиц среды; f-частота колебаний.

Из последнего выражения следует, что чем большим акустическим сопротивлением обладает среда, тем большая энергия требуется для возбуждения в ней волн заданной частоты и амплитуды. По мере прохождения волны от источника излучения амплитуда упругого смещения частиц уменьшается и интенсивность ультразвука падает. Затухание интенсивности происходит по двум основным причинам: поглощения и рассеяния. Коэффициент затухания а соответственно состоит из двух слагаемых:

,

где - коэффициент поглощения, определяемый вязкостью среды и частоты колебаний;

 - коэффициент рассеяния, зависящий от структуры, упорядоченности расположения и размера зерен кристаллов.

Поглощение - это процесс перехода энергии колебаний в тепловую, обусловленный трением колеблющихся частиц. Поглощение будет тем больше, чем больше частота колебаний. При рассеянии происходят преломление и трансформация ультразвуковых волн. Рассеяние обусловлено кристаллической структурой металлов и сплавов. При прохождении ультразвуковой волны через границы кристаллов волна частично отражается, преломляется и трансформируется. Рассеяние по этим причинам может быть значительным. Максимальное рассеяние имеет место при  ~ (1...4), где  - средний размер зерна.

В углеродистых сталях зерна состоят из большого числа хаотично расположенных мелких пластинок перлита и цементита (Fe3C). Размеры их значительно меньше длины волны, и затухание ультразвука определяется в основном поглощением. В аустенитных сталях и особенно в сварных соединениях происходит упорядочение ориентации кристаллов, а их размеры становятся соизмеримы с длиной волны. Поэтому в связи с повышенным рассеянием проведение УЗД таких сталей часто затруднено или невозможно.


,

где  - интенсивность ультразвука на расстоянии х от источника излучения, интенсивность излучения которого J0,

- коэффициент затухания.

Чем больше коэффициент затухания, тем значительнее ослабление ультразвука, а следовательно, меньше глубина его проникновения. Поскольку амплитуда волны пропорциональна корню квадратному из интенсивности ультразвука, влияние затухания на амплитуду описывается формулой


Для оценки ослабления в большинстве случаев нет необходимости определять интенсивность J или амплитуду U в абсолютных единицах. Чаще бывает достаточно определить их величину относительно некоторого постоянного (опорного) уровня (J0; Uo). В этом случае для выражения относительной величины J/J0 = U/Uo используют специальные единицы - децибелы. Число децибел N определяют по формулам

В практике УЗД, когда контролируется соотношение амплитуд колебаний, для определения N обычно используют вторую формулу.


Децибельная шкала очень удобна, поскольку амплитуды могут отличаться на 1...3 порядка, т. е. в 10, 100, 1000 раз. В единицах измерения это увеличение составит соответственно 20, 40, 60 дБ, т. е. это величины одного порядка. Кроме того, эти величины, согласно основным свойствам логарифмов, можно суммировать и вычитать. Например, если известно затухание (ослабление) ультразвука в децибелах при прохождении отдельных участков пути ультразвуковой волны, то результирующее затухание определится как сумма составляющих затухания на каждом участке.

Для пересчета относительных единиц U/UQ в децибелы и обратно можно воспользоваться табл. 2. [2].

Таблица 2.  Пересчет децибелов в относительные единицы

3.3 Способы получения и ввода ультразвуковых колебаний. Конструкция пьезопреобразователей

Существует ряд способов возбуждения ультразвуковых колебаний, в том числе механический, радиационный, лазерный, магнитный и др. В практике диагностирования в полевых условиях для получения и ввода ультразвуковых колебаний применяют специальные устройства - преобразователи, основанные на использовании электромагнитно-акустического (ЭМА) и пьезоэлектрического эффектов. Важным преимуществом ЭМА-преобразователей является возможность контроля бесконтактным методом через слой изоляции. Вместе с тем такие преобразователи, в силу их конструктивных особенностей и низкого коэффициента преобразования, используются для прозвучивания поперечными и продольными волнами по нормали к поверхности объекта контроля и применяются в основном для толщинометрии металлоконструкций.

Наиболее распространенным является способ, основанный на явлении пьезоэлектрического эффекта. Физическая сущность этого эффекта заключается в том, что при механическом растяжении или сжатии на поверхности пластин некоторых твердых материалов появляются электрические заряды противоположного знака - возникает прямой пьезоэффект; наоборот, при подаче на поверхность пластин переменных электрических зарядов пластина начинает сжиматься и разжиматься - имеет место обратный пьезоэффект. Такими свойствами обладает ряд природных и искусственных материалов: кварц, турмалин, сегнетова соль, титанат бария, цирконат-титанат свинца (ЦТС) и др. Схема возникновения прямого и обратного пьезоэффекта приведена на рис. 1.

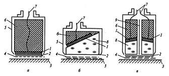
При реализации обратного пьезоэффекта механически вибрирующая пьезопластинка играет роль «молоточка», посылающего пучок упругих колебаний в контролируемый материал. Одновременно та же пластинка под действием прямого пьезоэффекта может служить преобразователем механических колебаний в электрические сигналы. Пьезопластинки являются основным элементом пьезоэлектрических преобразователей (ПЭП), предназначенных для возбуждения и приема ультразвуковых колебаний. Основные преимущества ПЭП, обусловливающие их широкое применение, - высокая эффективность преобразования (высокая чувствительность) и простота конструкции. Используют три основные схемы конструктивного исполнения контактных ПЭП (рис. 2): прямые, наклонные, раздельно-совмещенные.

Рисунок 1. Схема работы пьезопластины: а-прямой эффект, б - обратный эффект.

Рисунок 2. Основные типы пьезообразователей: а - прямой, б-наклонный, в - раздельно-совмещенный.