Материал: Удосконалення технології виробництва кальвадосів з яблучної сировини

Внимание! Если размещение файла нарушает Ваши авторские права, то обязательно сообщите нам

Оптимальні температури для розвитку та виявлення максимальної бродильної активності не завжди співпадають. Дріжджі вирощені при температурі, наприклад, 17 - 22 оС, мають велику бродильну енергію.

На життєдіяльність дріжджів значною мірою впливає активна кислотність середовища. Йони водню змінюють електричний заряд колоїдів плазмової оболонки клітин і залежно від концентрації можуть зменшувати чи збільшувати її проникливість для окремих сполук та йонів. Від значення рН залежить швидкість надходження поживних речовин в клітину, активність ферментів, утворення вітамінів. При зміні рН середовища змінюється і напрямок самого бродіння. Якщо рН зсувається в лужний край, то збільшується утворення гліцерину.

Життєдіяльність дріжджів зберігається у рамках рН середовища від 2 до 8; для їх вирощування оптимальним являється рН 4,8 - 5. При рН нижче 4,2 дріжджі продовжують розвиватися, тоді як ріст молочнокислих бактерій зупиняється. Цю властивість дріжджів використовують для пригнічення розвитку бактерій в інфікованому середовищі, яке підкислюють до рН 2,8 - 4 і витримують визначений час.

.3.2 Біохімічна схема процесу

Основним біохімічним процесом, що протікає під час виробництва кальвадосів, є спиртове бродіння.

Спиртове бродіння - процес анаеробного розпаду глюкози з утворенням етилового спирту в якості продукту. Реакція спиртового бродіння подібна гліколізу. Розбіжність починається тільки після утворення пірувату. Кінцевий етап гліколізу замінюється двома ферментативними реакціями [15].

Процес спиртового бродіння можна представити у вигляді схеми, яка зображена на рисунку 2.3.

Рисунок 2.3 - Загальна схема спиртового бродіння

Механізм спиртового бродіння можна розділити на наступні стадії:

) Приєднання до глюкози під впливом ферменту глюкокінази залишку фосфорної кислоти від аденозинтрифосфорної кислоти (АТФ). При цьому утворюються аденозиндифосфорна кислота (АДФ) і глюкозо-6-фосфорна кислота.

) Глюкозо-6-фосфорна кислота під дією глюкозофосфатізомерази перетворюється на фруктозо-6-фосфорну кислоту.

) Фруктозо-6-фосфорна кислота, отримуючи від нової молекули АТФ (за участю ферменту фосфофруктокінази) ще один залишок фосфорної кислоти, перетворюється на фруктозо-1,6-дифосфорну кислоту.

) Під впливом ферменту кетозо-1-фосфатальдолази фруктозо-1,6-дифосфорна кислота розщеплюється на гліцеринальдегідфосфорну і діоксіацетонфосфорну кислоти, які можуть перетворюватися одна в одну під дією ферменту тріозофосфатізомерази.

) Гліцеринальдегідфосфорна кислота, приєднуючи молекулу неорганічної фосфорної кислоти і окислюючись під дією ферменту дегідрогенази фосфогліцеринальдегіда перетворюється на 1,3-дифосфогліцеринову кислоту.

) Молекула діоксіацетонфосфорної кислоти під дією тріозофосфатізомерази дає другу молекулу гліцеринальдегідфосфорної кислоти, яка також піддається окисненню до 1,3-дифосфогліцеринової кислоти.

) 1,3-дифосфогліцеринова кислота, віддаючи АДФ (під дією ферменту фосфогліцераткінази) один залишок фосфорної кислоти, перетворюється на З-фосфогліцеринову кислоту.

) 3-фосфогліцеринова кислота під впливом ферменту фосфогліцеромутази перетворюється в 2-фосфогліцеринову кислоту.

) 2-фосфогліцеринова кислота під впливом ферменту фосфопіруватгідратази перетворюється в фосфоенолпіровиноградну кислоту.

) Фосфоенолпіровиноградна кислота за участю ферменту піруваткінази передає залишок фосфорної кислоти молекулі АДФ, в результаті чого утворюється молекула АТФ і молекула енолпіровіноградної кислоти, яка вельми нестійка і переходить в піровиноградну кислоту.

) Піровиноградна кислота за участю наявного в дріжджах ферменту піруватдекарбоксилази розщеплюється на оцтовий альдегід і двоокис вуглецю.

) Оцтовий альдегід, реагуючи з відновленою формою нікотинамідаденіндинуклеотиду (НАД-Н), за участю ферменту алкогольдегідрогенази перетворюється в етиловий спирт [16].

Таким чином, продуктами спиртового бродіння є етанол і вуглекислий газ. Спиртове бродіння супроводжується запасанням енергії у вигляді АТФ.

Сумарно реакцію можна записати так:



2.4 Блок-схема та опис технологічного процесу

Блок-схему процесу одержання кальвадосів зображено на рисунку 2.4.

Рисунок 2.4 - Блок-схема одержання кальвадосів

Стадії процесу виробництва кальвадосів можна розділити на підготовчі стадії (санітарна підготовка виробництва, підготовка персоналу, перевірка обладнання) та на стадії технологічного процесу.

Санітарна підготовка виробництва. Перед запуском виробництва необхідно провести підготовку виробничого персоналу до роботи та обладнання до експлуатації.

Підготовка персоналу. Перед початком роботи виробничий персонал повинен пройти санітарно-медичне обстеження та навчання, повинен отримати засоби індивідуального захисту тощо.

Перевірка обладнання на герметичність. Для гідравлічної перевірки посудин використовується вода з температурою 15 - 25 ˚С. При заповнені посудини водою повітря видаляється з внутрішніх порожнин. Час витримки посудини під пробним тиском 20 хв. Візуально перевіряється наявність негерметичних зварних швів за місцем протікання води. Після проведення гідравлічного випробування вода повністю видаляється з посудин. Водою для перевірки на герметичність відбувається одночасно миття обладнання.

Підготовка води. Технічну воду для охолодження набирають з річки, ця вода нефільтрована і скидається назад у річку після використання.

Воду для використання на стадіях технологічного процесу у якості компоненту (для розведення спирту перед витримкою та для використання на стадії купажування) попередньо піддають очищенню у відділенні водопідготовки, яка включає етапи грубої очистки, пом’якшення та тонкої очистки.

Підготовка пари. Водяна пара використовується для процесу дистиляції. Її утворення відбувається у спеціальних котлах при тиску 40 атм. Пару з високим тиском передають через турбіну когенерації електрики, щоб подавати пару низького тиску в 5 атм. для більшості технологічних стадій.

Підготовка сировини до бродіння. Технологічна схема (рисунок 2.5) передбачає підготовку привезеної сировини - яблук [17].

 

- прийомний бункер; 2 - гідротранспортер; 3 - установа для миття яблук; 4 - установа для подрібнення; 5 - прес-машина; 6 - ємність для збору соку (I фракція); 7 - ємність для збору невіджатої вижимки; 8 - шнековий прес; 9 - ємність для збору соку (II фракція).

Рисунок 2.5 - Технологічна схема переробки яблук на сік

При доставці і переробці яблук повинні бути прийняті запобіжні заходи для запобігання-попадання в сік солей заліза, які в подальшому можуть викликати потемніння продукту. Всі трубопроводи та обладнання, яке знаходиться в безпосередньому контакті з яблуками, повинні бути виконані з кислотостійких матеріалів або мати захисні покриття.

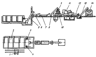
Для переробки яблук використовується автоматизована лінія для переробки яблук продуктивністю від 5 т / год, схема якої зображена на рисунку 2.6. Особливість лінії переробки яблук - в наявності гідравлічних транспортерів для переміщення плодів з бункерів, куди вони надходять із засобів доставки [18].

- розвантажувач; 2 - бункер-подавач; 3 - електронасосна установа; 4, 7, 11 - конвеєри; 5 - установа для миття; 6 - інспекційний конвеєр; 8 - дозуючі ваги; 9 - стікач; 10 - прес; 12 - бункер; 13 - пульт управління; 14 - дискова установа для подрібнення

Рисунок 2.6 - Схема поточної лінії переробки яблук

Яблука доставляються такими засобами, які захищають їх від механічних пошкоджень: у кошиках, ящиках або методом безтарного перевезення. У місцях переробки яблука зважують і від кожної партії відбирається середня проба, за якою визначається якість плодів, ступінь їх зрілості і хімічний склад. Тривалість зберігання яблук на майданчику до переробки не повинна перевищувати 48 годин. При більш тривалому терміні в плодах спостерігаються зміни в ароматі, помітно знижується вміст яблучної кислоти, збільшується кількість пектину. Ще більш глибоким змінам сприяють мікроорганізми, які викликають псування плодів. В концентратах ароматичних речовин соків, отриманих з якісних плодів, вміст спирту становить 1% об., з пошкоджених - 20-30% об. Тому для виробництва високоякісного продукту доцільна якнайшвидша переробка сировини, що надходить. При необхідності більш тривалого зберігання на заводі повинні бути обладнані холодильні камери з температурою 0-1 ° С.

Миття яблук. Яблука перед переробкою необхідно мити. Для мийки можуть бути використані гідравлічні транспортери, вентиляторні, барабанні або інші мийні машини. В процесі миття з яблук разом з брудом змивається восковий наліт (захисний шар), тому зберігання митих плодів недопустимо.

Для миття яблук використовується спеціалізована уніфікована установа КУМ або КУВ., продуктивністю до 10 т/год.

Подрібнення яблук. Чисті яблука подаються на подрібнення. Для цього застосовуються подрібнювачі різних систем. Щоб не випустити пошкодження вальців подрібнювачів сторонніми металевими включеннями перед дробарками встановлюються магнітні вловлювачі. Надмірне подрібнення небажано, тому що з м'якоті, перетвореної на пульпу, важко відокремити сік. Краща соковідача відбувається при подрібненні яблук в стружку товщиною 2-3 мм.

Для подрібнення яблук застосовують ножову дискову установу для подрібнення ВДР-5, продуктивністю 5 т/год.

Стікання соку. Перед пресуванням з мезги доцільно відбирати сік-самоплив. При використанні установ для стікання збільшується вихід соку і підвищується продуктивність пресів.

В якості установи використовують стікач камерного типу серії ВСК.

Він складається з резервуару спеціальної конфігурації, об’ємом 3 м3. Усередині резервуару встановлені перфоровані перегородки, стінки і діафрагми. У нижній частині розташовуються збірники та піддони для відводу сусла-самопливу і пристрої для розвантаження жому.

Пресування мезги. Віджим мезги виконують в основному на шнекових та пакетних пресах. При роботі на шнекових пресах великий вплив на вихід соку надає правильне регулювання тиску при пресуванні, оскільки в прес надходить мезга неоднорідна за своїми дренажними властивостями. При пресуванні мезги яблук з твердою плодовою тканиною тиск в гідросистемі запірного конуса слід підтримувати на рівні 8-10 МПа, для яблук з пухкої плодової тканиною достатньо тиску 3-5 МПа.

Вихід соку з перестиглих і лежалих плодів, як було зазначено вище, при роботі на шнекових пресах різко знижується, у жомі залишається велика кількість соку. Такий жом доцільно піддавати вторинному пресуванню на пакетних пресах.

Для пресування використовують двох-шнековий прес безперервної дії серії ВПО продуктивністю 5 т/год, зображений на рисунку 2.7.

- рама; 2 - редуктор; 3 - електродвигун; 4 - бункер; 5 - корпус; 6 - циліндр; 7 - пресувальний шнек; 8 - конус; 9 - блок управління; 10 - насос; 11 - опора; 12 - барабан; 13 - піддон; 14 - транспортувальний шнек

Рисунок 2.7 - Кресленик ВПО-5А

Мезга з бункеру 4 надходить на транспортувальний шнек 14. При цьому частина сусла через сітку корпусу стікає в його нижню частину і відводиться по патрубку. У міру просування мезги за допомогою транспортувального шнеку відбувається відбір сусла другої фракції, що стікає через перфорований циліндр в піддон.

Освітлення соку. Отримані соки повинні піддаватися освітленню центрифугуванням або відразу подаватися на бродіння, так як затримка процесу бродіння сприяє великим змінам ароматичних речовин яблук.

Приготування посівного матеріалу дріжджів

Підготовка поживного середовища (сусла). Набирають частину яблучного соку температурою 55 - 58 °С витримують від 1 до 2 год для оцукрювання складних вуглеводнів. Після чого температуру підвищують до 75 °С, пастеризують сусло протягом 30 хвилин і охолоджують до 30 °С.

Потім в охолоджене сусло додають розчин винної кислоти до кислотності рН = 3,8 - 4,0. Приготоване сусло охолоджують до 30 °С, стерильно набирають в пробірку і вносять музейну культуру дріжджів.

Вирощування дріжджів. При нормальній роботі заводу чисту культуру дріжджів виводять приблизно один раз в рік зазвичай з пуском заводу під час урожаю яблук.

Чисту культуру дріжджів з пробірки переводять в колбу з дробно пастеризованим яблучним суслом об'ємом 200 мл, з неї в бутель з 2 л пастеризованого виробничого сусла, а потім в бутель з 10 - 15 л такого ж сусла, в збірник з 500 л сусла і, нарешті, в дріжджовий апарат (головний бродильний чан). Температура процесу 20 °С, рН = 3,5 - 4,0.

Бродіння яблучного соку. Бродіння рекомендується проводити при низькій температурі протягом місяця. Отриманий виноматеріал повинен мати не менше 4% об. спирту і не більше 2,5 г/л летких кислот. Така технологія дозволяє отримувати виноматеріали високої якості, оскільки при низькій температурі відбувається велике накопичення і збереження ароматичних речовин, проте в процесі тривалого бродіння спостерігається значне зниження кислотності.

Оптимальною температурою бродіння слід вважати 20 °С, тому що при більш низькій температурі процес бродіння сильно подовжується, а при вищій - погіршується якість виноматеріалу за рахунок підвищеного накопичення летких кислот, вищих спиртів і збіднення виноматеріалу леткими ароматичними речовинами. У зв'язку з цим при бродінні соку у великих резервуарах, необхідно застосовувати штучне охолодження.

В процесі бродіння відбуваються суттєві зміни хімічного складу соку. Поряд зі збільшенням концентрації спирту, утворюються вищі спирти, які при взаємодії з нижчими карбоновими кислотами утворюють складні ефіри, які відіграють важливу роль у складанні аромату напою.

Практично яблучні виноматеріали, що йдуть на перегонку, не відрізняються за своїм хімічним складом від виноматеріалів, призначених для приготування сидру. Загальні вимоги до них полягають у наступному: колір - від зеленувато-солом'яного до світло-бурштинового; аромат - чистий, без сторонніх запахів; смак - гармонічний, не грубий, без сторонніх присмаків. В таблиці 2.4 наведені показники складу яблучного виноматеріалу.

Таблиця 2.4 - Показники складу яблучного виноматеріалу

Показник

Значення

1

2

Спирт, % об.

Не менше 4

Кислотність, г/л

Не менше 5

Леткі кислоти, г/л

Не більше 1,5

Цукри, г/100 мл

Не більше 0,2

Сульфітна кислота, мг/л

Не більше 50


У виноматеріалі допускається вміст залишків дріжджової гущі до 1%.

Дистиляція яблучного виноматеріалу. При отриманні яблучного спирту застосовуються два способи дистиляції - періодичний і безперервний [19].