Материал: ТКП-самостоятельная

Внимание! Если размещение файла нарушает Ваши авторские права, то обязательно сообщите нам

Задание 19 Синусное приспособление

Выполнить сборочный чертеж приспособления по рабочим чертежам его деталей и описанию устройства. Масштаб сборочного чертежа 2:1.

Прим еч ани е. Рабочие чертежи деталей 3, 5, 7, 10, 18, 21 и 22 не даны: дет. 3 — винт М4, ГОСТ 1491—72; дет. 5 — прокладка 2Х9Х120 из красной меди; дет. 7 — провод ПБО Ø1,5мм, ГОСТ 16512—70; дет. 10 — винт М6, ГОСТ 1491—72; 16 — гудрон масляный, ГОСТ

783—53; дет. 18 — винт М4, ГОСТ 1476—64*; дет. 21 шайба 3, ГОСТ 6958—68; дет. 22 —

гайка М3, ГОСТ 5915—70. Чертежи стандартных деталей следует найти по номеру ГОСТа в технических справочниках. Материал и недостающие размеры этих деталей выбрать в таблицах ГОСТов, учитывая их назначение в сборочной единице; необходимое количество этих деталей установить самим. Обозначения стандартных деталей в спецификации сборочного чертежа должны отвечать условным обозначениям, принятым в ГОСТах. Чертеж нестандартной дет. 5 выполните по приведенным выше размерам.

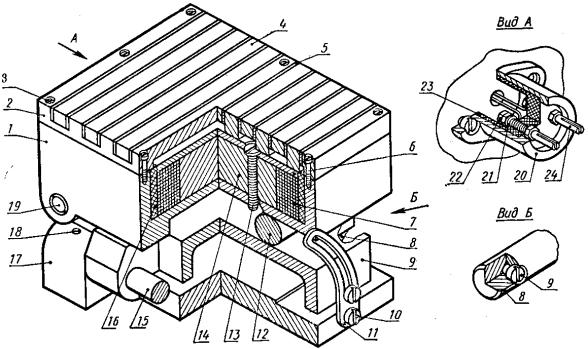
Устройство и работа приспособления. Синусное приспособление предназначено для установки под различными углами изделий при обработке их на шлифовальных станках. На электромагнитном столе приспособления можно быстро и надежно закреплять изделия разнообразной формы, поэтому приспособление является универсальным.

Приспособление собирают в следующем порядке.

Вначале собирают электромагнитный стол. На боковую поверхность сердечника электромагнита 14 высотой 30 мм наматывают провод 7 слоем толщиной 17 мм. Затем на сердечник накладывают планку 6 и скрепляют с ним винтами 13. Оба конца обмотки выводят в боковое отверстие Ø10 корпуса / электромагнита и сердечник в сборе вставляют в корпус 1 (планкой вверх) так, чтобы выступающие концы винтов 13 попали в отверстие Ø6,5 корпуса. Пространство между корпусом и обмоткой электромагнита заливают гудроновой массой 16 заподлицо с верхней плоскостью корпуса и пластины.

В пазы крышки 2 укладывают вставки 4 подрезами вниз. Между боковыми поверхностями вставок 4 и выступов крышки 2 закладывают прокладки 5 так, чтобы торцы деталей 4 и 5 оказались заподлицо с боковой поверхностью крышки 2. Затем крышку 2 соединяют с корпусом / винтами 3.

Электромагнит включают в сеть постоянного тока при помощи контакта, собираемого из деталей 20, 21, 22, 23, 24. На штыри 24 навинчивают гайки 22 до сбега резьбы, затем их вставляют в отверстия стакана 23 до упора (резьбой внутрь стакана). Концы проводов, выведенные в отверстие корпуса 1, зачищают и обматывают один-два раза вокруг штырей; затем на каждый штырь надевают шайбу 21 и завинчивают две гайки 22, одна из которых играет роль контргайки. После этого стакан вставляют в штуцер 20 до упора. Штыри служат для присоединения шнура от сети. Штуцер 20 скрепляют с корпусом винтами. Ролик 12 крепят к корпусу 1 винтами 10, оси гнезд которых просверлены в корпусе под углом 45°. На этом заканчивается сборка электромагнитного стола. Переходим к сборке поворотных устройств. К наклонной площадке плиты 9 крепят ролик 8 винтами 10. В паз шириной 90А нижней плиты 17 заводят плиту 9 так, чтобы оси отверстий Ø14А совпали, а ролик 8 оказался между плитами 9 и 17. Ось 15 вставляют в отверстия Ø14А ушек нижней плиты 9 и плиты 17 и соединяют эти детали шарнирно. Выпадению оси препятствует винт 18.

Кулису 11 прикрепляют винтами 10 к плите 17 на расстоянии 37 мм от торца так, чтобы вогнутая сторона ее была обращена к оси 15. В прорезь кулисы закладывают второй винт 10 и завертывают в гнездо детали 9. Свободными ушками с отверстиями Ø12А плиту 9 заводят в паз 80А корпуса / так, чтобы оси отверстий Ø12А на обеих деталях совпали, а ролик 12 оказался между корпусом 1 и плитой 9. В отверстия Ø 12А деталей 1 и 9 вставляют ось 19, соединяющую шарнирно эти детали. Ось стопорят на корпусе 1 винтом 18. Вторую кулису 11 крепят винтом 10 к детали 9; при этом вогнутая сторона кулисы должна быть обращена к оси 19.

Для наклона обрабатываемой детали на угол а под ролик 12 подкладывают блок концевых мер длины (по ГОСТу 9038—59) высоту Ъ которого подсчитывают по формуле (рис. 1) b = L sin α,

Поэтому такое приспособление называют синусным. Углы поворота плит можно изменять в пределах от 0 до 45°. После установки на нужный угол плиту закрепляют винтами 10 в кулисах 11. Наклон детали на второй заданный угол производят аналогично: под ролик 8 подкладывают блок концевых мер длины. Для упрощения расчета расстояние между центрами оси и ролика в каждой плите равно 100 мм.