Материал: Тестомесильная машина

Внимание! Если размещение файла нарушает Ваши авторские права, то обязательно сообщите нам

При выборе шпонки, ее необходимо рассчитать на смятие и на срез.

Расчет шпонки на смятие.

Напряжение смятия узких граней шпонки не должно превышать допускаемого, т. е. Должно удовлетворяться условие:

, (7.1)

где [σ]см  100 МПа [5, с.170] - допускаемое напряжение смятия для шпонки из стали 45;- сила, Н;

, (7.2)


(Н)

Асм - площадь смятия, мм;

По формуле (7.1) необходимо определить площадь смятия, при условии сохранения неравенства.

 (7.3)

(мм2)

Площадь смятия определяется по формуле:

 (7.4)

где l = 110 [5, с.169, табл. 8.9] - длина шпонки выбранная из стандартного ряда;

Из формулы (7.3) определяется разность:

(h - t1) =  (7.5)

(h - t1) = 4,3 мм

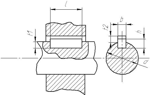
По полученному значению выбирается шпонка, размеры которой указаны в таблице 7.1.

Таблица 7.1 - Размеры призматической шпонки

Диаметр вала d, мм

Сечение шпонки bxh, мм

Глубина паза



Вала t1, мм

Втулки t2, мм

50

16 х 10

6,0

4,3


Рисунок 7.1 - Установка шпонки в пазы вала и втулки

8. МОНТАЖ ТЕСТОМЕСИЛЬНЫХ МАШИН

Тестомесильная машина является основным видом оборудования на предприятиях бараночного и кондитерского производств. Качество монтажа отражается на качестве замешиваемого теста и в дальнейшем на качестве готовой продукции.

Устранение недостатков монтажа при эксплуатации не всегда удобно. Поэтому к качеству монтажа предъявляются высокие требования. Для выполнения монтажных работ на высоком уровне необходима тщательная инженерная подготовка и организация работ на объекте.

До начала монтажа необходимо получение полного комплекта технической документации: рабочих чертежей, описания тестомесильной машины и вспомогательных устройств, смет, паспортов, комплектовочных ведомостей, инструкций по монтажу и пуску агрегата и его эксплуатации.

Эта документация представляется заводом-поставщиком. Место установки тестомесильной машины на строящихся предприятиях и при реконструкции существующих отводится в соответствии с проектом. Перед началом всех монтажных работ персонал должен ознакомиться с проектными и монтажными документами. [2]

До начала монтажных работ должна быть произведена ревизия состояния оборудования, особенно после длительного его хранения; проверка обеспеченности основными и вспомогательными материалами и оборудованием в соответствии со спецификацией проекта агрегата. Производится технический осмотр фундамента для установки тестомесильной машины. Персонал должен быть ознакомлен с правилами охраны труда и техники безопасности, правилами пожарной безопасности.

Для тестомесильной машины составляется инструкция по монтажу, В которой указываются особенности и последовательность монтажных работ по сборке узлов привода, обкатке механизмов и наладке агрегата.[3]

Все узлы тестомесильная машина ТМ-63М, а также тестомесильная камера и привод крепятся к станине. Станина собирается из уголков и двутавровых балок и крепится на ранее осмотренный фундамент.

Для крепежа станины используются фундаментные болты ГОСТ 24379.1-80.

9. ЭКСПЛУАТАЦИЯ И ТЕХНИКА БЕЗОПАСНОСТИ ТМ-63М

От знания и выполнения правил эксплуатации оборудования станочником, машинистом, любым производственным рабочим, управляющим машиной, зависят механическое состояние вверенной ему техники, сохранение ее эксплуатационных качеств. Правила эксплуатации должны быть хорошо известны мастерам по ремонту, механикам, которые должны донести эту информацию и обеспечить соблюдение этих правил производственным персоналом.

Машинист тестомесильной машины должен хорошо изучить ее конструкцию и принцип работы, а также правила пуска и остановки привода. Он должен следить за точность дозирования сырья для предотвращения переполнения месильной камеры.

Уход за оборудованием имеет важнейшее значение для сохранения его работоспособности. При тщательном уходе можно увеличить срок его службы до очередного ремонта. Перед началом работы рабочий обязан осмотреть машину, проверить, чисто ли она убрана рабочим, сдающим смену, включить и проверить ее в рабочем состоянии, осмотреть места смазки. При обнаружении каких-либо повреждений или неисправностей рабочий, не приступая к работе, обязан доложить о них мастеру, так как тестомесильная машина является одной из основных составляющих технологической линии и при ее поломки останавливается вся линия.

За поломку, вызванную неправильной эксплуатацией, несут ответственность как рабочий, так и мастер. Нельзя оставлять машину в рабочем состоянии без присмотра.

Общие требования безопасности, предъявляемые к конструкции технологического оборудования, установлены ГОСТом «Оборудование производственное. Общие требования безопасности».

Элементы конструкции машин не должны иметь острых углов, кромок и тому подобное, представляющих источник опасности при обслуживании.

Конструкцией оборудования должны обеспечиваться оптимальные режимы работы, при которых превышение установленных уровней шума и вибрации не допускается. Оборудование, при работе которого возникают шум и вибрация, превышающие допустимые нормы, должно быть снабжено звукопоглощающими устройствами и установлено на виброизолирующих основаниях. Движущиеся части оборудования, являющиеся источником опасности, ограждают.

К органам управления оборудованием предъявляют следующие основные требования:

усилие для приведения в действие органов управления не должно быть слишком велико (непосильно) или мало (случайное касание вызывает пуск или остановку машин);

конструкция должна исключать самопроизвольный пуск или остановку оборудования;

органы аварийного выключения (кнопки, рычаги, рубильники) должны быть окрашены в красный цвет; около пусковых устройств должны быть вывешены четкие надписи, указывающие их назначение.[3]

Основным недостатком тестомесильной машины ТМ-63М является открытая цепная передача. В следствии этого машинист при работе должен строго соблюдать правила техники безопасности, а машина содержать предупредительную сигнализацию о пуске машины и средства остановки и отключения от источников энергии.

ЗАКЛЮЧЕНИЕ

В работе рассмотрены устройство, принцип действия и эксплуатация тестомесильной машины ТМ-63М. Также проанализировано современное состояние тестомесильных машин и выделена их классификация.

Описан технологический процесс и устройство тестомесильной машины ТМ-63М, а также произведен технологический расчет. Данное оборудование обладает высокой производительностью 813 кг/ч.

Выполнен кинематический расчет приводного механизма рассматриваемой тестомесильной машины с подбором двигателя серии 4А112М4. Произведен прочностной расчет шпоночных соединений.

Исследован монтаж и эксплуатация, а также техника безопасности при работе с ТМ-63М.

СПИСОК ИСПОЛЬЗОВАННЫХ ИСТОЧНИКОВ

1.     Антипов С.Т., Кретов И.Т., Остриков А.Н., Панфилов В.А., Ураков О.А. Машины и аппараты пищевых производств. В 2 кн. Кн.1: Учеб. для вузов/ Под ред. акад. РАСХН Панфилова В.А. - М.: Высш. шк., 2001. - 703 с.

2.      Анурьев В.И. Справочник конструктора - машиностроителя: В 3-х т.: Т.2.-7-е изд., перераб. и доп. - М.: Машиностроение, 1992. - 784с.

.        Драгилев А.И., Дроздов В.С. Технологическое оборудование предприятий перерабатывающих отраслей АПК. - М.: Колос, 2001. - 352 с.

.        Курмаз Л.В. Детали машин. Проектирование: Справочное учебно-методическое пособие/Л.В. Курмаз, А.Т. Скойбеда. - м.: Высш. шк., 2005.- 309 с.

.        Чернавский С.А., Боков К.Н., Чернин И.М. и др. Курсовое проектирование деталей машин: Учеб. Пособие для учащихся машиностроительных специальностей техникумов/ 2-е изд., перераб. и доп. - М.: Машиностроение, 1988. - 416 с.