Материал: Технология отрасли - 2020

Внимание! Если размещение файла нарушает Ваши авторские права, то обязательно сообщите нам
  1. Системы водоснабжения и водоотведения в бродильных производствах.

При производстве напитков важное значение имеет качество воды. Она должна быть:

    • Питьевой (чистой и безопасной для питья);

    • Не содержать загрязняющих примесей (таких как хлор, сульфиды, железо и нитраты);

    • Соответствующей жесткости или мягкости (содержание минералов);

    • Не содержать твердых взвешенных частиц (твердые частицы делают пиво или вино мутным). Взвешенные частицы можно удалить;

    • Стерилизованной или продезинфицированной.

Загрязнение или изменение качества воды может привести к нарушению производственного процесса и сказаться на качестве продукта. Обычно для производства пива используют воду из местных подземных скважин. Объем и качество используемой грунтовой воды крайне важны, так же как и вероятность ее загрязнения пестицидами, минеральными удобрениями, моющими средствами и упавшими в нее предметами, как на самом объекте, так за его пределами. забираемая вода может потребовать предварительной очистки перед включением ее в производственный процесс. В процессе производства пива образуется значительный объем сточных вод, включая отбракованный продукт и воду для промывки оборудования. Вряд ли подобные сточные воды содержат токсические вещества, однако если не производить очистку таких стоков, они могут нанести вред окружающей среде благодаря высокому содержанию органических веществ.

  1. Стадии и фазы сушки солода.

Правильное сочетание температуры сушки и влажности солода в каждый отдельный момент этого процесса позволяет быстро высушить солод с наименьшими потерями ферментативной активности. Продолжительность сушки солода определяется не только скоростью удаления из него влаги и сохранением ферментативной активности, но и необходимостью достижения определенных химических и биохимических изменений. Поэтому процесс сушки солода подразделяется на стадию обезвоживания (подвяливания) и стадию нагревания сухого солода.

В первый период сушки содержание влаги в солоде быстро и довольно легко снижается до 10- 8%. Снижение влажности солода с 10--8 до 4--2,5% на второй стадии сушки происходит значительно медленнее, что указывает на более прочное связывание влаги с коллоидными веществами зерна. Высшая температура в конце процесса сушки называется температурой отсушки.

Во второй стадии протекают химические и физико-химические реакции между составными частями солода.

В зависимости от процессов, происходящих в солоде, различают три фазы сушки: физиологическую, ферментативную и химическую.

Физиологическая фаза --до достижения температуры в солоде 45° С: в зерне протекают ферментативные процессы, продолжается рост листка и корешков. Влажность солода уменьшается до 30%. При 45° С рост, т. е. синтетические процессы, прекращается, но гидролитические, ферментативные процессы продолжаются.

Ферментативная фаза - в зоне температур от 45 до 70 С. Жизненные процессы приостанавливаются, рост и дыхание зерна прекращаются. Ферментативные же гидролитические процессы развиваются сильнее, так как оптимум действия большинства гидролитических ферментов находится в интервале 45-- 60° С. Но действие ферментов зависит главным образом от содержания воды. Поэтому в темном солоде, в котором в этой фазе остается 20--30% воды, ферменты еще очень активны. В светлом солоде воды остается 10%, и деятельность ферментов незначительна.

Химическая фаза -- в зоне температур от 70 до 105° С. При температуре выше 75° С все ферментативные процессы прекращаются, так как ферменты частично инактивируются, а частично адсорбируются коллоидами зерна и переходят в неактивное состояние. Химическая фаза характеризуется образованием аромата, коагуляцией белка, ослаблением и частичным разрушением ферментов.

  1. Очистка зерна на триере.

Триеры очищают зерно от коротких и длинных примесей. Чаще этот прием используют для очистки партии зерна семенного назначения. Однако и для продовольственного зерна такая очистка бывает необходима, если в нем обнаружены семена овсюга и куколя. В производстве используют как дисковые триеры (рис.2.3), так и триеры, имеющие вращающиеся металлические цилиндры с ячеистой внутренней поверхностью.

При поступлении зерновой смеси во вращающийся цилиндр короткие частицы, длина которых меньше диаметра ячеек, западают в них и увлекаюся вверх. При достижении определенного угла поворота цилиндра они выпадают из ячеек в специальный лоток, по которому и выводятся из триера. Длинные частицы не помещаются в ячейки и скользят по поверхности цилиндра к выходу.

Обычно триеры устанавливаются парами или батареями друг над другом. Зерно последовательно поступает сначала в верхний цилиндр для выделения длинных примесей, а затем в нижний цилиндр для выделения коротких примесей.

Эффективность работы триера также оценивается полнотой разделения (не менее 0,8) и потерей зерна в отходах (не более 3%).

Для достижения требуемой эффективности необходимо в первую очередь подобрать цилиндры с определенным диаметром ячеек, что зависит от культуры. Зерно в триерах очищают только после воздушно-решетных машин.

  1. Ведение затирания.

Затирание – это процесс смешивания  дробленных зернопродуктов с водой, с  последующей выдержкой полученного  затора при определенных температурных  паузах, с целью  разрушения сложных  компонентов зерна на более простые и  растворения их в воде.

Целью затирания является перевод в водный раствор нерастворимых частей засыпи, главным образом всего крахмала и части белков. Для расщепления этих высокомолекулярных соединений зернового эндосперма на растворимые используются реакции, катализированные ферментами солода. При затирании водой происходит также экстрагирование небольшого количества растворимых компонентов засыпи (самое большее 15-17%).

Сущность затирания состоит в основном в том, что затор или чаще его части постепенно нагреваются до температуры осахаривания. В практике различается два основных типа затирания - инфузионное и декокционное.

В практике при затирании следует выбирать такой процесс, при котором продукты расщепления крахмала и белка, образующие главную долю растворимого экстракта, имели бы состав качественно отвечающий характеру изготавливаемого пива. Одновременно нужно обеспечивать более высокий выход экстракта из перерабатываемого сырья.

Качественный состав экстракта сусла зависит от состава применяемой засыпи. Прямое влияние имеет также химический состав используемой на затирание воды и технологический процесс при затирании.

Факторы, влияющие на затирание

Основные факторы, влияющие на выход экстракта и его состав, — это соотношение фермент: субстрат, продолжительность процесса, температура и рН затора. С увеличением концентрации затора ферментативные реакции замедляются. Поэтому концентрация затора обычно не превышает 16 %. Обычно на затирание 100 кг зернопродуктов расходуют 350.-.500л воды.

Способы и технологические режимы затирания

Приготовление затора начинают со смешивания дробленых зернопродуктов с водой при температуре 37…40°С, которое осуществляется в заторном аппарате при включенной мешалке. Далее затирание ведут настойным или отварочным способом.

Настойный способ заключается в постепенном нагреве всего затора от 40 до 70°С со скоростью 1 °С/мин и выдерживании при температуре 40°С; 52°С; 63°С и 70°С по 30 мин. Далее затор нагревают до 72°С и выдерживают до полного осахаривания по пробе на йод. Затем осахаренный затор подогревают до 76…77°С и направляют на фильтрование. Полученное этим способом сусло богато ферментами, содержит много мальтозы и аминокислот, мало декстринов и поэтому сильно сбраживается.

  1. Отходы солодовенного производства и их использование.

  1. Самосогревание зерновой массы.

Самосогреванием (или самонагреванием) называют процесс самопроизвольного повышения температуры зерновой массы, находящейся на хранении. Вызывается это явление энергичным протеканием физиолого-биохимических и микробиологических процессов в зерне повышенной влажности. Возможно возникновение самосогревания зерна вследствие активной деятельности насекомых и клещей. Таким образом, Физиологической основой самосогревания является Дыхание всех живых компонентов зерновой массы, приводящее к значительному выделению тепла.

Физической основой самосогревания является Плохая теплопроводность зерновой массы. Образование тепла в том или ином участке зерновой массы, превышающее отдачу его в окружающую среду, дает типичную картину самосогревания. Образовавшееся тепло задерживается в зерновой массе и вызывает подъем температуры.

Характерной чертой этого процесса, о которой следует хорошо помнить, является то, что начавшееся в зерновой массе самосогревание не останавливается само по себе. Наоборот, оно непрерывно, с нарастающей интенсивностью, увеличивает темпы повышения температуры зерна.

Увеличение температуры зерна при запущенных формах самосогревания до 55-65 °С приводит к полной потере всех его потребительских свойств: пищевых, семенных и фуражных. При этом вся зерновая масса превращается в черный обугленный конгломерат с полной потерей сыпучести. В практике хранения это случается довольно редко. Но даже повышение температуры до 40-45 °С приводит к необратимым изменениям в белковом, углеводном и липидном комплексах зерна, значительным потерям в массе и качестве. В зерне пшеницы, подвергнутом самосогреванию, резко снижаются хлебопекарные свойства вследствие гидролиза клейковины и ухудшения ее качества. В семенах масличных культур вследствие интенсивного гидролиза жиров повышается кислотное число масла и уменьшается его выход при переработке.

На практике при возникновении самосогревания часто применяют Перелопачивание зерна. Но этот прием не только не только не приостанавливает процесс самосогревания, но даже, наоборот, усиливает его. Зерно во время нахождения в воздухе при его перекидке вручную в течение 1-2 секунд не может ни охладиться, ни подсохнуть, а лишь обогащается кислородом, что усиливает образование тепла вследствие активизации биохимических и микробиологических процессов. Поэтому при первом появлении признаков повышения температуры зерновой массы необходимо срочно ликвидировать первопричину этого явления – снизить влажность и температуру зерна при помощи Активного вентилирования Или длительной его транспортировки на цепочке зернотранспортных механизмов (транспортеров, погрузчиков, зернометов). Необходимо, чтобы зерно длительное время находилось в движении, соприкасаясь с холодным и сухим воздухом.

Существуют следующие виды самосогревания:

1. Гнездовое – возникновение процесса в каком-либо участке зерновой массы;

2. Пластовое – различают:

а) Верховое (осенью и весной) – из-за конденсации влаги при перепадах температур, на глубине 0,25 – 1,5 м;

б) Низовое (осенью) – при засыпке теплого зерна с повышенной влажностью, на расстоянии 0,2 – 0,5 м от пола,

в) Вертикально-пластовое (осенью и весной) – из-за перепадов температур, в силосах и складах вдоль стен;

3. Сплошное – возникновение процесса у зерновых масс с высокой влажностью и значительным процентом примесей.

Дрожжи. Одноклеточные организмы различной формы со свойственной для их колоний, образуемых на плотных средах (и на зерне), пастообразной консистенцией. Дрожжи крупнее бактерий. Различают дрожжи: белые и розовые, из рода Torula, верхового брожения. Дрожжи размножаются почкованием или делением. Общая численность дрожжей на зерне незначительна, поэтому при нормальных условиях хранения они особого влияния на качество зерна не оказывают. Однако в зерне повышенной влажности при определенных условиях дрожжи могут служить причиной появления так называемого амбарного запаха.

Актиномицеты. Относятся к лучистым грибам. Попадают в зерновую массу с комочками земли при раздельном способе уборки урожая. Их численность в свежеубранном зерне невелика. Развиваясь (при благоприятных условиях), способствуют самосогреванию зерна.

Фитопатогенные микроорганизмы. Встречаются в некоторых партиях зерна, способствуют развитию у растений таких заболеваний, как бактериоз и микоз, последствия которых отрицательно сказываются на качестве зерна.

Возбудители бактериозов — бактерии, поражающие поверхностные ткани растений с образованием ожогов коры и пятнистости листьев. При поселении их в проводящих сосудах растение увядает. В числе бактерий, вызывающих бактериозы зерновых культур, — Ps. translucens и Ps. atrofaciens.

Бактерии вида Ps. translucens вызывает ожог у зерна пшеницы, ржи, ячменя, кукурузы и риса; пятнистость — у кукурузы, риса, ячменя и других колосовых культур. Кроме того, бактерии этого вида вызывают «черную болезнь» у зерновых культур, которая проявляется в почернении верхней половины колосков; зерно становится щуплым, сморщивается, на нем образуются черные полосы, заполненные бактериями; при сильном поражении снижение урожая может достигать 60...70 %.

Бактерии вида Ps. atrofaciens вызывают почернение оснований чешуек колосков, при сильном поражении — почернение зародыша и щуплость зерна, заболевания листьев у пшеницы, ржи, ячменя, овса и др.

Микозы (от греч. mykes — гриб) — широко распространенные заболевания, в числе которых — головня, спорынья и фузариозы хлебных растений, вызываемые различными расами грибов-паразитов. Заражение сопровождается проникновением паразита внутрь растения, в результате чего происходит частичная, а иногда и полная потеря урожая. Пораженные зерна могут приобрести ядовитые свойства. По этой причине их количество в зерновой массе ограничивается государственными стандартами при приемке и отпуске зерна на переработку.

Патогенные для человека и животных микроорганизмы. В зерновой массе могут присутствовать возбудители некоторых инфекционных заболеваний только для человека или только для животных, а также как для человека, так и для животных. В природе наиболее распространены микроорганизмы, патогенные для человека и для животных, вызывающие так называемые зоонозы (от греч. zoon — животное и nozos — болезнь), к числу которых относят возбудителей сибирской язвы, бруцеллеза, туберкулеза, сапа, ящура, чумы и туляремии. Микроорганизмы распространяются через больных людей и животных, через бациллоносителей — грызунов, диких птиц, насекомых и др., а также через почву, попадая в которую они способны не только жить в ней, но и размножаться в течение длительного времени. Подобные микроорганизмы практически невозможно выявить в поступающих партиях зерна. Поэтому к зерну, поступающему из районов, где отмечены случаи инфекционных заболеваний, следует относиться осторожно и проводить предусмотренные для этих случаев (специальными инструкциями) мероприятия.

  1. Фильтрование затора на фильтр-прессе.

Стремление ускорить и механизировать фильтрацию привело к конструкции разных устройств, из которых в широком масштабе распространился только фильтр-пресс.

При его использовании значительно ускоряется фильтрация, можно перерабатывать тонкий помол и тем самым повысить выход экстракта, а также применять большее количество несоложеных материалов, которые затрудняют нормальную фильтрацию в фильтрационном чане. Однако первоначальные расходы выше, чем при использовании фильтрационных чанов, обслуживание и ремонт (включая мойку салфеток) более дороги, и поэтому фильтр-пресс пригоден только на больших заводах с непрерывным производством, на которых можно полностью использовать преимущества сокращенной фильтрации.

Конструкция фильтр-пресса схематично представлена на рис. 42. Он имеет массивную чугунную подставку, на которой расположены чугунные рамы и плиты. На обоих концах фильтр закрыт торцовыми плитами, внутренняя стенка которых сделана также, как все остальные плиты. Плиты и рамы зажимаются между торцовыми плитами стяжными винтами вручную или гидравлически. Раньше плиты и рамы были круглые, теперь стали только квадратные с сечением от 800 до 1500 мм в зависимости от размера фильтра.

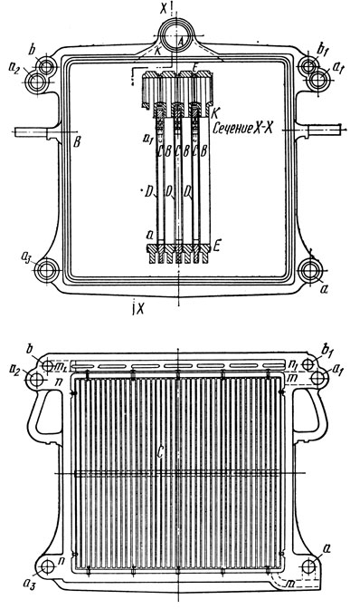
Рис. 42. Фильтр-пресс (Циманн): 1 - регулировка подачи; 2 - смотровое отверстие в заторном канале; 3 - манометр; 4 - затвор отвода воздуха; 5 - кран отвода воздуха; 6 - заторный канал; 7 - отвод воздуха из канала для сусла; 8 - выпускной клапан сусла; 9 - выпуск промывной воды; 10 - канал для сусла; 11 - канал для промывных вод; 12 - фильтрационный кран; 13 - кран для закрытой фильтрации; 14 - расходомер промывной воды; 15 - транспортер дробины

Фильтрация идет через фильтрационные салфетки, и слой дробины в камерах (рамах) достигает только 6-7 см. Используя салфетки, увеличивают фильтрационную площадь в 4 раза, благодаря чему фильтрация значительно ускоряется. Нижний слой дробины также лучше и скорее выщелачивается, чем в фильтрационном чане. Фильтр-прессы разных фирм отличаются конструкцией рам, плит и вспомогательного оборудования. Обычно рамы и плиты изготовляют из чугуна. Форма таких рам и плит видна на рис. 43.

Рис. 43. Рама и плита фильтр-пресса: A - входной канал; B - рамы для дробины; C - рамы с решетчатым вкладышем; D - салфетки; E - резиновые прокладки; K - расширенные входные отверстия; a, a1, a2, a3 - каналы для выщелачивающей воды; m - нижний отборный канал с кранами; a1m, n - переходные каналы; bm1, n1b1 - каналы поперечного рифления

Каждая рама имеет наверху круглое отверстие, из которого узкий канал ведет внутрь рамы.

Отверстия с двух сторон снабжены резиновой прокладкой и после затягивания фильтра образуют по всей длине сплошной канал, по которому затор втекает в отдельные рамы. Между двумя рамами всегда находится рифленая плита, на которую натянута салфетка.

Фильтрация сусла и выщелачивание дробины схематически изображены на рис. 43. При перекачке затора дробина осаждается в камере, а сусло протекает через салфетки. По вертикальным ребрам плит сусло стекает к фильтрационным кранам, которые выходят в фильтрационный лоток. Краны некоторых новых конструкций можно переключать на центральное выпускное отверстие (закрытая фильтрация). После фильтрации первого сусла сразу же начинается выщелачивание дробины. Фильтрационные краны закрывают и выщелачивание идет обратным процессом. Горячая вода, нагретая до температуры 78-80°С, поступает в каждую нечетную плиту, проходит через салфетки и слой дробины в камере до вертикальных ребер четной плиты. Как только камеры полностью заполнятся водой и весь воздух из них вытеснится, открывают краны у каждой четной плиты и начинают выщелачивание. Поскольку вода втекает в каждую нечетную плиту, при фильтрации может быть открыт только каждый второй кран (см. рис. 43). Выщелачивание проходит при постоянном притоке воды до тех пор, пока плотность промывных вод снизится до требуемой величины.