Материал: Технология изготовления сварных конструкций

Внимание! Если размещение файла нарушает Ваши авторские права, то обязательно сообщите нам

Определяем коэффициент формы валика с учетом зазора


Находим действительную глубину провара

h¢=H-q                                                                                            (52)

h¢=14,5-2,6=11,9 мм

Подсчитаем перекрой швов

К=2h¢-S                                                                                          (53)

K=2·11,9 - 16=7,8 мм

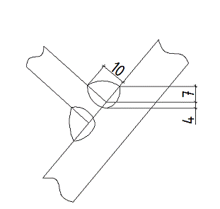
Рисунок 4 - Стыковое соединение стенки S=16 мм;

Тип шва С 7 по ГОСТ 8713-79

г) Расчет режима сварки поясных швов катет к = 10 мм

Найдем площадь наплавленного металла

                                                                           (54)

Принимаем диаметр электрода 4 мм

Рассчитываем силу сварочного тока

                                                                                (55)

где g- рекомендуемая плотность тока = 40

Принимаем Iсв= 600 А

Принимаем напряжение дуги в пределах (28¸36) В и по монограмме находим коэффициент формы провара yпр

Uд=34 В, yпр=2,8

Найдем коэффициент наплавки при постоянном токе обратной полярности

aн=(11,6±0,4)                                                                                (56)

aн=11,6+0,4=12 г/Ач

Определяем эффективную тепловую мощность дуги

Qэф=0,24×Iсв×Uд×h                                                                         (57)

где h- КПД сварочной дуги для сварки под флюсом, равна 0,7¸0,85

Qэф=0,24×600×34×0,8=3916,8 кал/с

Находим скорость сварки

                                                                                      (58)

где g- плотность наплавленного металла, равна 7,8 г/см²

Определяем глубину провара

                          (59)

Найдем ширину шва

е= Yпр×h                                                                                        (60)

е= 2,8×8,3= 23,24 мм

Определяем высоту валика

                                                                       (61)

Общая высота шва

H=h+q                                                                                            (62)

H=8,3+2,9=11,2 мм

Предполагая разделку с углом 90°, найдем глубину разделки l¢

                                                                                (63)

Найдем действительную глубину провара

h°=H-l¢                                                                                            (64)

h°=11,2-7,1=4,1

Определяем коэффициент формы валика

                                                                                    (65)

Хорошая форма углового шва

Определяем форму наружной поверхности шва

Iкр=350+m×Vсв                                                                              (66)

где m- коэффициент зависящий от диаметра электрода, равен 7 Ач/м

Iкр=350+7×18,46=479 А

Принимаем Iкр=500 А так как Iсв=600 А > Iкр=500 А - шов выпуклый.

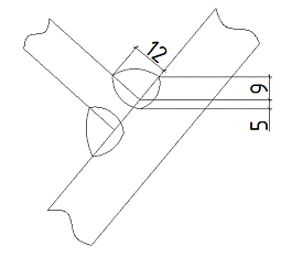
Рисунок 5 - Тавровое соединение поясного шва

Тип шва Т3 по ГОСТ 8713-79

д) Расчет режима сварки поясных швов катет к = 12 мм

Найдем площадь наплавленного металла

                                                                           (67)

Принимаем диаметр электрода 4 мм

Рассчитываем силу сварочного тока

                                                                                (68)

при диаметре электрода 4 мм, g- рекомендуемая плотность тока равна 35-60 А/мм²


Принимаем Iсв= 650 А

Принимаем напряжение дуги в пределах (28¸36) В и по монограмме находим коэффициент формы провара yпр

Uд=34 В, yпр=2,8

Найдем коэффициент наплавки при постоянном токе обратной полярности

aн=(11,6±0,4)                                                                                (69)

aн=11,6+0,4=12 г/Ач

Определяем эффективную тепловую мощность дуги

эф=0,24×Iсв×Uд×h                                                                  (70)

где h- КПД сварочной дуги для сварки под флюсом, равна 0,7¸0,85

Qэф=0,24×650×34×0,8=4243,2 кал/с

Находим скорость сварки

                                                                                      (71)

где g- плотность наплавленного металла, равна 7,8 г/см²


Определяем глубину провара

                          (72)

Найдем ширину шва

е= Yпр×h                                                                                        (73)

е= 2,8×9,6= 27мм

Определяем высоту валика

                                                                           (74)

Общая высота шва

H=h+q                                                                                            (75)

H=9,6+3,6=13,2 мм

Предполагая разделку с углом 90°, найдем глубину разделки l¢

                                                                                (76)

Найдем действительную глубину провара

h°=H-l¢                                                                                            (77)

h°=13,2-8,5=4,7мм

Определяем коэффициент формы валика

                                                                                      (78)

Хорошая форма углового шва

Определяем форму наружной поверхности шва

Iкр=350+m×Vсв                                                                              (79)

где m- коэффициент зависящий от диаметра электрода, равен 7 А·ч/м

Iкр=350+7×14=448 А

Принимаем Iкр=500 А, так как Iсв=650 А > Iкр=500 А, то при этом шов получается выпуклый.

Рисунок 6 - Тавровое соединение поясного шва

Тип шва Т3 по ГОСТ 8713-79

Режим механизированной сварки.

Сила сварочного тока устанавливается в зависимости от диаметра сварочной проволоки. Устойчивость горения дуги зависит от плотности сварочного тока. Минимально допустимая плотность тока, при которой дуга горит устойчиво, изменяется в зависимости от диаметра сварочной проволоки в пределах 60 - 150 А/мм²

Напряжение дуги в значительной степени влияет на характеристику процесса сварки, на формирование и качество сварочного шва. Напряжение дуги зависит от ее длины и силы тока.

Расход углекислого газа - количество газа, которое подается в горелку за единицу времени. Расход зависит от толщины металла, размеров шва и от выбранного режима сварки.

сборочный фрезерование сварочный операция

Таблица 8 - Режимы для механизированной сварки в среде защитного газа

катет шва мм

число проходов

Диаметр сварочной проволоки, мм

Сварочный ток, А

Напряжение дуги, В

Скорость подачи проволоки, Vп.п.м/ч

Расход газа л/мин

6 - 10

1

1,6

280-300

28-30

290-320

16-18

12-14

2

1,6

320-340

30

320-360

18-20


Расчет параметров ручной дуговой сварки

Для наложения прихваток при сборке колонны выбираем диаметр электрода dэл = 4 мм.

Рассчитываем силу сварочного тока

Iсв=к·dэл                                                                                        (80)

где к- коэффициент зависящий от диаметра электрода, при dэл= 4 мм, к= 40

Iсв=40·4=160 А

Напряжение при ручной дуговой сварке равно (20¸36) В

Принимаем напряжение дуги Uд=28 В

.7 Выбор и обоснование технологического оборудования

1.7.1 Заготовительное оборудования

Выбор заготовительного оборудования производится с учётом типа производства, марки и толщины материала, конструкции, технологии изготовления и назначения заготовок. Заготовительное оборудование должно обеспечивать высокую производительность и по возможности иметь небольшие габариты.

Для производства заготовительных операций при изготовлении колонны требуется следующее оборудование.

Металл в цех обработки должен подаваться выправленным. Правка листовой стали осуществляется на листоправильных вальцах, деформации швеллеров и двутавров устраняются на горизонтальных правильно-гибочных прессах, а угловой стали- на углоправильных вальцах.

Основными параметрами вальцов являются максимальная ширина и толщина листа, который может быть выправлен на вальцах. Для большинства типов вальцов, применяемых на заводах металлоконструкций, предельная ширина листа 2000-3200 мм, что вполне достаточно для правки листового проката, применяемого для изготовления листовых деталей стальных конструкций.

Важным параметром является количество валков, которых может быть 5, 7, 9, 11, 13. Для правки листовой стали толщиной от 6 до 25 мм, обычно применяются семивалковые вальцы.

Правка листовой стали на вальцах заключается в том, что деформированный лист закладывается в зазор между верхним и нижними цилиндрическими валками, расположенными в шахматном порядке.

Рисунок 7 - Схема расположения листоправильных валков

Зазор между верхними и нижними валками устанавливается несколько меньше толщины выправляемого листа. При движении листа многократно изгибается, и в нем появляются упругопластические или пластические деформации, которые растягивают лист и устраняют его неровности. Нижние рабочие валки приводятся в движение электродвигателя через редуктор.

Верхние валки вращаются за счет трения с листовой сталью и перемещаются в вертикальном направлении электродвигателем через передаточный механизм. Два верхних валка перемещаются вертикально независимо друг от друга и средних рабочих валков. Высота подъема верхних валков контролируется по указателю высоты подъема: определяется зазор между верхними и нижними валками, размер которого определяется выправляемого листа и пределом текучести стали.

Таблица 9 - Технические характеристики листоправильного станка W43G-40х2500 [3]

Наименование

Параметры

Макс. толщина обрабатываемого листа (мм)

40

Макс. ширина обрабатываемого листа

2500

Мин. толщина обрабатываемого листа

10

Макс. предел текучести обрабатываемого материала (МПа)

360

Расстояние между рабочими валками (мм)

400

Диаметр рабочих валков (мм)

340

Количество рабочих валков

7

Скорость правки (м/мин)

7

Общие габариты (Д×Ш×В, мм)

11600×3200×6000


Газовая резка.

Для резки металла применяют стационарные газорезательные машины портального типа.

Портальные машины имеют перемещающийся по прямолинейным направляющим портал с приводом, резательным и управляющим устройством и другой оснасткой. Наиболее высокую точность резки портальными машинами заданных контуров произвольной конфигурации обеспечивают устройства числового программного управления (УЧПУ) контурным движением и технологическими переходами. УЧПУ обеспечивает также возможность встраивания таких машин в комплексно-автоматизированные системы поточных линий и переналаживаемых участков, где они могут быть сопряжены с управляющей ЭВМ более высокого уровня.

Портальные программные машины с УЧПУ имеют высокую стоимость и в связи с этим наиболее эффективны на металлообрабатывающих предприятиях с большими объемами резки.

Машины поставляют в комплекте с суппортом, резательной оснасткой, рельсовым путем, коммуникациями и ЗИПом. Поставляются также устройства управления и приводы.

Таблица 10 - Техническая характеристика портальных газопламенных машин с УЧПУ «Енисей»

Параметры

Значение

Наибольшие размеры разрезаемых листов, мм:

12000×2500

Наибольшая толщина резки/ пробивки ,мм: стали

 80/40

Скорость перемещения резака, мм/мин;

70-6000

Максимальное отклонение от контура, мм

±0,5

Плазморежущая установка

АПР-404 (УПРК-302)

Число резаков

1

Напряжение, В

380

Частота, Гц

50

Потребляемая мощность, кВ·А

130

Расход, м3/ч сжатого воздуха охлаждающей воды

4-10 0,25

Давление, мПа сжатого воздуха охлаждающей воды

0,3-0,6 0,35-0,45

Габаритные размеры, мм

12000×4150×1710

Масса, кг

5700


Для рубки мелких деталей используем ножницы листовые кривошипные НА3223

Ножницы листовые кривошипные НА3223 предназначены для прямолинейной резки листовых материалов. Ножницы используются в заготовительных цехах предприятий машиностроения, судостроения и других отраслей промышленности, а так же предприятиями малого и среднего бизнеса.

Таблица 11 Технические характеристики ножниц гильотинных НА3223

Наименование параметра

Номинальное значение

Наибольшая толщина, мм

20

Наибольшая ширина, мм

3150

Частота хода ножа, мин-1

30

Мощность электродвигателя привода, кВт

22

Габаритные размеры, мм

5100x3550x2760

Масса, кг

24500