Материал: Технологический процесс изготовления детали

Внимание! Если размещение файла нарушает Ваши авторские права, то обязательно сообщите нам

форму обработанных поверхностей, их расположение;

технические требования к точности размеров, формы и шероховатости обработанных поверхностей;

Размер производственной программы, характеризующий тип производства.

Для проведения точения выбираем токарно-винторезный станок мод. 1М61, его технические характеристики приведены в таблице 7.

Таблица 7 - Технические параметры Токарно-винторезного станка мод. 1М61

Показатель

Размер, мм

Наибольший диаметр обрабатываемой детали, мм

320

Расстояние между центрами, мм

1000

Число ступеней частоты вращения шпинделя

24

Частота вращения шпинделя, об/мин

12,5-1600

Число ступеней подач суппорта

24

Подачи суппорта, мм/об:


- продольная

0,08-1,9

- поперечная

0,04-0,95

Мощность главного электродвигателя, кВт

4

КПД станка

0,75

Наибольшая сила подачи механизмом подачи, кгс

150


Для проведения сверлильной операции выберем радиально-сверлильный станок 2М58-1, его технические характеристики приведены в таблице 8.

Таблица 8 - технические характеристики радиально-сверлильного станка 2М58-1

Параметры

Размер, мм

Наибольший условный диаметр сверления в стали

100

Расстояние от оси шпинделя до образующей (направляющей) колонны (вылет шпинделя)

500-3150

Расстояние от нижнего торца шпинделя до рабочей поверхности плиты (или до головки рельса) Наибольшее перемещение:

370-2500

вертикальное, рукава на колонне

1500

горизонтальное, сверлильной головки по рукаву (или рукава на колонне)

2650

Наибольшее вертикальное перемещение шпинделя

630

Конус Морзе отверстия шпинделя

6

Число скоростей шпинделя

22

Частота вращения шпинделя, об/мин

10-1250

Число подач шпинделя

18

Подача шпинделя, мм/об

0,063-3,15

Наибольшая сила подачи, МН

50

Мощность электродвигателя привода главного движения, кВт

13

Габаритные размеры: Длина Ширина Высота

 4850 1830 4885

Масса, кг

18000


Поскольку в моем курсовом проекте необходимо рассчитать режим резания для сверления, то приведем все значения подач и частот вращения шпинделя станка 2М58-1.

Знаменатель геометрической прогрессии для расчета подачи:

φs= = = 1,259

Принимаем из стандартного ряда φ = 1,26.

S1 = 0,063 мм/об;= S1∙φS = 0,063∙1,26 = 0,08 мм/об; = S1∙φS2 = 0,063∙1,262 = 0,10 мм/об;= S1∙φS3 = 0,063∙1,263 = 0,13 мм/об;= S1∙φS4 = 0,063∙1,264 = 0,16 мм/об;= S1∙φS5 = 0,063∙1,265 = 0,20 мм/об;= S1∙φS6 = 0,063∙1,266= 0,25 мм/об;= S1∙φS7 = 0,063∙1,267 = 0,32 мм/об;= S1∙φS8 = 0,063∙1,268 = 0,40 мм/об; = S1∙φS9 = 0,063∙1,269 = 0,50 мм/об;= S1∙φS10 = 0,063∙1,2610 = 0,64 мм/об;= S1∙φS11 = 0,063∙1,2611 = 0,80 мм/об;= S1∙φS12 = 0,063∙1,2612 = 1,01 мм/об;= S1∙φS13 = 0,063∙1,2613= 1,27 мм/об;= S1∙φS14 = 0,063∙1,2614 = 1,60 мм/об;= S1∙φS15 = 0,063∙1,2615 = 2,02 мм/об;= S1∙φS16 = 0,063∙1,2616 = 2,54 мм/об;

S18 = S1∙φS17 = 0,063∙1,2617 = 3,20 мм/об;

Определим знаменатель геометрической прогрессии для расчета частоты вращения шпинделя:

φn= =  = 1,258;

Принимаем из стандартного ряда φ = 1,26.

= 1,26 об/мин;

n2 = n1∙φn = 10∙1,26 = 13 об/мин;

n3 = n1∙φn2 = 10∙1,262 = 16 об/мин;

n4 = n1∙φn3 = 10∙1,263 = 20 об/мин;= n1∙φn4 = 10∙1,264 = 25 об/мин;

n6 = n1∙φn5 = 10∙1,265 = 32 об/мин;

n7 = n1∙φn6 = 10∙1,266 = 40 об/мин;

n8 = n1∙φn7 = 10∙1,267 = 50 об/мин;

n9 = n1∙φn8 = 10∙1,268 = 64 об/мин;

n10 = n1∙φn9 = 10∙1,269 = 80 об/мин;

n11= n1∙φn10 = 10∙1,2610 = 101 об/мин;12= n1∙φn11 = 10∙1,2611 = 127 об/мин;

n13= n1∙φn12 = 10∙1,2612 = 160 об/мин;

n14 = n1∙φn13 = 10∙1,2613 = 202 об/мин;

n15= n1∙φn14 = 10∙1,2614 = 254 об/мин;

n16= n1∙φn15 = 10∙1,2615 = 320 об/мин;

n17= n1∙φn16 = 10∙1,2616 = 404 об/мин;

n18 = n1∙φn17 = 10∙1,2617 = 509 об/мин;

n19= n1∙φn18 = 10∙1,2618 = 641 об/мин;

n20= n1∙φn19 = 10∙1,2619 = 807 об/мин;

n21= n1∙φn20 = 10∙1,2620 = 1017 об/мин;

n22= n1∙φn21 = 10∙1,2621 = 1282 об/мин;

Для проведения протяжной операции выберем вертикально-протяжной полуавтомат для внутреннего и наружного протягивания 7Б65

Таблица 9 - технические характеристики вертикально-протяжной полуавтомат для внутреннего и наружного протягивания 7Б65

Параметры

Размеры, мм

Номинальная тяговая сила, кН

100

Рабочая ширина:


стола

450

салазок

-

Расстояние от салазок до оси отверстия в столе

180

Расстояние от поверхности салазок до торца стола

-

Наибольшая длина хода салазок

1250

Скорость рабочего хода протяжки, м/мин

1,5-11,5

Рекомендуемая скорость обратного хода протяжки, м/мин

20

Мощность электродвигателя привода главного движения, кВт

22

Параметры

7Б65

Габаритные размеры (без рабочей площадки):  длина ширина высота

 3292  1333 4540

Масса, кг

8080

Для проведения шлифовальной операции выберем плоскошлифовальный станок с крестовым (прямоугольным) столом 3Е721АФ1-1.

Таблица 10 - Технические параметры плоскошлифовального станка с крестовым (прямоугольным) столом 3Е721АФ1-1.

Параметры

Размеры, мм

Размеры рабочей поверхности стола

630 х320

Наибольшие размеры обрабатываемых заготовок

630 х320х400

Масса обрабатываемых заготовок, кг, не более

300

Наибольшее расстояние от оси шпинделя до зеркала стола

550

Наибольшее перемещение стола и шлифовальной бабки:


продольное

700

поперечное

395

вертикальное

-

Размеры шлифовального круга (наружный диаметр х высота х внутренний диаметр) или тип и размеры шлифовальных сегментов

300 х63х127

Частота вращения шпинделя шлифовального круга, об/мин (Максимальная скорость резания, м/с)

35

Скорость продольного перемещения стола (бесступенчатое регулирование), м/мин

2-35

Мощность электродвигателя главного привода, кВт

7,5

Габаритные размеры (с приставным оборудованием) :


длина

3404

ширина

2073

высота

2090

Масса (с приставным оборудованием), кг

5000


Приспособление выбирается из условий надежного и жесткого закрепления детали, обеспечения требуемой точности обработки, максимального сокращения вспомогательного времени на установку, закрепления и снятия детали со станка.

В серийном и мелкосерийном производстве применяются преимущественно универсальные приспособления являющиеся принадлежностями станков. В серийном и массовом производстве рекомендуется применять специальные приспособления, повышающие точность обработки и снижающие штучное время.

Для токарного станка выбираем самоцентрирующий четырехкулачковый патрон ГОСТ 2675-71, для сверлильного станка - кондуктор ГОСТ 16891-71, для вертикально-протяжного автомата и плоскошлифовального станка - станочные тиски ГОСТ 18684-73,

. Выбор инструмента

Выбор режущего инструмента

При выборе режущего инструмента необходимо исходить из способа обработки и типа станка, формы и расположения обрабатываемых поверхностей, материала заготовки и его механических свойств.

Инструмент должен обеспечить получение заданной точности формы и размеров, требуемой шероховатости обработанных поверхностей, высокую производительность и стойкость, должен быть достаточно прочным, виброустойчивым и экономичным.

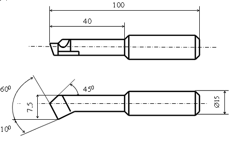
Для обработки наружных поверхностей, выбран проходной упорный резец оснащенный пластинкой из твердого сплава Т15К6 ГОСТ 18879-73. Изображенный на рисунке 2.

Рисунок 2 - Проходной упорный отогнутый резец

Длина резца L, мм        120

Высота резца h, мм      20

Ширина резца b, мм     16

Длина пластины l, мм   16

Размер m, мм      6

Для подрезания торцов и высоких уступов, выбран токарный подрезной отогнутый резец с пластинками из твердого сплава

ГОСТ 18880-73. Изображенный на рисунке 3.

Рисунок 3 - Подрезной отогнутый резец

Длина резца L, мм        120

Высота резца h, мм      20

Ширина резца b, мм     12

Размер l, мм        12

Размер m, мм      5

Радиус при вершине r, мм     1

Для растачивания сквозных отверстий выбран расточной цельный резец из твердого сплава со стальным хвостовиком ГОСТ 18062-72. Изображенный на рисунке 4.

Рисунок 4 - Расточной резец для сквозных отверстий

Для сверления отверстия диаметром 18 мм выбираю стандартное спиральное сверло с коническим хвостовиком (ГОСТ 2092-88) изображенное на рисунке 5.

Рисунок 5 - Спиральное сверло с коническим хвостовиком

Диаметр сверла в мм                                                                                                        d = 18

Общая длина сверла в мм                                                                                               L = 305

Длина рабочей части сверла                                                                                        lo = 205

Геометрические параметры заточки

угол при вершине                                                                                                              2φ = 120º

Для сверления отверстия диаметром 22 мм выбираю стандартное спиральное сверло с коническим хвостовиком (ГОСТ 2092-88) изображенное на рисунке 5а.

Рисунок 5а - Спиральное сверло с коническим хвостовиком

Диаметр сверла в мм                                                                                                        d = 22

Общая длина сверла в мм                                                                                               L = 335

Длина рабочей части сверла                                                                                        lo = 235

Геометрические параметры заточки

угол при вершине                                                                                                              2φ = 120º

Для проточки паза выбираем шпоночную протяжку (ГОСТ 23360-78) изображенную на рисунке 6.

Рисунок 6 - Шпоночная протяжка

Для шлифования поверхности выбираю круг прямого профиля (ГОСТ 8692-82), изображенного на рисунке 7.









Рисунок 7 - Шлифовальный круг

Максимальный наружный диаметр, мм                                                     D = 300

Высота круга                                                                                                                      H = 63

Диаметр посадочного отверстия                                                                  d = 127

Твердость (ГОСТ 18118-78) - среднетвердый круг.

Зернистость - 50.

Связка керамическая.

Выбор материала режущей части

Материал режущей части инструмента имеет важнейшее значение в достижении высокой производительности обработки.

При выборе марки твердого сплава необходимо помнить, что чем больше содержание в нем карбида титана и чем меньше кобальта, тем больше его износо- и термостойкость, но тем меньше его прочность на изгиб и вязкость, т.е. сплав более хрупкий.

Так как деталь изготовлена из стали то ее рекомендуется обрабатывать инструментами оснащенными двухкарбидным сплавом марки Т15К6.

Для сверл рекомендуется марка инструментального материала Р12.

Выбор периода стойкости режущего инструмента

Стойкостью называется период работы режущего инструмента до его затупления. Так как период стойкости инструмента оказывает наибольшее влияние на скорость резания, правильный выбор этого фактора имеет большое значение.

Период стойкости колеблется в больших приделах. Так, период стойкости, мин, принимают равным: для резцов из быстрорежущей стали - 60; для резцов с пластинками из твердого сплава - 90-120; для сверл из быстрорежущей стали диаметром до 20 мм - 25 - 40, а диаметром свыше 30 мм - 40 - 60; для фрез цилиндрических из быстрорежущей стали - 120, а со вставными ножами из твердого сплава - 180 - 540. Стойкость протяжек - 106 - 500 мин, шлифовального круга - 10 -20 мин.

На величину стойкости инструмента существенное влияние оказывает смазочно-охлаждающая жидкость (СОЖ). Как правило, применения СОЖ облегчает стружкообразование и снижает температуру в зоне резания, что существенно повышает стойкость режущего инструмента.

. Расчет режимов резания

Производительность и себестоимость обработки изделий на металлорежущих станках, качество обработанной поверхности зависят прежде всего от принятых режимов резания. Поэтому важен выбор их оптимальных значений при проектировании технологического процесса механической обработки.