Материал: Технологический процесс изготовления детали

Внимание! Если размещение файла нарушает Ваши авторские права, то обязательно сообщите нам

Технологический процесс изготовления детали

Содержание

Введение

. Исходные данные по заданию

. Тип производства, количество деталей в партии

. Вид заготовки и припуски на обработку

. Структура технологического процесса

. Выбор оборудования и приспособлений

. Выбор инструмента

. Расчет режимов резания

. Нормирование времени, определение расценки и себестоимости механической обработки деталей

. Конструирование приспособления

. Основные сведения о технике безопасности   

Литература        

Введение

В современном обществе уровень жизни людей определяется эффективностью производства. Первоочередной Задачей перестройки отечественной экономики является повышение производительности труда и качества выпускаемой продукции. Это может быть достигнуто на основе высокоэффективных технологий автоматизации производства.

Особенностью современного производства является автоматизация технологических процессов в частности с помощью различных средств управления. Оборудование и методы обработки заготовок являются главным объектом автоматизации.

Одна из главных задач машиностроения ¾ дальнейшее развитие, совершенствование и разработка новых технологических методов обработки заготовок деталей машин, применение новых конструкционных материалов и повышение качества обработки деталей. Особенно большое внимание уделяется чистовым и отделочным технологическим методам обработки, объем которых в общей трудоёмкости обработки деталей постоянно возрастает. Наряду с механической обработкой резанием применяют методы обработки пластическим деформированием с использованием химической, электрической, световой, лучевой и других видов энергии. Весьма прогрессивны комбинированные методы обработки.

Обработка металлов резанием ¾ это процесс срезания режущим инструментом с поверхности заготовки слоя металла в виде стружки для получения необходимой геометрической формы, точности размеров, взаиморасположения и шероховатости поверхностей детали. Обработке резанием уделено наибольшее внимание, что соответствует её значению и объему в современном производстве. Наряду с традиционными системами управления (кулачки, копиры и т. д.) металлорежущим станкам должное внимание уделено системам программного управления. Такие системы позволяют с относительно малыми затратами средств автоматизировать формообразование и произвести за короткое время переналадку оборудования на изготовление других деталей так же в автоматизированном режиме.

Обработка металлов режущими инструментами на станках в современном машиностроительном производстве занимает одно из главных мест в технологическом процессе изготовления изделий. Работа таких инструментов основана на использовании режущего клина. Клин, состоящий из двух поверхностей, сходящихся в острую кромку, может перемещаться относительно обрабатываемого куска металла--- заготовки так, что одна поверхность клина будет давить на заготовку, а кромка разделять заготовку на две неравные части, меньшая из которых будет деформироваться, превращаясь в стружку такое взаимное перемещение клина и заготовки осуществляется в металлорежущем станке, где инструмент или заготовка может устанавливаться в дополнительных устройствах-приспособлениях.

Процесс обработки металлов резанием играет ведущую роль в машиностроении, так как точность форм и размеров и высокая частота поверхностей металлических деталей машин в большинстве случаев обеспечивается только такой обработкой.

Этот процесс успешно применяется во всех без исключения отраслей промышленности.

Обработка металлов резанием является весьма трудоемким и дорогостоящим процессом. Так, например, в среднем в машиностроении стоимость обработки заготовок резанием составляет от 50 до 60% стоимости готовых изделий.

Обработка металлов резанием, как правило, осуществляется на металлорежущих станках. Лишь отдельные виды обработки резанием, относящиеся к слесарным работам, выполняются вручную или с помощью механизированных инструментов

Обработка металлов резанием представляет собой совокупность действий, направленных на изменение формы заготовки путем снятия припуска режущими инструментами на металлорежущих станках, обеспечивая заданную точность и шероховатость обработанной поверхности.

В зависимости от формы деталей, характера обрабатываемых поверхностей и требований, предъявляемых к ним, их обработку можно проводить различными способами: механическими - точением, строганием, фрезерованием, протягиванием, шлифованием и др.; электрическими - электроискровым, электроимпульсным или анодно-механическим, а также ультразвуковым, электрохимическим, лучевыми и другими способами обработки.

1. Исходные данные по заданию

Сталь У9А ГОСТ 1435-74-углеродистые стали повышенной прокаливаемости. она получает высокую твердость в инструментах диаметром до 60-70 мм при закалке с охлаждением в масле и несколько меньше при охлаждении в горячих средах (с температурами 150-200 0С). Это позволяет значительно уменьшить деформацию инструментов.

Сталь используется для изготовления инструментов, работающих в условиях, не вызывающих разогрева режущей кромки; обработки дерева: фрез, зенковок, поковок, топоров, стамесок, долот, пил продольных и дисковых; накатных роликов, плит и стержней для форм литья под давлением оловянно-свинцовистых сплавов. Для слесарно-монтажных инструментов: обжимок для заклепок, кернеров, бородок, отверток, комбинированных плоскогубцев, острогубцев, боковых кусачек. Для калибров простой формы и пониженных классов точности; холоднокатаной термообработанной ленты толщиной от 2,5 до 0,02 мм, предназначенной для изготовления плоских и витых пружин и пружинящих деталей сложной конфигурации, клапанов, щупов, берд, конструкционных мелких деталей, в т. ч. для часов и т. д.

Таблица 1 - механические свойства стали У9А ГОСТ 1435-74

HB

σв, МПа

HRC, Закалка  760-780 С, вода.

192

750

64-66


Таблица 2 - химический состав стали У9А ГОСТ 1435-74

C

Si

Mn

Ni

S

P

Cr

Cu

0,86 - 0,93

0,17 - 0,33

0,17 - 0,28

до 0,2

до 0,018

до 0,025

до 0,2

до 0,2


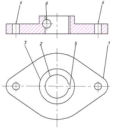
Определим массу детали по формуле (1)

=rv,

где m - масса детали, кг;

r - плотность стали кг/ м3 ;- объем детали м3.

Для стали принимаем r=7,8·103 кг/ м3 ,

Объем детали определим как объем элементарного параллелепипеда с основанием ромба и цилиндра с отверстием:

детали = V1 -V2 + V3- V4- V5- V6;= 0,5·0,17·0,26·0,026 = 5,746·10-4 м3 ;

V2= 0,032 · π · 0,046 = 1,301·10-4 м3 ;

V3 = 0,0452 · π · 0,046 = 2,926·10-4 м3 ;

V4= 2·0,0092 · π · 0,026 = 1,323·10-5 м3 ;= 0,012 · 0,005 · 0,046 = 2,76·10-6 м3 ;

V6= 0,0222 · π · 0,07 = 1,064·10-5 м3 ;детали = 5,746·10-4 - 1,301·10-4 + 2,926·10-4 - 1,323·10-5 - 2,76·10-6 - 1,064·10-5 =

= 7,105·10-4 м3 ; = 7,8·103·7,105·10-4 = 5,5 кг

. Тип производства, количество деталей в партии

В зависимости от размера производственной программы, сложности и трудоемкости изготовления детали различают три типа производства: единичное, серийное и массовое.

Таблица 3 - Тип производства

Тип  производства

Количество обрабатываемых деталей в год


крупных

средних

мелких

Единичное

до 5

до 10

до 100

Серийное

от 5 до 1000

от 10 до 5000

от 100 до 50000

Массовое

свыше 1000

свыше 5000

свыше 50000


Согласно задания производство серийное. В зависимости от количества изделий в партии их трудоемкости изготовления серийное производство подразделяется на мелкосерийное, среднесерийное и крупносерийное, определяемое ориентировочно по следующим данным.

Таблица 4 - Вид производства

Вид  производства

Количество обрабатываемых деталей в год


крупных

средних

мелких

Мелкосерийное

2-5

6-25

10-50

Среднесерийное

6-25

26-150

51-300

крупносерийное

свыше 25

свыше 150

свыше 300


Количество деталей в партии определяется по формуле

 (2)

где N- годовая программа выпуска деталей; N=8765 шт/год;число дней, на которое необходимо иметь запас готовых деталей для

бесперебойной работы цеха (принимается обычно 2-3 дня); t=2 дня;

Ф - число рабочих дней в году; Ф=255 дней.

При пятидневной рабочей неделе (40 часов в неделю) рабочих дней 255.


Если средних деталей в партии 69 штук, то значит это среднесерийное производство.

. Вид заготовки и припуски на обработку

Заготовкой называется предмет производства, из которого изменением формы, размеров, качества поверхностей и свойств материала изготовляют требуемою деталь. Выбор вида заготовки зависит от материала, формы и размера, ее назначения, условий работы и испытываемой нагрузки, от типа производства.

Для изготовления детали применяется отливка из стали У9А.

Наиболее распространены следующие способы литья: в песчаные разовые формы и специальные - в кокили, под давлением, в оболочковые формы, по выплавляемым моделям и центробежное литье.

Выбор способа изготовления отливок зависит от их массы, серийности выпуска и сложности. Принятое распределение отливок по массе приведено в таблице 5.

Таблица 5 - Распределение отливок по массе при литье под давлением

№ группы

Масса отливки ,кг

№ группы

Масса отливки, кг

№ группы

Масса отливки ,кг

1

До 0,2

4

0,2 - 0,5

7

2 - 5

2

0,2 - 0,5

5

0,5 - 1,0

8

5 - 10

3

0,05-0,1

6

1 - 2

9

10 и более


Для изготовления данной детали выбираем литье под давлением. В зависимости от массы отливки литье относится к 8-ой группе и является серийным производством.

Величина припуска на обработку, т.е. толщина снимаемого слоя металла, зависит от вида заготовки и способа ее изготовления, от размеров и формы детали и от требуемых точности и шероховатости обработанных поверхностей.

Для снижения себестоимости обработки и расхода металла припуски должны быть такими, чтобы их можно было снять за минимальное число проходов. В тоже время для нормальной работы режущего инструмента припуск должен превышать толщину твердой литейной корки для литых заготовок или слоя окалины для поковок. Общий припуск на сторону должен включать кроме толщины поверхностного дефектного слоя сумму межоперационных припусков, т. е. слоев, снимаемых на каждой операции, с учетом погрешности установки, отклонений от правильной формы, допусков на размеры заготовки. Величины припусков на механическую обработку штамповочных стальных поковок приведены в таблице 6.

Таблица 6 - Припуски на механическую обработку детали

Наибольший габаритный размер детали, мм

Положение поверхности при  заливке

Припуски при номинальных размерах отливки, мм



до 121

121-260

260

Верх

5,5

6


Низ

4,5

5


Бок

4,5

5


Расчет массы отливки:

детали = V1 - V2 + V3;= 0,5·0,17·0,26·0,037 = 8,177·10-4 м3 ;= 0,0252 · π · 0,0565 = 1,109·10-4 м3 ;

V3 = 0,052 · π · 0,0565 = 4,437·10-4 м3 ;детали = 8,177·10-4 - 1,109·10-4 + 4,437·10-4 = 11,51·10-4 м3 ; = 7,8·103·7,105·10-4 = 8,9 кг

. Структура технологического процесса

Технологической операцией называется законченная часть технологического процесса, выполняемая на одном рабочем месте, в частности, при обработке резанием - на одном станке. Если после обработки части поверхностей заготовка передается на другое рабочие место, а затем возвращается на тот же станок, то дальнейшая обработка на нем составит следующую операцию.

Установом называется часть операции, выполняемая при неизменном закреплении обрабатываемой заготовки.

Позицией называется фиксированное положение, занимаемое неизменно закрепленной обрабатываемой заготовки совместно с приспособлением относительно инструмента или неподвижной части операции.

Технологическим переходом называется законченная часть операции, выполняемая одним и тем же инструментом при постоянных поверхности, образуемой обработкой, технологических режимах и установке.

Проход - это часть перехода, характеризуемая снятием одного слоя металла.

Структура технологического процесса представлена на рисунке 1














Рисунок 1 - Структура технологического процесса

Точение применяется для обработки преимущественно поверхностей вращения, а также резьб и червяков с помощью резцов. Обработка наружных поверхностей называется обтачиванием, обработка внутренних поверхностей вращения - растачиванием, обработка канавок - прорезанием, обработка торцов - подрезанием, а обработка резьб - нарезанием.

Сверление применяется для формообразования цилиндрических отверстий в сплошном металле. Самым распространённым способом обычного сверления является обработка спиральным сверлом. Сверление спиральными сверлами осуществляется па сверлильных, токарных, расточных, многоцелевых и агрегатных станках.

Протягивание - процесс обработки резаньем, при котором инструменту - протяжке, имеющему ряд зубьев сообщается прямолинейное поступательное движение, которое является главным движением и характеризуется скоростью резаньем.

Шлифовальная операция предназначена для окончательной обработки поверхностей, придание поверхности необходимого качества и точности.

. Выбор оборудования и приспособления

Механическая обработка детали состоит из точения, сверлильной, протяжной и шлифовальной операций. Основываясь на габаритные размеры и форму детали, форму поверхностей и их взаимное расположение, технические требования и точности размеров, шероховатости обрабатываемых поверхностей выберем станки для проведения операций.

При выборе типа станка и степени его автоматизации необходимо учитывать следующие факторы:

габаритные размеры и форму детали;