Материал: Техническое обслуживание и ремонт контейнеров

Внимание! Если размещение файла нарушает Ваши авторские права, то обязательно сообщите нам

Все контейнеры оборудуются специальными устройствами для застропки. В крупнотоннажных контейнерах они называются фитингами. Фитинги используются также для крепления контейнеров между собой и к подвижному составу.

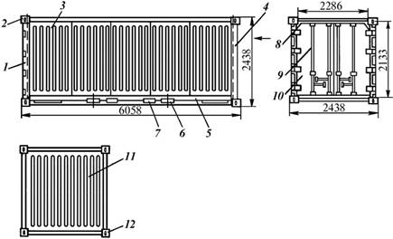
Общий вид крупнотоннажного контейнера показан на рис.1, а основные элементы его конструкции - на рис. 2.

Рис. 1 Общий вид крупнотоннажного контейнера


 

Рис. 2 Основные элементы конструкции контейнера

Перевозка крупнотоннажных контейнеров осуществляется на специализированных длиннобазовых платформах, имеющих стопорные устройства, выступающие над плоскостью пола и при установки контейнера на платформу входящие в отверстие его угловых фитингов. Для перевозки грузов в других типах контейнеров используют полувагоны и платформы, переоборудованные из универсальных.

Для перегрузки и выгрузки контейнеров с подвижного состава железных дорог применяют, в основном, козловые краны, реже автопогрузчики. При больших объемах переработки на контейнерных терминалах используют мостовые краны.

Конструкция специализированных контейнеров

Специальные контейнеры в основном принадлежат промышленным предприятиям и используются ими для доставки сырья, полуфабрикатов и продукции. Все специальные контейнеры можно подразделить на следующие группы:

открытые - для разнообразных навалочных грузов, на качество которых не влияют атмосферные осадки;

закрытые - для разнообразных сыпучих и порошкообразных грузов, на которые вредно влияют атмосферные осадки, а также для пылящих грузов;

контейнеры-цистерны, оборудованные устройствами для налива и слива жидких продуктов;

изотермические контейнеры, оборудованные приборами охлаждения и без них;

прочие- для отдельных грузов с определенным режимом хранения.

Размеры специальных контейнеров определяются теми же требованиями, что и универсальных, т.е. наиболее эффективной перевозкой на железнодорожных платформах и в грузовых автомобилях, а также технологическими процессами предприятий. По конструктивным особенностям специальные контейнеры делят на жесткие, мягкие (эластичные), комбинированные.

Контейнеры жесткой конструкции изготавливают из стали и дерева, иногда из стеклопластика и из сплавов алюминия, что более экономично; эластичные контейнеры - из прорезиненных тканей и синтетических материалов. Основное преимущество последних - значительно меньший объем в порожнем состоянии, малый коэффициент тары. Комбинированные контейнеры изготавливают из стали, сплавов алюминия и эластичных тканей. Разработан типаж специальных контейнеров для перевозок различных грузов на железнодорожном и других видах транспорта (ГОСТ 19417-74). Эти контейнеры делятся на восемь типов в зависимости от свойств грузов:

СК-I - сыпучие грузы (порошок или зерно), уплотняющиеся и не уплотняющиеся, требующие специальных условий для защиты от атмосферных осадков (минеральные удобрения, цемент, сода кальцинированная и др.);

СК-II - сыпучие грузы с повышенной влажностью, требующие специальных условий перевозки (рудные концентраты: свинцовые, цинковые, медные);

СК-III - штучные грузы правильной геометрической формы, не боящиеся атмосферных осадков (кирпич строительный и огнеупорный, черепица, шифер и др.);IV - наливные грузы, текучие, не требующие специальных устройств для подогрева перед наливом и сливом (кислоты промышленные, спирт этиловый и метиловый, органические растворители и др.);V - наливные грузы средней вязкости, требующие устройств для подогрева перед наливом и сливом (масла осветленные и минеральные, некоторые нефтепродукты);VI - наливные грузы большой вязкости, заливаемые в горячем состоянии и затвердевающие даже при температуре выше 0 °С, превращающиеся в монолит (парафин, фенол синтетический, хлористый кальций, сернистый и едкий натрий);VII - полужидкие грузы (лаки масляные, краски готовые; красители сернистые и др.);VIII - строительное (листовое) стекло разных размеров.

Выбор параметров для специальных контейнеров зависит от физико-химических свойств грузов, грузоподъемности, перегрузочных и транспортных средств, а также габаритов подвижного состава.

Неисправности контейнеров, с которыми они не допускаются к эксплуатации

Отдельное внимание грузоотправитель должен обратить на маркировку. По возможности необходимо проверить правильность контрольного числа, а также наличие табличек КБК и допуска к перевозке за таможенными печатями и пломбами. В случае подачи под погрузку контейнеров разделенного парка бывшего МПС СССР (т. е. с маркировкой SZDU) следует убедиться в наличии цифрового обозначения ниже маркировочного кода в виде двузначного числа, соответствующего одной из бывших республик СССР. При его отсутствии, искаженном коде, отсутствии табличек, а также просроченной дате (или дате ремонта, срок которого истечет до прибытия груза в страну назначения) грузоотправитель также может отказаться от погрузки груза в такой контейнер.

Контейнеры нестандартные, т. е. без табличек КБК, имеющие маркировку, но отличающиеся по размерам и оборудованные присоединительными устройствами (фитингами и др.), аналогичными стандартным, а также специализированные контейнеры допускаются к перевозке только по согласованию между участвующими в перевозке железными дорогами.

Если грузоотправитель произвел погрузку в неисправный контейнер или контейнер, непригодный для перевозки данного груза (например, требуется наличие естественной вентиляции), то железная дорога не несет ответственности за возникшие вследствие этого полную или частичную утрату, повреждение, порчу или снижение качества груза по другим причинам.


Техническое обслуживание контейнеров

Повреждения контейнеров во время загрузки, разгрузки и выполнения перегрузочных операций вызываются нарушением правил их эксплуатации. Каждое повреждение контейнера, вызванное указанными причинами, должно оформляться актом о повреждении по форме ВУ-16к, служащим основанием для предъявления счета за нанесенный ущерб. Акт по указанной форме составляется в трех экземплярах при поступлении на станцию поврежденного груженого контейнера от грузоотправителя либо грузополучателя (без требуемого оформления) или порожнего контейнера по регулировочному заданию. Акт составляется также на каждый случай повреждения контейнера на контейнерном пункте станции или на обменном пункте. При этом акт составляется осмотрщиком в присутствии приемосдатчика и к нему, затем прилагается счет. Если станция приняла от грузоотправителя (грузополучателя) поврежденный контейнер без надлежащего документального оформления, то счет за нанесенный ущерб предъявляется станции.

На поврежденные контейнеры, поступившие по регулировке, при наличии в сопроводительном документе штампа о техническом состоянии вагонное депо предъявляет счет с приложением одного экземпляра акта вагонному депо, участвовавшему в отправлении неисправного контейнера, а при отсутствии указанного выше штампа счет предъявляется станции отправления.

Номера всех неисправных контейнеров должны заноситься осмотрщиком в книги номерного учета формы ВУ-31к. Сведения о них должны ежедневно на 18 ч сообщаться технику вагонного депо, в состав которого входит ПТОРК.

В число неисправных контейнеров за отчетные сутки включаются все не отремонтированные контейнеры и признанные непригодными для использования. Заявку сменному мастеру механизированной дистанции погрузочно-разгрузочных работ (МЧ) на перестановку неисправных контейнеров с контейнерной площадки на ремонтную площадку ПТОРК и, наоборот, отремонтированных передает бригадир ремонтной бригады. При этом в заявке должны быть перечислены номера всех переставляемых контейнеров. Для избежание порожнего пробега кранов подача неисправных и уборка отремонтированных контейнеров производятся по одной заявке, причем номера отремонтированных контейнеров подписывает бригадир ремонтной бригады, а неисправных контейнеров старший мастер МЧ. Таким же образом порожние контейнеры, требующие текущего ремонта, подаются с контейнерной площадки на ремонтную, а отремонтированные с нее на контейнерную площадку.

Текущий ремонт контейнеров выполняется для устранения следующих неисправностей: трещин, разрывов, проколов и вмятин обшивки, пробоин в обшивке и крыше, разрушений сварных швов; при обрывах и трещинах в дверных петлях, а также при неисправности угловых фитингов.

Текущий ремонт выполняется на специально выделенной площадке в крытом помещении (ангары), оснащенной необходимым оборудованием, оснасткой, приспособлениями и инструментами, материалами и запасными частями.

При среднесуточной программе 10 контейнеров на площадке предусмотрено две позиции: на первой производятся сварочные работы, а на второй слесарные, столярные, малярные.

Перемещение контейнеров с позиции на позицию производится краном грузоподъемностью 5 т.

В соответствии с назначением ремонтных позиций на них устраняются соответствующие технические неисправности.

Окраска контейнеров производится только при плановом текущем ремонте.

При текущем ремонте производится только подкраска поврежденных участков и исправление трафаретов.

Восстанавливаются также утерянные детали.

Для ритмичной и производительной работы ремонтно-комплектовочные участки (слесарно-механический, ремонта створок дверей, кузнечный и деревообрабатывающий) должны поддерживать неснижаемый запас деталей и узлов на установленном уровне.

На этих участках осуществляется ремонт снятых деталей, а также изготовление новых узлов и деталей, расходуемых при выполнении текущих и плановых текущих ремонтов.

При выполнении ремонтов следует строго выполнять требования по технике безопасности. Необходимо следить за тем, чтобы не нарушались маршруты перехода от производственных помещений к контейнерам, находящимся на площадках и подлежащих осмотру. В зимнее время до начала ремонта должна быть удалена ледяная корка на крыше контейнера. При этом осмотр боковых стен и пола контейнера, находящегося на автомобиле, должен производиться только в присутствии водителя. Осмотр крыш контейнеров, установленных на автомобиле, должен осуществляться со смотровой вышки.

Во время осмотра контейнеров должны строго соблюдаться сигналы, подаваемые машинистом крана контейнерной площадки. При предупредительном сигнале в виде повторяющегося зуммера все, кто находится на площадке, должны немедленно выйти из зоны работы крана.

Обязательным является выполнение требований Инструкции по технике безопасности и производственной санитарии при выполнении электросварочных работ, а также Санитарных правил при сварке, наплавке и резке металлов.

контейнер железнодорожный техническое обслуживание

Требования к техническому ремонту контейнеров

Содержание контейнеров в готовности для безопасной и сохранной перевозки грузов и безопасного выполнения перегрузочных операций требует своевременного выполнения всех видов установленных ремонтов и устранения мелких повреждений, возникающих при эксплуатации контейнеров.

Ремонты контейнеров и их техническое обслуживание производятся в соответствии с указаниями, утвержденными в установленном порядке Главным управлением вагонного хозяйства МПС и содержащимися в документах: Капитальный и плановый текущий ремонты контейнеров массой брутто 3 и 5 т, Перспективный типовой технологический процесс капитального и планового текущего ремонтов контейнеров массой брутто 3 и 5 т, Руководство по капитальному и плановому текущему ремонтам контейнеров массой брутто 10, 20 и 30 т, Типовой технологический процесс планового текущего ремонта контейнеров массой брутто 10, 20 и 30 т.

В документах установлены единые для всех вагонных депо технические требования к конструкции узлов и деталей при капитальном и плановом текущем ремонтах средне тоннажных контейнеров, допускаемые нормы износа основных узлов и деталей контейнеров. Для средне-тоннажных металлических контейнеров, выпускаемых с 1970 г., предусматривается выполнение капитального ремонта через 6 лет после постройки и предыдущего капитального ремонта, а планового текущего ремонта через 2 года после постройки либо предыдущего капитального ремонта и один год в остальное время эксплуатации. Для тех же металлических контейнеров постройки до 1970 г. сроки установлены соответственно 4 года и ежегодно. Неисправные контейнеры, для которых не наступил срок периодического ремонта, подлежат текущему ремонту. В то же время если техническое состояние контейнера позволяет продлить межремонтный срок, то это разрешается на время не более одного года Главным управлением вагонного хозяйства.

Контейнеры, нуждающиеся в досрочных ремонтах в объеме капитального и планового текущего, ремонтируются с разрешения начальника службы вагонного хозяйства и дорожного приемщика вагонов после составления акта или описи, подтверждающей потребность в ремонте. Изменение конструкций деталей и узлов контейнеров при их ремонтах не разрешается. Документами, регламентирующими порядок ремонта, устанавливаются:

операции, выполняемые при подготовке средне тоннажных контейнеров к ремонту;

технология производства электросварочных работ при всех видах ремонта;

технология ремонта каркаса, обшивки, дверей, пола, окраски и способы производства маркировки;

контроль качества работ, выполняемых при ремонтах;

правила приемки, методы испытаний, нормы нагружения и условия проведения испытаний после капитального ремонта.

Требования к выполнению ремонтов, а также технология их производства дифференцированы в зависимости от их вида - капитального и планового текущего.

Текущий ремонт должен производиться на специально выделенной площадке в крытом помещении, на которой размещаются требуемое оборудование, оснастка, приспособления, инструменты, материалы и запасные части.

Площадка (отделение), выделенная для выполнения планового текущего ремонта контейнеров, по своему оборудованию и техническому оснащению в целом, а также по обеспечению материалами и запасными частями должна соответствовать требованиям технологического процесса планового текущего ремонта контейнеров.

На пунктах планового текущего ремонта контейнеров (ПТОРК) или в депо, в состав которого он входит, обязательно должно быть ремонтно-комплектовочное отделение, в функции которого входит изготовление и ремонт деталей и узлов контейнеров, заменяемых в процессе производства ремонта.

Контроль технического состояния контейнеров осуществляется техническим осмотром их в груженом и порожнем виде: перед погрузкой на подвижной состав и выгрузки с него, до отправления на склады (обменные пункты) клиентуры и после возврата из последних.

Технический осмотр осуществляется: наружный груженых контейнеров, наружный и внутренний - порожних контейнеров. Он выполняется приемосдатчиком контейнерного пункта при совмещении в одном лице обязанностей приемосдатчика и осмотрщика либо осмотрщиком. В обязанности последнего входит в момент выгрузки из вагонов тщательный осмотр, особенно основания (нижней рамы) контейнеров, а по окончании выгрузки - также полный осмотр контейнеров.

Результаты осмотра формулируются в следующем виде: "Контейнер по наружному осмотру годен под погрузку", "Контейнер порожний годен под погрузку", "Контейнер годен под погрузку легкогорючих грузов" и "Контейнер под погрузку не годен".

Для осмотра контейнеров предназначена эстакада, сооруженная по утвержденному проекту. Для удостоверения технического состояния контейнеров осмотрщик должен пользоваться четырьмя штемпелями с указанным выше текстом. Результаты осмотра каждого контейнера в отдельности заносятся в книгу формы ВУ-15К и сообщаются приемосдатчику.