Материал: Строительные машины (в вопросах и ответах)

Внимание! Если размещение файла нарушает Ваши авторские права, то обязательно сообщите нам

лия от домкратов передаются прокладываемой трубе через задний ее торец с помощью стальной нажимной рамы (траверсы) или стального нажимного кольца, которые предназначены для равномерного распределения давления по периметру торца трубопровода.

Производительность установок для проходок способом продавливания зависит от физико-механических свойств грунта, диаметра и протяженности трубопровода, мощности домкратов, скорости хода их штоков, а также от способа разработки и удаления грунта и составляет в среднем 0,5…1,5 м/ч.

Рис. 115. Установка для прокладки трубопроводов продавливанием с механизированной разработкой грунта: 1 – ножевая секция; 2 – ковш; 3 – система рычагов; 4 – тяговый канат; 5 – торец прокладываемого звена трубопровода; 6 – канат; 7, 9 – траверса; 8 – нажимные патрубки; 10 – двухбарабанная лебедка; 11 – насосная станция; 12 – опорный башмак, 13 – гидравлические домкраты; 14 – основная рама; 15 – направляющая

рама

151

Способ щитовой проходки применяют при строительстве на глубине 8…10 м и более магистральных канализационных и водосточных коллекторов, а также туннелей, в которых прокладывают одновременно трубопроводы и кабели различного назначения.

Наибольшее распространение получили цилиндрические щиты, внутренний диаметр которых выбирается в соответствии с требуемым наружным диаметром сооружаемого коллектора или туннеля. Под защитой щита производится разработка грунта, нагрузка его в транспортные средства и устройство обделки подземного сооружения. Щит вдавливается в грунт по оси проходки гидравлическими домкратами, расположенными по его периметру. Опорой для гидродомкратов служит обделка сооружения. Разработка грунта, поступающего внутрь щита, производится в головной его части, а сооружение обделки – в хвостовой.

Эвакуация грунта на поверхность и подача материалов (элементов сборной обделки, цемента и т.д.) к щиту производится средствами горизонтального внутритуннельного (двухосные тележки со съемными кузовами, вагонетки, тележки-блоковозки, электрокары) и вертикального (клетьевые подъемники, стреловые краны и др.) транспорта.

Наибольшее распространение получили цилиндрические проходческие механизированные щиты с роторным рабочим органом со спиральными лопатками. Скорость проходки туннеля механизированными щитами составляет 3…7 м в смену.

47. В чем заключается принцип действия бурильно-крановых машин?

Самоходные бурильно-крановые машины широко применяют в городском строительстве при устройстве свайных оснований зданий и сооружений, опор мостов, трубопроводов, линий электроснабжения и связи, колодцев, ограждений, а также при обустройстве дорог. Они представляют собой совместно действующее бурильное и специальное крановое оборудование, смонтированное на шасси серийных автомобилей и тракторов, привод которого осуществляет-

152

ся от двигателя базовой машины или самостоятельной силовой установки. Бурильным оборудованием производят механическое вращательное бурение вертикальных и наклонных скважин в талых и сезонно промерзающих грунтах, а специальным крановым оборудованием устанавливают в пробуренные скважины сваи, столбы, железобетонные опоры, блоки колодезных облицовок и другие элементы.

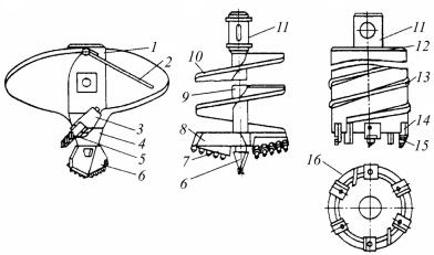
В качестве сменного бурильного инструмента (рис. 116) бу- рильно-крановых машин используются лопатные, кольцевые и шнековые буры, закрепляемые на конце бурильной штанги, которой сообщается крутящий момент и усилие подачи. Бурение скважин осуществляется при вращении бурильного инструмента с одновременным его движением вниз. В процессе бурения скважина необходимой глубины образуется за несколько повторяющихся циклов, каждый из которых включает в себя последовательно выполняемые операции бурения, подъема бурильного инструмента на дневную поверхность, его разгрузку и возврат в забой.

Бурильно-крановые машины классифицируют по следующим признакам:

а) по типу базовой машины – автомобильные и тракторные; б) по принципу действия бурильного оборудования – циклич-

ного и непрерывного действия; в) по типу привода бурильного и кранового оборудования –

с механическим, гидравлическим и гидромеханическим приводом; г) по виду исполнения бурильно-кранового оборудования – со-

вмещенное на одной мачте и раздельное (бурильное оборудование смонтировано на мачте, крановое – на стреле);

д) по возможности поворота рабочего оборудования в плане – неповоротные и поворотные машины;

е) по расположению рабочего оборудования на базовом шасси – с задним и боковым расположением у неповоротных машин, на поворотной платформе – у поворотных.

Главный параметр бурильно-крановых машин – максимальная глубина разбуриваемой скважины. К основным параметрам относят-

153

ся: диаметр бурения, угол бурения, грузоподъемность кранового оборудования.

аб

в

Рис. 116. Буры бурильно-крановых машин: а – лопастной: 1 – корпус; 2 – заслонка; 3 – резцедержатели; 4 – направляющая; 5 – сменные резцы; 6 – забурник; б – шнековый: 7 – резцы; 8 – сменная бурильная головка; 9 – трубчатый остов; 10 – транспортирующие грунт спирали; 11 – хвостовик; в – кольцевой: 12 – корпус; 13 – винтовые лопасти; 14 –

кулачки; 15 – резцы; 16 – отклоняющиеся планки

Неповоротная бурильно-крановая машина на базе автомобиля предназначена для бурения в талых и сезонного промерзания грунтах I…IV категорий скважин диаметром 0,36…0,8 м на глубину до 3 м. Производительность неповоротных бурильно-крановых машин 3,6…4,5 опор/ч, максимальная глубина бурения 2,0…3,0 м, угол бурения 62…105о, диаметр бурения 0,36…0,6 м, грузоподъемность кранового оборудования 1,25 т, максимальная длина устанавливаемых столбов, свай, опор и других элементов 10…12 м.

Бурильно-крановая машина (рис. 117) с поворотным в плане рабочим оборудованием смонтирована на шасси автомобиля и предназначена для бурения скважин диаметром 0,63 м на глубину до 15 м в талых и мерзлых грунтах.

154

Рис. 117. Неповоротная бурильно-крановая машина: 1 – базовый автомобиль; 2 – гидроцилиндр; 3 – бурильная мачта; 4 – крюковая обойма; 5 – вращатель; 6 – лопастной бур; 7 – забурник; 8 – гидродомкрат; 9 – карданный вал; 10 – раздаточная коробка; 11 – коробка отбора мощности

При бурении скважин бурильно-крановые машины опираются на выносные опоры – гидродомкраты.

48. Какие существуют способы уплотнения грунтов, дорожных оснований и покрытий? Оборудование и машины, применяемые для этого

Для искусственного уплотнения грунтов, гравийно-щебеноч- ных оснований и асфальтобетонных смесей при сооружении земляного полотна оснований и покрытий городских дорог, площадей и улиц применяют много различных машин, осуществляющих уплотнение укаткой, трамбовкой и вибрацией (рис. 118).

При укатке уплотнение происходит под статическим действием массы катка, перекатывающегося по уплотняемой поверхности. При трамбовании уплотнение грунта достигается динамическим

155