Материал: Романцов В.П., Романцова И.В., Ткаченко В.В. Сборник задач по Дозиметрии и защите от ионизирующего излучения

Внимание! Если размещение файла нарушает Ваши авторские права, то обязательно сообщите нам

Р

а

R

x

dr

r

H

 

dx

dV

Рис. О.11 к задаче 4.17

Обозначим х + а = у, тогда

 

 

qV

H a

 

 

 

qV

H a

 

 

 

 

 

 

 

 

 

 

 

 

 

 

 

 

 

 

 

ln(y 2

R 2 )

 

ln у 2

 

 

 

 

 

 

 

 

 

 

 

 

 

 

 

 

4

 

 

 

 

 

 

 

 

 

 

 

 

 

 

 

 

 

4

 

a

 

 

 

 

a

 

 

 

 

 

 

 

 

 

 

 

 

 

 

 

 

 

 

 

 

 

 

 

 

 

 

 

 

 

 

 

 

 

 

 

 

 

 

 

 

 

 

 

 

 

 

 

q

 

 

 

 

 

 

 

 

 

 

y

 

H a

 

 

 

 

 

 

 

 

 

 

 

 

 

 

 

 

 

 

 

 

 

 

 

 

 

y ln y2

 

 

2 y

H a

 

 

 

 

 

 

V

 

y ln( y2

R2 ) 2 y 2R arctg

 

 

 

 

 

 

 

 

 

 

 

 

 

 

 

 

 

 

 

 

 

4

 

 

 

 

 

 

 

 

R

a

 

 

 

 

 

 

 

a

 

 

 

 

 

 

 

 

 

 

 

 

 

 

 

 

 

 

 

 

 

 

 

 

 

 

 

 

 

 

 

 

 

 

 

 

 

 

 

 

 

 

 

 

 

 

 

 

 

 

 

 

 

 

 

 

 

 

q

 

 

 

 

R

2

 

 

 

 

 

H a

 

 

a

 

 

a

2

R

2

 

 

 

 

 

 

 

 

 

 

 

 

 

 

 

 

 

 

25

 

 

V

 

(H a) ln 1

 

 

 

 

2R arctg

 

 

 

 

2R arctg

 

 

a ln

 

 

 

 

 

.

 

 

 

(H a)2

 

 

 

 

 

 

 

 

a2

 

 

4

 

 

 

 

 

 

R

 

 

R

 

 

 

 

 

 

 

 

 

 

 

 

 

 

 

 

 

 

 

 

 

 

 

 

 

 

 

 

 

 

 

 

 

 

 

 

 

 

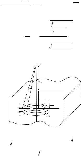
4.18. Элемент объема dV = 2 r dr dx (рис. О.12). Плотность потока

 

 

 

первичных гамма-квантов в точке Р, обусловленная элементом излу-

 

 

 

чающего объема

dV,

с

 

учетом

 

поглощения

в

 

источнике

 

 

 

 

 

 

 

 

 

 

 

 

 

 

 

 

 

 

 

 

x

 

 

 

 

 

 

 

 

 

 

 

 

 

ln(x 2

a 2 )dx x ln(x 2 a 2 ) 2x 2a arctg

 

 

 

 

 

 

 

 

 

 

 

 

 

 

 

 

 

 

 

 

 

 

 

 

 

 

 

25

a

 

 

 

 

 

 

 

 

 

 

 

 

ln x 2 dx x ln x 2 2x .

141

 

 

x

 

 

 

 

 

 

 

 

 

 

 

 

 

qV dV e

 

 

 

 

 

r dr dx

 

x

 

 

 

cos

qV

 

 

 

 

 

 

 

cos ,

где

ли-

 

 

 

 

d 4 r 2 (a x) 2 2 r 2 (a x)2 e

 

 

 

 

нейный коэффициент ослабления -квантов в среде, угол видимо-

сти элемента ds из точки Р,

cos

 

a x

. Полная плотность

(a x) 2

r 2

 

 

 

 

 

 

 

 

 

 

 

 

 

 

 

 

 

 

 

x

 

2

 

2

 

 

 

 

 

 

q

 

 

r e a x

(a x)

r

 

 

 

 

 

потока в точке Р

 

V

dx

 

2

(a x)

2

dr .

 

 

 

 

 

 

2

0

0

r

 

 

 

 

 

 

 

 

 

 

 

 

 

 

 

 

 

 

 

 

 

Сделаем замену переменной: t = x

r 2

(a x)2

, тогда пределы

 

 

a x

 

 

 

 

 

 

 

 

 

 

 

 

 

 

 

 

интегрирования при r = 0 t = x; при r = t = . Запишем

 

 

 

 

 

Р

 

 

 

 

 

 

 

 

 

 

 

 

 

 

 

 

а

 

 

 

 

 

 

 

 

 

 

 

 

 

 

 

 

 

 

 

 

 

 

 

 

 

 

 

d

 

 

 

 

 

 

 

 

 

 

 

 

 

 

 

 

 

 

х

 

 

 

 

 

 

 

 

 

 

 

 

 

 

 

 

dr

 

 

 

 

 

 

 

 

 

 

r

 

 

 

 

 

 

 

 

 

 

 

 

 

 

 

 

 

 

 

 

 

 

 

 

 

 

 

 

 

 

 

 

 

 

dV

 

 

 

 

 

 

 

 

 

Рис. О.12 к задаче 4.18

 

 

 

 

 

 

 

 

dt

 

x

 

 

 

 

 

r

 

 

 

 

 

a x

 

 

 

 

 

 

 

 

 

 

 

 

 

 

, отсюда r dr

 

 

r 2 (a x)2

dt .

 

 

a x

 

 

 

 

 

 

 

 

 

 

 

dr

 

 

 

 

r

2

(a x)

2

 

 

 

 

 

x

 

 

 

 

 

 

 

 

 

 

 

 

 

 

 

 

 

 

 

 

 

 

 

 

 

 

 

 

 

 

 

 

 

 

qV

 

 

a x

 

 

 

 

 

 

 

1

 

 

 

Тогда

dx e t

 

r 2 (a x)2

 

 

 

 

 

 

dt

 

 

 

r

2

(a x)

2

 

 

 

 

 

2

0

 

 

 

x

 

 

 

 

 

 

 

 

 

 

 

 

 

 

 

 

 

 

 

 

 

 

 

 

 

 

 

 

 

 

 

 

 

 

 

 

 

 

 

 

 

 

 

 

 

 

 

142

 

 

 

 

 

 

 

 

 

 

 

q

 

 

e

t

dt

 

=

V

dx

 

. Второй интеграл (по t) является интегральной

2

 

t

 

 

0

x

 

 

 

показательной функцией E1( x)26. Тогда, исходя из свойств интегральных показательных функций,

 

qV

 

 

 

qV

 

 

 

 

 

 

E1( x)dx

qV

E2

(0)

.

 

 

 

 

2

 

 

 

 

2

0

 

 

 

2

 

 

 

 

 

 

 

 

 

 

 

 

 

 

4.19. Поверхностный керма-эквивалент kes =

ke

, где ke

об-

Sбок.

щий керма-эквивалент, Sбок. – площадь боковой поверхности цилиндра, Sбок. = 2 R H. Тогда, согласно формулам (4.1) и (4.19),

 

 

 

 

 

ke

 

K a = 4 ГК (qs

Аs) = 4 ГК Аs arctg1 =

4 kes

 

=

 

=

4

2 R H

 

 

 

 

 

=0,314 Гр/с.

4.20.As = 7,15 107 Бк/м2; m = 9,23 мг.

4.21.а) 2,6 10-12 Зв; б) 6,8 10-12 Зв (бесконечное полупространство – воздух, плотность потока находится по формуле (4.22), линейный коэффициент поглощения en для воздуха в табл. П.9).

4.22.1 мкЗв.

4.23.а) 0,23 мГр/ч; б) 0,56 мГр/ч – с учетом многократно рассе-

янного -излучения в воде.

4.24. Плотность потока, создаваемая излучением боковой поверхности цилиндра, может быть найдено по формуле (4.15). Эллиптический интеграл F( ,k) находится из табл. П.37 для углов

 

 

 

 

 

 

 

 

= arctg

H

400;

k = arcsin

2 r R

 

= 600.

r R

r R

 

 

 

 

 

 

Тогда F(k = 600; = 400) = 0,7436. Мощность воздушной кермы,

обусловленная

 

излучением

боковой поверхности цилиндра,

 

 

 

 

 

 

 

 

 

e

y

 

 

 

 

26 En(x) = x n 1

dy = En 1 ( y)dy интегральные показательные функции. В

 

 

y

n

x

 

 

 

x

 

 

 

 

 

 

 

 

 

 

 

e

y

 

частности, E1(x) =

 

dy , а значения E2(0) = E1 ( y)dy = = 1; E2( ) = 0. Функ-

 

 

 

 

 

x

 

y

0

 

 

 

 

 

 

ции Е1(х), Е2(х) являются табулированными.

143

 

As R

 

K a,бок. = 4 ГК

 

0,7436, где As – поверхностная активность.

2(r R)

 

 

Мощность воздушной кермы, обусловленная излучением дна цилиндра, вычисляется по формуле (4.14). Поверхностная активность Аs, обусловленная излучением дна и стенок, составляет Аs 1,5 1010 Бк/м2.

4.25.0,22 мг.

4.26.0,47 нГр/ч.

5.1.= ln5/d 1,6 см-1; 0,53 МэВ (табл. П.8).

5.2.2,84.

5.3.Представим кратность ослабления в виде k = l 10m, где l = 1,

m = 3.

Тогда, согласно формуле (5.17), толщина защиты

d =

(Pb, ε

 

= 0,662 МэВ) 73,7 г/см2

(табл. П.23), что с учетом

1000

 

 

 

плотности свинца (табл. П.3) составляет 6,5 см. Чтобы решить задачу по универсальным таблицам, необходимо учесть поправку на барьерность D (табл. П.23), т.е. кратность ослабления kбар = 1000, которая задана для барьерной геометрии, нужно преобразовать в k для бесконечной геометрии k = 103 0,984 = 984. Для этого значения k из табл. П.29 находим d = 6,5 см.

5.4.73,1 см.

5.5.22,2 см.

5.6.а) 14,1 см по слоям ослабления; б) 13,8 см по универсальным таблицам.

5.7 Кратность ослабления k = 2 103. Если известна величина слоя десятичного ослабления 1/10, то кратность ослабления можно рассчитать из соотношения k = 10n, где n – число слоев десятичного ослабления: 2 103 = 10n, откуда n = lg2 103. Таким образом, толщи-

на защиты d = 1/10 n = 66 см.

5.8. Представим исходные данные в виде табл. О.1. В соответствии с определением керма-эквивалента (формула (2.37)) вклад рi

каждой -линии в керма-эквивалент составит рi =

ГK,i

 

ГK,i

.

5

 

 

1

 

 

ГK,i

 

 

 

 

 

 

i 1

 

 

 

Парциальная кратность ослабления -излучения i-й энергетической группы равна ki = k ni, т.е. k1 = 0,5 103 = 500 и т.д.

144

Таблица О.1

 

 

ГК,i,

pi =

 

ГK,i

 

 

 

 

i, МэВ

5

 

ki = k pi

di, см

1/2, см

 

 

аГр м2/(с Бк)

 

ГK,i

 

 

 

 

 

i 1

 

 

 

 

0,1

 

0,5

0,5

 

 

500

76

 

 

 

 

 

 

 

 

 

 

0,2

 

0,2

0,2

 

 

200

80

 

 

 

 

 

 

 

 

 

 

0,4

 

0,1

0,1

 

 

100

83

 

0,8

(к)

0,1

0,1

 

 

100

98

11

 

 

 

 

 

 

 

 

 

1,0

(г)

0,1

0,1

 

 

100

105

12

 

 

 

 

 

 

 

 

 

 

По универсальным таблицам (табл. П.26) и полученным парциальным кратностям ослабления находим необходимые толщины защиты di для каждой линии. Из полученных данных видно, что главная линия – это линия с энергией ε5 = 1 МэВ, конкурирующая с энергией ε4 = 0,8 МэВ. Разность между толщинами защиты для главной и конкурирующей линий составит = dгл dк = 105 – 98 = = 7 см.

По таблице П.26 определяются слои половинного ослабления главной и конкурирующей линий. Слой 1/2 для толщины d1 = 98 см, ослабляющей излучение в 100 раз, находится следующим образом: сначала по табл. П.26 определяется, какая толщина защиты требуется для ослабления излучения в k = 200 раз: d2 = 109 см; далее из толщины d2, ослабляющей излучение в 200 раз, вычитается толщина защиты d1, ослабляющая излучение в 100 раз, – это и будет слой половинного ослабления 1/2, ослабляющий излучение в два раза именно на этой толщине (d = 98 см). Таким образом, слой половинного ослабления конкурирующей линии 1/2к = d2 d1 = 109 –98 = = 11 см. Аналогично находится 1/2 для главной линии с ε5 = 1 МэВ:

1/2Г = 117 – 105 = 12 см.

Окончательная толщина защиты определяется по формуле

(5.11), поскольку значение 1/2max (12 см) больше разности (7 см) между толщинами защит для главной и конкурирующей линий.

Таким образом, искомая толщина защиты d = 110 см.

5.9.Для k = 25 d = 9,8 см; для k = 103 d = 22 см.

5.10.d = 69,7 см. Главная линия – с энергией 1,25 МэВ, конкурирующая – 0,835 МэВ. При решении необходимо использовать линей-

145