Материал: Пряхина М.В., Устюжанин В.Н. Психология в деятельности сотрудников ОВД

Внимание! Если размещение файла нарушает Ваши авторские права, то обязательно сообщите нам

При кратковременных контактах люди обычно опираются на сложившиеся эталоны восприятия. Отождествляя собеседника с определенным эталоном на основе некоторых общих признаков между ними, мы приписываем ему одновременно и множество других черт, которые, по нашему опыту, обычно встречаются у людей такого типа.

Восприятие людей с опорой на эталоны, стереотипы связано с целым рядом типичных ошибок и так называемых «эффектов».

1.Эффект проекции — приятному собеседнику люди склонны приписывать свои собственные достоинства, а неприятному свои недостатки, т. е. наиболее четко выявлять у других те черты, которые ярко представлены у них самих.

2.Эффект средней ошибки — тенденция смягчать оценки наиболее ярких особенностей другого человека в сторону среднего показателя.

3.Эффект ореола — когда человека начинают считать выдающимся во всех отношениях после первой удачи или, наоборот, считать ущербным во всех отношениях после неудачи.

4.Эффект порядка — когда при противоречивой информации о человеке после первой встречи большой вес придается данным, полученным вначале (при общении со старыми знакомыми, наоборот, больше доверяется последним сведениям).

Императивное общение — это авторитарная, директивная форма взаимодействия с партнером по общению в целях достижения контроля над его поведением, установками и мыслями, принуждения его к определенным действиям или решениям.

Манипулятивное общение — это форма межличностного общения, при которой воздействие на партнера по общению в целях достижения своих намерений осуществляется скрытно.

Диалогическое общение — это равноправное субъект-субъектное взаимодействие, имеющее целью взаимное познание, самопознание партнеров по общению.

Прагматическая функция общения реализуется при взаимодействии людей в процессе совместной деятельности. Функция подтверждения. В процессе общения с другими людьми человек получает возможность познать, утвер-

дить и подтвердить себя.

Функция организации и поддержания межличностных отношений связана с оцениванием людей и установлением определенных эмоциональных отношений — либо позитивных, либо негативных по своему знаку.

Внутриличностная функция общения реализуется в общении человека с самим собой (через внутреннюю или внешнюю речь).

101

3.ПСИХОЛОГИЯ ТРУДА

ИПРОФЕССИОНАЛЬНОЙ ЮРИДИЧЕСКОЙ ДЕЯТЕЛЬНОСТИ

3.1.ОСОБЕННОСТИ ЮРИДИЧЕСКИХ ПРОФЕССИЙ

Юридические профессии характеризуются чрезвычайным разнообразием решаемых задач. Программа решения этих задач может быть выражена в самой общей форме, которая, как правило, сформулирована в правовой норме.

Вся юридическая деятельность, при всей ее сложности и разнообразии, регулируется правом, и это накладывает отпечаток на личность каждого юриста. Уже при планировании своей деятельности любой работник мысленно сопоставляет свои будущие действия с нормами законодательства, которые регламентируют эти действия. Практически для всех юридических профессий одной из главных сторон деятельности является коммуникативная деятельность, заключающаяся в общении в условиях правового регулирования.

Для большинства юридических профессий характерна высокая эмоциональная напряженность. Причем чаще это связано с отрицательными эмоциями, с необходимостью их подавлять, а эмоциональную разрядку откладывать на сравнительно длительный период времени. Для многих юридических профессий характерна необходимость преодолевать сопротивление отдельных лиц, а в некоторых случаях и микрогрупп. По существу, для всех юридических профессий характерен творческий аспект труда, который вытекает из перечисленных характеристик.

Каждый, кто силой обстоятельств вовлечен в ролевое общение с юристом, ожидает от него не только квалифицированного (профессионального) исполнения обязанностей, но и уважительного отношения, что налагает на юриста особую моральную ответственность, предъявляет повышенные требования к его личностным качествам.

102

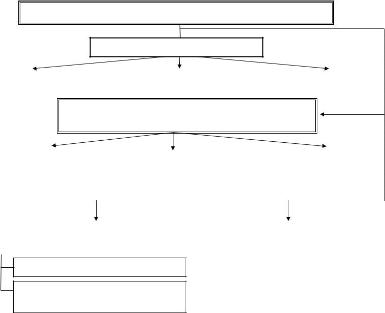
3.2. ОПЕРУПОЛНОМОЧЕННЫЙ УГОЛОВНОГО РОЗЫСКА работает над раскры-

тием, расследованием и предупреждением уголовных преступлений: убийств, разбоев, грабежей, краж и т. д.

Формы деятельности

Вместе со следователем выезжает на место происшествия, участвует в осмотре, обыске и других следственных действиях

Используя профессиональные приемы и методы, старается разгадать замысел преступников и предупредить реализацию этих замыслов

 

 

 

Стороны деятельности

 

 

 

 

 

 

 

 

 

 

 

 

 

 

 

 

 

Поисковая

 

 

Организационная

 

 

 

 

 

 

 

 

 

 

 

 

 

 

 

 

 

 

 

 

 

 

 

 

Коммуникативная

 

 

Реконструктивная

 

 

 

 

 

 

 

 

 

 

 

 

 

 

 

 

 

Удостоверительная

 

 

 

 

 

 

 

 

 

 

103

Деятельность инспектора уголовного розыска протекает в условиях, которые нередко бывают экстремальными, поэтому отличается высокой эмоциональной напряженностью.

Работа в уголовном розыске требует от человека большой личной смелости, находчивости, хорошей образной памяти, умения быстро и хладнокровно принимать решения, высокого уровня организованности, настойчивости и эмоциональной устойчивости.

Вся сложная деятельность инспектора уголовного розыска регулируется законом, поэтому сотрудников уголовного розыска должно отличать хорошее знание законодательства и повышенное чувство ответственности за последствия принятого решения и совершенных действий (при задержании, обыске или аресте).

Сущность поисковой стороны деятельности инспектора уголовного розыска заключается в выявлении следов преступника и создании его «портрета», т. е. таких характеристик, которые дают возможность вести розыск и последующую идентификацию личности.

Коммуникативная сторона деятельности заключается в организации получения информации от различных людей о личности преступника, его приметах, связях, о возможном месте нахождения.

Сущность удостоверительной стороны деятельности инспектора уголовного розыска заключается в фиксации полученной (добытой) информации в специальной письменной форме.

Большие требования предъявляются к организационной стороне его деятельности. Инспектор должен обладать высоким уровнем самодисциплины и умением точно планировать свое и чужое время, организовывать своих помощников и уметь использовать их помощь.

Сущность реконструктивной стороны деятельности заключается в мысленном воссоздании (совместно со следователем) картины события преступления, в разработке основных версий по делу и создании плана, направленного на успешное раскрытие преступления.

Юридическая деятельность, при всей ее сложности и разнообразии, полностью регулируется правом, и это накладывает отпечаток на личность каждого юриста. Уже при планировании своей деятельности он мысленно должен сопоставлять свои будущие действия с нормами законодательства, которые регламентируют эти действия.

В. Л. Васильев

104

3.3. ПРОФЕССИОНАЛЬНАЯ ДЕФОРМАЦИЯ

Сферы проявления

Нравственная

 

Интеллектуальная

 

Эмоциональная

 

 

 

 

 

Факторы возникновения профессиональной деформации

Социально-психологические

 

 

Специфика правоохрани-

 

Психологические особенности

 

условия деятельности

 

 

тельной деятельности

 

личности сотрудника ОВД

 

 

 

 

 

 

 

 

 

 

 

 

 

 

 

 

 

 

 

 

 

 

 

 

 

 

 

 

 

Проявления профессиональной

 

Основные направления профилактики

деформации

 

профессиональной деформации

 

 

 

 

 

 

Во внешней среде

Во внутреннем управлении, общении с сослуживцами

105