Материал: Организация технического обслуживания и ремонта автомобилей

Внимание! Если размещение файла нарушает Ваши авторские права, то обязательно сообщите нам

Увеличение тока и уменьшение частоты вращения якоря может быть следствием межвиткового замыкания обмотки якоря, а межвитковое замыкание обмотки возбуждения приводит к повышению частоты вращения якоря.

Продолжительность проверки стартера в режиме холостого хода не боле 10 секунд.

Проверка стартера в режиме полного торможения.

Установите стартер в зажимное устройство стенда. Отрегулируйте тормозное устройство так, чтобы шестерня стартера свободно входила в зацепление с зубчатым сектором тормозного устройства при включении привода стартера. При этом зубчатый сектор по модулю должен соответствовать модулю шестерни стартера; исключение составляет стартер с модулем 3,175, для которого зубчатый сектор устанавливается с модулем 3.

Для измерения тормозного момента по валу стартера переключатель S7 в зависимости от модуля проверяемого стартера, устанавливается в следующие положения:

в положение «2,5 х 9» - для стартеров с модулями 2,11 и 2,5;

в положение «3 х 11» - для стартеров с модулями 3; 3,175 и 3,75;

в положение «4,25 х 10» - для стартеров с модулями 4,25 и 4.5.

Переключатель S1 в зависимости от величины крутящего момента, развиваемого стартером, установить в положение 1 при величине крутящего момента до 25 Н м или в положение 2 при величине крутящего момента более 25 Н м.

Переключатель S6 установить в положение 1500А или 500 А в зависимости от потребляемого тока.

Переключатель S2 - для стартеров с номинальным напряжением 12В - в положение 1; для стартеров с номинальным напряжением 24 В рекомендуется подавать на стартер пониженное напряжение - переключатель S2 должен находиться в положении 4(правое крайнее).

Включите стенд. Нажмите кнопку «Пуск», снимите показания амперметра и измерителя тормозного момента и сравните с техническими характеристиками. В том случае, если модуль и число зубьев проверяемого стартера отличается от указанных на стенде положений переключателя S7-2,5x9; 3x11; 4,25x10, то для получения действительной величины тормозного момента показание измерительного прибора необходимо умножить на поправочный коэффициент, приведенный в таблице 4.1.

Таблица 4.1 Поправочный коэффициент

Положение переключателя

Модуль и число зубьев стартера

Значение поправочного коэффициента

2,5х9

2,11х11 2,5х8 2,5х9 3х9

1,05 0,89 1,00 0,82

3х11

3х11 3,175х9 3,75х10 4,25х10

1,00 0,87 1,20 1,00

4,25х10

4,25х11 4,5х11

1,00 1,20


В приложении 5 [3] приведены расчетные величины тока и тормозного момента, причем, для стартеров с номинальным напряжением 24 В расчет произведен при условии, что на стартер подается пониженное напряжение - переключатель S2 находится в правом крайнем положении. Расчетные величины также получены при максимальной величине сопротивления реостата R3 - ползун реостата находится в левом крайнем положении. Реальные показания измерительного прибора могут отличаться от расчетных. Это зависит от положения ползуна реостата R3, а также вследствие изменения напряжения в питающей сети, изменения переходных сопротивлений в контактных соединениях, как самого стенда так и проверяемого стартера и т.п.

В данном случае измерительный момент, развиваемый исправным стартером, должен быть не менее рассчитанного по формуле:

М = Мр                                                                              (4.1)

где Мр - расчетный момент, Н м;

I - действительный (измеренный) ток, А;

Iр - расчетный ток, А;

Iхх - ток холостого хода, А.

.6 Регулировка привода стартеров

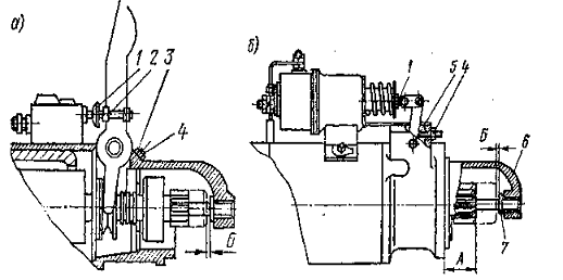
Осевой зазор вала стартера (0,1-0,7 мм) регулируют подбором шайб между крышкой 6 (рисунок 4.1) корпуса стартера и упорным кольцом 7 вала. В приводе стартера регулируют положение шестерни в выключенном состоянии - размер А и во включенном - размер Б.

Стартеры СТ8 и СТ15Б с механическим включением.

Зазор Б между шестерней и кольцом регулируют упорным винтом 4 (рисунок 4.1, а). Момент включения контактов в этих стартерах регулируют винтом.

Стартеры с электромагнитным включением. Установочный размер А исходное положение шестерни-регулируют или упорным винтом 4 (рисунок 4.1, б) (стартеры СТ117-А, СТ113-Б, СИЗО, СТ354, СТ4-А) или поворотом оси 5 рычага (стартеры СТ 230 всех модификаций, у которых эта ось эксцентрична). После этого проверяют расстояние Б при включенном тяговом реле, для чего стартер включают в цепь батареи напряжением 12 В. При необходимости у стартеров

СТ117-А, СТ113-Б, СИЗО, СТ4-А и СТ354 расстояние Б можно подкорректировать регулировочным винтом. В стартере СТ142 регулировку зазора Б производят также вращением эксцентричной оси рычага при включенном тяговом реле в момент замыкания цепи стартера. Но после этого, заложив между шестерней и упорной шайбой шаблон толщиной 23 мм, убеждаются в том, что тяговое реле цепь стартера не включает. В противном случае регулировку повторяют. Эксцентричную ось проворачивают до совпадения отверстий на ее диске с резьбовыми отверстиями в крышке корпуса и в нужном положении завинчивают стопорные винты. В стартере СТ221 привод не регулируется.

Реле включения стартера.

В реле включения регулируется зазор между якорем и сердечником (0,5-0,6 мм) подгибанием ограничителя подъема якоря, а зазор между контактами (0,4-0,5 мм) - изменением высоты стоек неподвижных контактов реле.

Рисунок 4.1 Стартеры: а - с механическим включением; б- с электромагнитным включением:1 - регулировочный винт; 2 и 3 - контргайки; 4 - упорный винт; 5 - ось рычага; б - крышка корпуса; 7 - упорное кольцо

5. Конструктивная часть


.1 Принцип действия и назначение приспособления


Рисунок 5.1 - Предельный торцовый ключ: 1 и 9 - шплинты; 2 - головка гаечного ключа; 3, 4 - гайка; 5 - пружина; 6 - гильза; 7 - шпиндель; 8 - шпилька; 10 - болт; 11 - стакан; 12 - рукоятка

Действуют ключом таким образом. Пои усилие затяжки небольшое, ключ работает как одно целое. Если усилие превысит предел, то гильза 6, опираясь плоскостями своих прорезей на шпильку 8, начнет опускаться, сжимая пружину 5, и тем самым выйдет из соединения со стаканом и зубья гильзы, в свою очередь, выйдут из своих гнезд, и стакан 11 будет с рукояткой 12 проворачиваться вхолостую.

Ключ на рисунке 5.1 устроен следующим образом. На шпинделе 7 посажена головка 2 гаечного ключа, закрепленная шплинтом 1.

В другой конец шпинделя 7 запрессована шпилька 8, на которую опирается гильза 6, прижимаемая пружиной 5 и соединяющаяся зубьями со стаканом 11. Он, в свою очередь, прикреплен к шпинделю 7 винтом 10 и шплинтом 9.

Пружина 5 гайкой 4 и контргайкой 3 может быть затянута с заданной силой.

.2 Расчет на прочность

Согласно гипотезе формоизменения условий прочности формула имеет вид:

sЭКВ=Ö s2 + 3t2К £ [s]                                                              (5.1)

где sЭКВ - эквивалентные напряжения, н/мм2;

s - напряжение сжатия, н/мм2;

tК - касательное напряжение, н/мм2;

[s] - допустимое напряжение, н/мм2.

[s] = 80 н/мм2 , [л8, с-122]

Определяем напряжение сжатия

          4 * Q

s = --------------                                                                                (5.2)

         p * d12

где Q - осевая сила, Н; (Q=10 кН)

d1 - внутренний диаметр резьбы, мм;

d1= 17,3 мм [л8,с-122]

         4 * 100 * 102

s = ------------------- = 45,3 (н/мм2);

         3,13 * 17,3

Определяем касательное напряжение

            МР

tК = --------------                                                                              (5.3)

       0,2 * d13

где МР - момент, н*мм [л8, с-130]

               d2

МР = Q * ------ * tg(l + р/)                                                             (5.4)

                  2

где d2 - средний диаметр резьбы, мм;

d2 = 18,4 мм [л8, с-122]

l - угол подъема резьбы;

р/ - угол трения; [л8, с-125]

Угол подъема резьбы определяем по формуле:

            S

tg l = --------                                                                                   (5.5)

         p * d2

где S - шаг резьбы, мм S=1,5 мм [л8, с-132]

               1,5

tg l = ------------- = 0,026

       3,14 * 18,4

Находим угол трения

                    ¡

r/ = arctg ----------                                                                                     (5.6)

                cos(a/2)

где ¡ - коэффициент трения, ¡ =0,18;

a - коэффициент профиля резьбы, a=150 [л8, с-132]

                 0,18

r/ = arctg ---------- =0,186 r/ = 100 56/

                cos 150

                  18,4

МР = 1000* ------ * tg (10 49¢ + 100 56¢)= 19,6*103 (Н*мм)

                      2

         19,6*103

tК = -------------- = 19 (н/мм2)

        0,2* (17,3)3

s = Ö 45,32 + 3*192 = 55,6 (н/мм2) < [s] = 80 н/мм2

Из проделанного расчета видно, что приспособление выдержит напряжение усилия.

6. Экономическая часть

Себестоимость диагностирования единицы техники определяем по формуле:

С= Зп + Зч + М + Н                                                                       (6.1)

где С - себестоимость единицы диагностирования, руб.;

Зп - заработная плата ремонтных рабочих с начислениями, руб.;

Зч - стоимость запасных частей, руб.;

М - стоимость ремонтных материалов, руб.;

Н - накладные расходы, руб.

Заработная плата с начислениями определяется по формуле:

Зп = Зо + Зпд + Зотп + Зед                                                           (6.2)

где Зп - заработная плата с начислениями, руб.;

Зо - основная заработная плата, руб.;

Зпд - премии и дополнения заработной платы, в среднем от 20 до 40% от основной заработной платы, руб.;

Зотп - отпускные на заработную плату, берутся от 8 до 12% от основной заработной платы, плюс премия и дополнительная заработная плата, руб.;

Зед - единый социальный налог для сельского хозяйства, руб. составляет с 1 января 2001 года 26,1%;

Для определения основной заработной платы данные заносим в таблицу 6.1

Таблица 6.1 - Определение основной заработной платы

Наименование ремонтных операций

Норма времени

Условия труда

Разряд работы

Часовая тарифная ставка, руб.

Сумма, руб.

1 подготовка 2 подключение 3 проверка напряжения включения и потребляемого тока 4 проверка в режиме холостого хода 5 проверка в режиме полного торможения

15 28  20 30  20

Норм Норм  Норм Норм  Норм

3 3  3 3  3

40 40  40 40  40

10 18,3  10,3 20  10,3


Премии и дополнительная оплата определяется по формуле:

         Зо · Ппд

Зед= --------------                                                                              (6.3)

           100%

где Зпд - сумма премий к дополнительной оплате труда, руб.;

Ппд - процент премий к дополнительной оплате от 20 до 25%;

            68,9 · 20

Зпд = ---------------- = 13,78

                100

Отпускные определяются по формуле:

          (Зо + Зпд) · Потп

Зотп= ------------------------                                                                (6.4)

                   100%

где Зотп - сумма отпускных, руб.;

Потп - процент отпускных (12%).

              (68,9+13,78) · 12

Зотп =--------------------------- = 9,92

                       100

Единый социальный налог определяется по формуле:

        (Зо+Зпд+Зотп) ·26,1

Зед= ----------------------------                                                             (6.5)

                       100

где Зед - единый социальный налог.

        (68,9+13,78+9,92) ·26,1

Зед= --------------------------------= 24,16

                        100

Накладные расходы определяются в процентном отношении от основной заработной платы, ремонтных рабочих по формуле:

       Зо· Пн

Н= ------------                                                                                   (6.6)

       100%

где Н - сумма накладных расходов, руб.;

Пн - процент накладных расходов, в среднем для мастерских сельскохозяйственных предприятий составляет от 150 до 200%.

        68,9·200

Н= --------------- = 137,8

           100

Полученные значения подставим в формулу 6.2.

Зп= 68,9+13,78+9,92= 92,6

Полученные значения подставим в формулу 6.1

С = 92,6+49,5+56,28= 209,75

. Техника безопасности

.1 Охрана труда

Одна из важнейших задач охраны труда - работа по обеспечению безопасности работающих. Современное сельскохозяйственное производство характеризуется постоянно возрастающим насыщением техникой, большой долей мобильных процессов частой сменой видов работ и средств труда.

Нарушение требований техники безопасности в таких условиях создает опасные ситуации, приводящие к несчастным случаям.

Безопасность труда - создание условий труда, при которых исключено воздействие на работающих опасных вредных производственных факторов.

Нанесение травм человеку в условиях производства обусловлено наличием физических и химических опасных производственных факторов.

Физически опасные производственные факторы - это движущиеся машины, не защищенные подвижные элементы оборудования, передвигающиеся изделия, опасное напряжение электрических цепей.

Химически опасные производственные факторы характеризуются возможностью воздействия на организм человека едких ядовитых и раздражающих веществ.

Предупреждение производственного травматизма - сложная комплексная проблема, требующая усиленного внимания, прежде всего специалистов инженерно-технического профиля, а так же представителей медицинской и других наук.

Профилактика производственного травматизма достигается различными путями, наиболее важным из них является: создание безопасной техники на стадии проектирования и разработки технических мероприятий по ее эксплуатации. Организация рабочего места и его обслуживания, выбор рациональных методов и приемов труда имеют большое значение в борьбе с производственным травматизмом. Рабочее место должно быть оборудовано так, что бы безопасно при минимальных расходах энергии рабочий мог достигнуть наилучших технико-экономических показателей.

При планировке рабочих мест размещения оборудования, инструмента, заготовок, деталей, особое внимание нужно уделять устранению ошибок рабочей зоны и выбору удобного положения тела.

Ремонтно-технологическое оборудование и оснастка должна обеспечить выполнение ремонтных работ и технического обслуживания с учетом экономических требований.

При планировке рабочих мест необходимо учитывать удобное размещение органов управления и средств оснастки в оптимальной зоне досягаемости.

Рабочие места в зависимости от выполняемых работ следует оборудовать верстаками, стеллажами, столами, шкафами, стульями и другими устройствами для безопасного выполнения работ хранения инструмента, приспособлений и деталей.

Правильное пользование инструментом - главное условие безопасности труда слесаря ремонтника. Монтажный инструмент в процессе использования изнашивается, нарушаются его формы и размеры, не редко появляются трещины и изломы. Применение такого инструмента может вызвать его поломку и травмировать работающего. За состоянием инструмента обязан следить сам рабочий.