Устройство полов
Подстилающие слои, стяжки, соединительные
прослойки (для керамических, бетонных, мозаичных и др. плиток) и монолитные
покрытия на цементном вяжущем растворе должны в течение 7-10 дней после укладки
находиться под слоем постоянно влажного водоудерживающего материала.
Устройство покрытий из плит
Плиты следует укладывать сразу после устройства
соединительной прослойки из раствора, бетона и горячих мастик. Втапливание плит
в прослойку следует осуществлять с применением вибрации; в местах, недоступных
для вибровтапливания, - вручную. Закончить укладку и втапливание плит следует
до начала схватывания раствора или затвердевания мастики.
Монтаж подвесных потолков
Устройство подвесных потолков необходимо
производить после монтажа и крепления всех элементов каркаса (в соответствии с
проектом), проверки горизонтальности его плоскости и соответствия отметкам.
Монтаж элементов подвесного потолка следует
производить после разметки поверхности и начинать от угла облицовываемой
плоскости. Горизонтальные стыки листов (панелей), не предусмотренные проектом,
не допускаются.
Плоскость поверхности должна быть ровной, без
провесов в стыках, жесткой, без вибрации панелей.
Работы по монтажу подвесных ведутся с
инвентарных подмостей звеном из двух человек.
Отделка фасадов
Работы по отделке фасадов ведутся со
строительных лесов согласно технологическим картам и проекту на установку
лесов.
Табл. 5 - Объемов работ
|
№
п/п
|
Виды
работ
|
Формулы
и правила подсчета
|
Единица
измерения по СНиП, ГЭСН, ЕНиР
|
Количество
|
|
1
|
2
|
3
|
4
|
5
|
|
А
- Подготовительный период
|
|
1
|
Выполнение
геодезических работ
|
-
|
-
|
-
|
|
2
|
Перенос
существующих сетей
|
-
|
м
|
-
|
|
3
|
Устройство
временного ограждения строительно-монтажной площадки
|
-
|
м
|
932
|
|
4
|
Очистка
территории строительно-монтажной площадки
|
Деревья
и кустарники на 1га
|
шт.
|
50
|
|
5
|
Устройство
временных инженерных коммуникаций
|
-
|
м
|
1505,6
|
|
6
|
Устройство
временных дорог
|
-
|
м
|
744,2
|
|
Б
- Нулевой цикл
|
|
I
- Земляные работы
|
|
7
|
Срезка
растительного слоя бульдозером
|
К
габаритам здания с обеих сторон добавляем по 10м
|
1000м2
|
8,795
|
|
8
|
Планировка
территории бульдозером
|
К
габаритам здания с обеих сторон добавляем по 10м
|
1000м2
|
8,795
|
|
9
|
Разработка
грунта при устройстве траншейэкскаватором (с обратной лопатой емкостью ковша
V=1,25 куб.м) без крепления,с погрузкой в автотранспорт
|
См.
формулу выше (*)
|
100м3
|
135,49
|
|
10
|
Обратная
засыпка грунта бульдозером
|
См.
формулу выше (*)
|
100
м3
|
119,065
|
|
11
|
Уплотнение
грунта электротрамбовками
|
Fупл=
(Vобр/tслоя)10слоев
|
100
м2
|
5953,25
|
|
12
|
Устройство
щебеночно - песчаного основания
|
Vосн
= 0,20Fосн
|
100
м2
|
2,39
|
|
II
- Основания и фундаменты
|
|
13
|
Устройство
арматурных сеток и каркасов массой до 100кг
|
Расчет
|
шт
|
100
|
|
14
|
Устройство
деревянной опалубки площадью щитов до 2м2
|
Расчет
|
м2
|
3310
|
|
15
|
Укладка
бетонной смеси при помощи автобетононасоса в конструкцию объемом до 30м3
|
м31047,134
|
|
|
|
16
|
Устройство
деревянной опалубки площадью щитов до 2м2
|
Расчет
|
м2
|
3310
|
|
17
|
Устройство
фундаментных балок под наружные стены
|
По
спецификации
|
шт.
|
62
|
|
Б
- Надземная часть
|
|
III
- монтаж основных конструкций
|
|
18
|
Монтаж
колонн массой до 6 т. при помощи кондукторов
|
По
спецификации
|
1
эл.
|
32
|
|
19
|
Монтаж
колонн массой до 10 т. при помощи кондукторов
|
По
спецификации
|
1
эл.
|
32
|
|
20
|
Монтаж
колонн массой до 15 т. при помощи кондукторов
|
По
спецификации
|
1
эл.
|
26
|
|
21
|
Монтаж
колонн массой до 20 т. при помощи кондукторов
|
По
спецификации
|
1
эл.
|
16
|
|
22
|
Заделка
стыков колонн с фундаментом с объемом бетонной смеси в стыке свыше 0,1 м3
|
По
спецификации
|
1
стык
|
106
|
|
23
|
Монтаж
подкрановых балок длиной 6 м и массой до 5 т.
|
По
спецификации
|
1
эл.
|
52
|
|
24
|
Монтаж
подкрановых балок длиной 12 м и массой до 11т
|
По
спецификации
|
1
эл.
|
9
|
|
25
|
Монтаж
ферм длиной 18м
|
По
спецификации
|
1
эл.
|
16
|
|
26
|
Монтаж
ферм длиной 24м
|
По
спецификации
|
1
эл.
|
16
|
|
27
|
Монтаж
ферм длиной 30м
|
По
спецификации
|
1
эл.
|
29
|
|
28
|
Монтаж
доборных плит покрытия площадью до 3 м2
|
По
спецификации
|
1
эл.
|
26
|
|
29
|
Монтаж
плит покрытия площадью до 20 м2
|
По
спецификации
|
1
эл.
|
456
|
|
30
|
Монтаж
угловых стоек фахверка
|
По
спецификации
|
1
эл.
|
12
|
|
31
|
Монтаж
торцевых фахверковых колонн
|
По
спецификации
|
1
эл.
|
20,5
|
|
32
|
Заделка
стыков плит покрытия механизированным способом
|
По
спецификации
|
100м
|
38,14
|
|
33
|
Сварка
стыков
|
По
спецификации
|
10м
|
71,56
|
|
34
|
Заделка
стыков фахверковых колонн с фундаментом с объемом бетонной смеси в стыке
свыше 0,1 м3
|
По
спецификации
|
1
стык
|
106
|
|
35
|
Монтаж
стеновых панелей площадью до 5 м2
|
По
спецификации
|
1
эл.
|
116
|
|
36
|
Монтаж
стеновых панелей площадью до 10 м2
|
По
спецификации
|
1
эл.
|
791
|
|
37
|
Монтаж
стеновых панелей площадью до 15 м2
|
По
спецификации
|
1
эл.
|
36
|
|
38
|
Изоляция
и герметизация вертикальных стыков и деформационных швов
|
По
спецификации
|
10м
|
142,075
|
|
39
|
Изоляция
и герметизация горизонтальных стыков
|
По
спецификации
|
10м
|
609,57
|
|
40
|
Изоляция
и герметизация стыков стеновой панели с плитой покрытия
|
По
спецификации
|
10м
|
82,6
|
|
41
|
Сварной
стык стеновых панелей с колоннами
|
По
спецификации
|
10м
|
37,72
|
|
IV
- Покрытие и кровля
|
|
42
|
Устройство
пароизоляции
|
По
проекту
|
100м2
|
87,95
|
|
43
|
Устройство
теплоизоляции из пенополистирола
|
По
проекту
|
100м2
|
87,95
|
|
44
|
Устройство
стяжки на поверхности утеплителя. b = 0,02 см.
|
По
проекту
|
100м2
|
87,95
|
|
45
|
Устройство
наплавляемой рулонной кровли. 2 слоя.
|
По
проекту
|
100м2
|
167,9
|
|
46
|
Устройство
защитного слоя (гравий)
|
По
проекту
|
100м2
|
87,95
|
|
V
- Устройство окон и дверей
|
|
47
|
Заполнение
оконных проемов составных до 2,5м2
|
По
проекту
|
100м2
|
16,56
|
|
48
|
Заполнение
воротных проемов составных свыше 4м2
|
По
проекту
|
100м2
|
0,64
|
|
VI
- Устройство полов
|
|
49
|
Устройство
бетонного основания В15 b = 15 см.
|
По
проекту
|
м3
|
1319,25
|
|
50
|
Устройство
гидроизоляции
|
По
проекту
|
100м2
|
87,95
|
|
51
|
Устройство
цементной стяжки В 7,5 при площади пола свыше 20м2(20мм)
|
По
проекту
|
100м2
|
87,95
|
|
VII
- Внутренняя отделка
|
|
52
|
Шпатлевка
потолка
|
По
проекту
|
100м2
|
87,95
|
|
53
|
Шпатлевка
стен
|
По
проекту
|
100м2
|
75,20
|
|
54
|
Покраска
стен
|
По
проекту
|
100м2
|
75,20
|
|
55
|
Покраска
потолков
|
По
проекту
|
100м2
|
87,95
|
|
VIII
- Разные работы
|
|
56
|
Благоустройство
территории
|
В
% от общей трудоёмкости
|
%
|
7
|
|
57
|
Прочие
неучтённые работы
|
В
% от общей трудоёмкости
|
%
|
6
|
|
58
|
Внутриплощадочные
работы
|
В
% от общей трудоемкости
|
%
|
5
|
|
XI
- Специальные работы
|
|
59
|
Водопровод
и канализация
|
В
% от общей трудоемкости
|
%
|
10
|
|
60
|
Отопление
и вентиляция
|
В
% от общей трудоемкости
|
%
|
12
|
Энергоснабжение
|
В
% от общей трудоемкости
|
%
|
8
|
|
|
|
|
|
|
Табл. 6 - Спецификация элементов сборных
конструкций
|
№
п/п
|
Серия,
Марка (обозначения на плане)
|
Наименование,
Эскиз
|
Габаритные
размеры, мм
|
Объем
бетона, Vбет
|
Кол-во,
шт.
|
Примечание
|
|
|
|
Длина,
L, мм
|
Ширина,
В, мм
|
Высота,
Н, мм
|
|
|
|
|
|
|
|
|
|
Масса
одного элемента m, т
|
Масса
всех элементов m’, т
|
|
|
1
|
КЭ-01-52
КД II-15 КД II-17 (К1, К2)
|
Сборная
железобетонная двухветвевая колонна крайнего ряда
|
1000
|
500
|
15750
|
3,86
|
32
|
По
разбивочным осям Д, В
|
|
|
|
|
|
|
9,7
|
310,4
|
|
|
2
|
КЭ-01-52
КД II-20 (К3)
|
Сборная
железобетонная двухветвевая колонна крайнего ряда
|
1300
|
500
|
17550
|
5,92
|
26
|
По
разбивочным осям А’ и Б’
|
|
|
|
|
|
|
14,8
|
384,8
|
|
|
3
|
КЭ-01-52
КД II-22 (К4)
|
Сборная
железобетонная двухветвевая колонна среднего ряда
|
1400
|
500
|
15050
|
7,15
|
16
|
По
разбивочной оси Г
|
|
|
|
|
|
|
17,9
|
286,4
|
|
|
4
|
Серия
1.423-5 К108-14 К(5)
|
Сборная
железобетонная колонна прямоугольного сечения крайнего ряда
|
500
|
400
|
11700
|
2,34
|
32
|
По
разбивочным осям А и Б
|
|
|
|
|
|
|
5,9
|
188,8
|
|
|
5
|
Серия
1.463.1-3/87 ФБМ 24 (ФС1)
|
Ферма
стропильная железобетонная безраскосная - 24м
|
23940
|
240
|
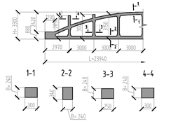
3300
|
4,9
|
16
|
В
разбивочных осях Г, Д
|
|
|
|
|
|
|
12,2
|
195,2
|
|
|
6
|
Серия
1.463.1-3/87 ФБМ 18 (ФС2)
|
Ферма
стропильная железобетонная безраскосная - 18м
|
17940
|
240
|
3000
|
3,35
|
16
|
В
разбивочных осях А, Б
|
|
|
|
|
|
|
8,3
|
132,8
|
|
|
7
|
(ФС3)
|
Ферма
стропильная железобетонная безраскосная -30м (две полуфермы 15м)
|
29940/2=14970
|
240
|
3300
|
6,7/2=3,35
|
29х2
=58
|
В
разбивочных осях А’, Б’
|
|
|
|
|
|
|
16,75/2=8,375
|
485,75
|
|
|
8
|
КЭ-01-50
(БК1, (БК1а))
|
Железобетонная
подкрановая балка -6м (Примечание: []
- Температурные подкрановые балки включительно)
|
5950
[5900]
|
600
|
1000
|
1,74
|
44
|
В
разбивочных осях 2’-12’ по рядам А’ и Б’; В разбивочных осях 2-14 по рядам В
и Д
|
|
|
|
|
|
|
4,18
|
183,92
|
|
|
9
|
КЭ-01-50
(БК2)
|
Железобетонная
подкрановаяторцевая балка - 5,5м
|
5450
|
600
|
1000
|
1,595
|
8
|
В
разбивочных осях 1’-2’, 12’-13’ по рядам А’ и Б’; В разбивочных осях 1-2,
14-15 по рядам В и Д
|
|
|
|
|
|
|
3,83
|
30,64
|
|
|
10
|
КЭ-01-50
(БК3, (БК3а))
|
Железобетонная
подкрановая балка- 12м (Примечание: []
- Температурные подкрановые балки включительно)
|
11950
[11400]
|
650
|
1400
|
4,4
|
5
|
В
разбивочных осях 3-13 по ряду Г
|
|
|
|
|
|
|
10,57
|
52,85
|
|
|
11
|
КЭ-01-50
(БК4)
|
Железобетонная
подкрановая торцевая балка - 11,5м
|
11450
|
650
|
1400
|
4,22
|
4
|
В
разбивочных осях 1-3 и 13-15 по ряду Г
|
|
|
|
|
|
|
10,13
|
40,52
|
|
|
12
|
Серия
1.465-7 ПАIIIВ/3х6 (ПП3х6)
|
Плита
ребристая, предварительно напряженная с шагом ферм 6м
|
5970
|
2980
|
300
|
1,07
|
456
|
Площадь
кровли
|
|
|
|
|
|
|
2,65
|
1208,4
|
|
|
13
|
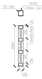
Серия
1.432-5 ПСЯ20/1,2х6 (СП 6,0-1,2)
|
Панель
стеновая ячеистобетонная с шагом колонн 6м
|
5980
|
200
|
1185
|
1,42
|
791
|
По
периметру здания
|
|
|
|
|
|
|
1,2
|
949,2
|
|
|
14
|
Серия
1.432-5 ПСЯ20/1,8х6 (СП 6,0-1,8)
|
Панель
стеновая ячеистобетонная с шагом колонн 6м
|
5980
|
200
|
1785
|
2,13
|
36
|
По
фасаду в разбивочных осях А-Д; 1-15; 15-1
|
|
|
|
|
|
|
1,7
|
61,2
|
|
|
15
|
(ДСП1,0-1,2)
|
Панель
стеновая доборная ячеистобетонная
|
980
|
200
|
1185
|
0,233
|
25
|
По
фасаду в разбивочных осях Б’-1; 1-Б’
|
|
|
|
|
|
|
0,163
|
4,075
|
|
|
16
|
(ДСП1,0-1,8)
|
Панель
стеновая доборная ячеистобетонная
|
980
|
200
|
1785
|
0,35
|
2
|
По
фасаду в разбивочных осях Б’-1; 1-Б’
|
|
|
|
|
|
|
0,25
|
0,5
|
|
|
17
|
Серия
1.432-5 БЯ-42 (ДСП0,2-1,8)
|
Панель
стеновая доборная ячеистобетонная
|
190
|
200
|
1785
|
0,07
|
2
|
В
углах здания
|
|
|
|
|
|
|
0,06
|
0,12
|
|
|
18
|
Серия
1.432-5 БЯ-24 (ДСП0,2-1,2)
|
Панель
стеновая доборная ячеистобетонная
|
190
|
200
|
1185
|
0,05
|
64
|
В
углах здания
|
|
|
|
|
|
|
0,04
|
2,56
|
|
|
19
|
(ДСП0,8-1,2)
|
Панель
стеновая доборная ячеистобетонная
|
780
|
200
|
1185
|
0,185
|
4
|
По
фасаду в разбивочных осях Б-1
|
|
|
|
|
|
|
0,13
|
0,52
|
|
|
20
|
(ДСП0,2-0,6)
|
Панель
стеновая доборная ячеистобетонная
|
190
|
200
|
585
|
0,023
|
2
|
По
фасаду в разбивочных осях 1-Б’; Б’-1
|
|
|
|
|
|
|
0,016
|
0,032
|
|
|
21
|
(ДСП0,3-1,8)
|
Панель
стеновая доборная ячеистобетонная
|
280
|
200
|
1785
|
0,1
|
1
|
По
фасаду в разбивочных осях 13’
|
|
|
|
|
|
|
0,07
|
0,07
|
|
|
22
|
(ДСП0,3-1,2)
|
Панель
стеновая доборная ячеистобетонная
|
280
|
200
|
1185
|
0,066
|
1
|
По
фасаду в разбивочных осях 13’
|
|
|
|
|
|
|
0,046
|
0,046
|
|
|
23
|
(ДСП0,5-1,8)
|
Панель
стеновая доборная ячеистобетонная
|
480
|
200
|
1785
|
0,171
|
1
|
По
фасаду в разбивочных осях Б-В
|
|
|
|
|
|
|
0,12
|
0,12
|
|
|
24
|
(ДСП0,5-1,2)
|
Панель
стеновая доборная ячеистобетонная
|
480
|
200
|
1185
|
0,114
|
14
|
По
фасаду в разбивочных осях Б-В
|
|
|
|
|
|
|
0,08
|
1,12
|
|
|
25
|
(КФ1)
|
Фахверковые
колонны
|
500
|
500
|
16200
|
-
|
8
|
В
торцах здания в осях А’-Б’
|
|
|
|
|
|
|
3,145
|
25,16
|
|
|
26
|
(КФ2)
|
Фахверковые
колонны
|
500
|
450
|
14400
|
-
|
7
|
В
торце здания в осях В-А
|
|
|
|
|
|
|
2,066
|
14,462
|
|
|
27
|
(КФ3)
|
Фахверковые
колонны
|
500
|
450
|
10800
|
-
|
2
|
В
торце здания в осях Д-Г
|
|
|
|
|
|
|
1,549
|
3,098
|
|
|
28
|
(ТФ1)
|
Стойка
торцового фахверка
|
200
|
200
|
16200
|
-
|
4
|
В
углах торцов здания в осях А’-Б’
|
|
|
|
|
|
|
0,667
|
2,668
|
|
|
29
|
(ТФ2)
|
Стойка
торцового фахверка
|
200
|
200
|
14400
|
-
|
5
|
В
углах торцов здания в осях В-А
|
|
|
|
|
|
|
0,593
|
2,965
|
|
|
30
|
(ТФ3)
|
Стойка
торцового фахверка
|
200
|
200
|
10800
|
-
|
3
|
В
углах торцов здания в осях Д-А
|
|
|
|
|
|
|
0,446
|
1,338
|
|
|
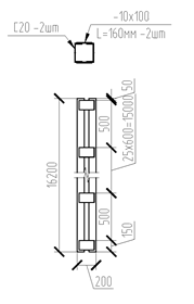
31
|
(ДПП1)
|
Доборная
плита покрытия 
|
800
|
100
|
0,24
|
12
|
В
разбивочных осях Б’-1”
|
|
|
|
|
|
|
0,576
|
6,912
|
|
|
32
|
(ДПП2)
|
Доборная
плита покрытия
|
3000
|
350
|
100
|
0,105
|
14
|
В
разбивочных осях Г-В
|
|
|
|
|
|
|
0,252
|
3,528
|
|
|
33
|
(ФБ)
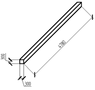
|
Фундаментная
балка
|
4780
|
300
|
300
|
0,43
|
62
|
По
периметру здания
|
|
|
|
|
|
|
1,032
|
63,984
|
|
Табл. 6 - Расчет объемов стыков
|
№
|
Наименование
элемента
|
Эскиз
|
Объём
(площадь, длина) одного стыка м3, м2 ,м
|
Кол-во
стыков, шт.
|
Полный
объём Материала (полная длинна), м3,м
|
Вид
заполнителя
|
Примечание
|
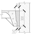
1 Колонна крайнего
ряда с фундаментом (К2)
0,5793218,528Бетон марки М100
В15По разбивочным осям
2 Колонна крайнего
ряда с фундаментом (К1) 
0,7342619,084Бетон марки М100
|
В15По
разбивочным осям А’ и Б’
|
|
|
|
|
|
3 Колонна среднего
ряда с фундаментом (К3) 
0,7521612,032Бетон марки М100
В15По разбивочной оси
4 Колонна крайнего
ряда с фундаментом (К4) 
0,113323,616Бетон марки М100
|
В15По
разбивочным осям А и Б
|
|
|
|
|
|
5 Продольный стык
плит покрытия
0,009186616,794Цементный раствор
|
М25.
Сварка закладных деталейПо общей площади кровли
|
|
|
|
|
|
6 Поперечный стык
плит покрытия
0,007811228,752Цементный раствор
|
М25.
Сварка закладных деталейПо общей площади кровли
|
|
|
|
|
|
|
|
7
|
Поперечный
и продольный стык между плитой покрытия и стеновой панели
|
0,021382617,594Изоляция
и герметизация стыкаПо периметру здания и фонарей
|
|
|
|
|
|
|
8
|
Стык
подкрановой балки 12м с колонной
|
|
2,6
|
28
|
72,8
|
Сварка
закладных деталей
|
-
|
|
9
|
Стык
подкрановой балки 6м с колонной
|
|
2,2
|
104
|
228,8
|
Сварка
закладных деталей
|
-
|
|
10
|
Крепление
стеновых панелей к железобетонным колоннам и к торцевому фахверку [
|
|
-
|
-
|
377,2
|
Сварка
закладных деталей
|
-
|
|
11
|
Крепление
доборной плиты покрытия в деформационных швах с перепадом высоты с привязкой
1000; 500
|
|
-
|
-
|
155,8
|
Сварка
закладных деталей
|
-
|
|
12
|
Колонна
фахверка с фундаментом
|
|
3,4
|
17
|
57,8
|
Сварка
закладных деталей
|
-
|
|
13
|
Стык
колонны с фермой
|
|
1,2
|
122
|
146,4
|
Сварка
закладных деталей
|
-
|
|
14
|
Стойка
торцевого фахверка с Фундаментом и железобетонной колонной
|
|
4,5
|
12
|
54
|
Сварка
закладных деталей
|
-
|
|
16
|
Горизонтальный
стык между стеновыми панелями
|
|
-
|
6095,75
|
-
|
Изоляция
стыка
|
-
|
|
17
|
Вертикальный
стык между стеновыми панелями
|
|
-
|
1420,75
|
-
|
Изоляция
стыка
|
-
|
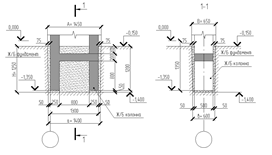
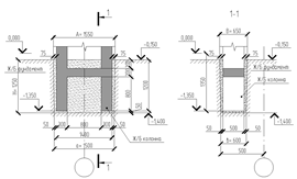
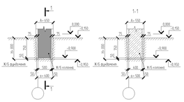
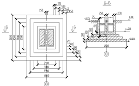
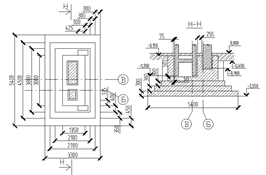
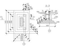
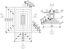
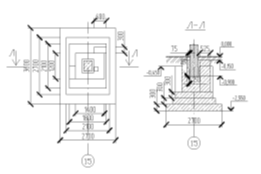
Табл. 7 - Расчет объема бетона фундаментов (см.
совместно с табл. 6, № п/.1-4 и рис.7)
|
№
п/п
|
Наименование
конструкции
|
Эскиз
|
Кол-во,
шт.
|
Объем
бетона одного фундамента, м3
|
Объем
бетона всего, м3
|
Площадь
подошвы фундамента, одного, м2
|
Площадь
подошвы фундамента, всего, м2
|
Марка
бетона
|
Примечание
|
1 ФБ1 Серия 1.412-1
1215,818189,81619,44252,72Бетон
марки М100
2 ФБ2 Серия 1.412-1 
122,40222,40225,9225,92Бетон марки
М100
3 ФБ3 Серия 1.412-1
117,26317,26319,4419,44Бетон
марки М100
|
В15По
оси Г/15
|
|
|
|
|
|
|
|
|
|
4
|
ФБ4
Серия 1.412-1
|
 912,467112,20315,84142,56Бетон
марки М100 В15
|
По
оси Б’/2’-3’, 5’-8’, 10’-12’
|
|
|
|
|
|
|
|
5
|
ФБ5
Серия 1.412-1
|
 1112,899141,88915,84174,24Бетон
марки М100 В15
|
По
оси А’/2’-12’
|
|
|
|
|
|
|
6 ФБ6 Серия 1.412-1 
128,0896,969,72116,64Бетон марки
М100
7 ФБ7 Серия 1.412-1 
110,44510,44512,9612,96Бетон марки
М100
8 ФБ8 Серия 1.412-1 
119,12819,12812,9612,96Бетон марки
М100
9 ФБ9 Серия 1.412-1 
122,35822,35822,6822,68Бетон марки
М100
10 ФБ10 Серия 1.412-1 
1215,643187,71617,82213,84Бетон
марки М100
11 ФБ11 Серия 1.412-1
18,088,089,729,72Бетон
марки М100
12 ФБ12 Серия 1.412-1 
113,52913,52915,8415,84Бетон марки
М100
13 ФБ13 Серия 1.412-1 
116,7516,7517,8217,82Бетон марки
М100
14 ФБ14 Серия 1.412-1 
134,6334,6334,0234,02Бетон марки
М100
15 ФБ15 Серия 1.412-1 
137,70837,70835,9135,91Бетон марки
М100
16 ФБ16 Серия 1.412-1 
124,86724,86721,0621,06Бетон марки
М100
17 ФБ17 Серия 1.412-1 
130,63230,63228,828,8Бетон марки
М100
18 ФБ18 Серия 1.412-1 
173,57460,7582,2538,25Бетон марки
М100
|
В15По
периметру здания
|
|
|
|
|
|
|
|
|
|
|
|
Всего,м3
|
1047,134
|
Всего,м2
|
1195,38
|
|
|
|
|
|
|
|
|
|
|
|
|
|
|
|
Табл. 8 - Грузозахватные устройства и монтажные
приспособления
|
№
п/п
|
Наименование
оснастки; назначение; разработчик и шифр чертежей
|
Эскиз
оснастки и схема строповки
|
Грузоподъемность,
т
|
Масса
приспособлений, кг
|
Высота
над конструкцией, м
|
Количество
на единицу изделия, шт
|
Количество
на захватку, шт
|
Примечание
|
|
1
|
2
|
3
|
4
|
5
|
6
|
7
|
8
|
9
|
|
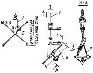
1
|
Строп
четырехветвевой 4СК-5,0/4000 (5000; 6300) в комплекте: 1 - строп ВК-2,0/4000
(5000; 6300); 2 - крюк К1-2. ВНИПИ Промстальконструкция. Шифр 29700-101; 109
|
|
5
|
37,1
|
4
|
1
|
1
|
Разгрузка
конструкций; монтаж плит покрытий, панелей стен и перегородок.
|
|
2
|
Строп
двухветвевой 2СК-5,0/2200 (-2,5/2000) в комплекте: 1 - звено Рт1-5(2,5); 2 -
строп ВК-4,0/3000 (-2,0/3000); 3 - крюк К1-4 (-2); 4 - подкладки под канат.
ЦНИИОМТП проект 3484.00.000
|
|
5
|
13,5
|
2,2
|
1
|
1
|
Разгрузка
конструкций; монтаж панелей стен и перегородок.
|
|
3
|
Траверса
Тр-8-0,4 (-0,5) в комплекте: 1 - строп 2СТ-10/4000 (5000; 6300); 2 -
траверса; 3 - строп СКК1-4,0/2000-8000; ВНИПИ Промстальконструкция. Шифр
29700-49; -103; -109; -116
|
|
8
|
181,4
- 195,4
|
1,25
|
1
|
1
|
Монтаж
бесконсольных колонн сечением 400´500 серий
КЭ-01-49 и 1.424, массой до 8 т с диаметром отверстий в колонне 50 мм.
|
|
4
|
Траверса
Тр-16-1,0 (0,6) в комплекте: 1 - строп 2СТ-16,0/5000 (6300; 8000; 10000;
12500); 2 - траверса; 3 - подстропок ПП-8/2000 (3200). ВНИПИ
Промстальконструкция. Шифр 29700-32; -34; -104; -112; -113
|
|
16
|
286
- 320
|
1,7
|
1
|
1
|
Монтаж
двухветвевых колонн крайних и средних рядов серий КЭ-01-52 и 1.424 массой до
16 т из положения «плашмя».
|
|
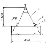
5
|
Траверса
Тр-25-0,7 в комплекте: 1 - строп 2CT-25/6300/1000; 2 - траверса; 3 -
подстропок ПП-8/3400; 4 - подкладка под канат; 5 - канат для расстроповки.
ВНИПИ Промстальконструкция. Шифр 29700-33; -105; -112
|
|
25
|
413,6
|
1,75
|
1
|
1
|
Монтаж
двухветвевых колонн среднего ряда серий КЭ-01-52 и 1.424 массой до 25 т из
положения «плашмя».
|
|
6
|
Траверса
универсальная в комплекте с автоматическими захватами: 1 - траверса; 2 -
лебедка; 3 - захваты; 4 - стропы. ЦЭКБстроймехавтоматика ЦНИИОМТП. Проект
траверсы 105-3.00.000. Проект захватов 1854.00.000
|
|
12
|
426;
880
|
3,1
|
1
|
1
|
Монтаж
железобетонных подкрановых балок серии КЭ-01-50 длиной 6 и 12 м, массой до 12
т.
|
|
7
|
Строп
двухветвевой 2СТ-16/5000 в комплекте: 1 - строп 2СТ-16/5000; 2 - строп
СКК1-12,5/5000; 3 - пружинный замок Пр2,5; 4 - канат для расстроповки. ВНИПИ
Промстальконструкция. Шифр 29700-43; -100; -104; -109
|
|
12
|
265,2
|
4,1
|
1
|
1
|
Монтаж
железобетонных подкрановых балок серии КЭ-01-50 длиной 12 и (6) м, массой до
12 т.
|
|
8
|
Траверса
Тр-20-5 в комплекте: 1 - траверса; 2 - канат для расстроповки. ВНИПИ
Промстальконструкция. Шифр 29700-38и; -39; -40и; -41и
|
|
20
|
513
|
1,2
|
1
|
1
|
Монтаж
стропильных ферм серий ПК-01-129/68 и 1.462-5, длиной 18, 24 и 30 м, массой
до 20 т.
|
|
9
|
Стропы
четырехветвевые в комплекте: 1 - строп 4СК-10/4000 (для плит с петлями
снаружи); 2 - строп 4СК-10/5000 (для плит с утопленными петлями). ВНИПИ
Промстальконструкция. Шифр 29700-44; -102; -109
|
|
5
|
89,9
96,7
|
3,6
4,0
|
1
|
1
|
Монтаж
плит покрытий серий ПК-01-106 и 1.465-7 длиной 6 м и массой до 5 т.
|
|
10
|
Траверса
в комплекте со стропами. ВНИПИ Промстальконструкция (Новосибирский филиал).
Шифр 2006-78
|
|
4
|
396
|
1,6
|
1
|
1
|
Монтаж
плит покрытий серий ПК-01-106 и 1.465-7 длиной 6 м и массой до 5 т.
|
|
11
|
Строп
двухветвевой 2СТ-10/4000 в комплекте: 1 - строп СКК1-8/4000; 2 - пружинный
замок Пр8; 3 - канат для расстроповки. ВНИПИ Промстальконструкция. Шифр
2970-25; -103
|
|
6
|
94,8
|
3,8
|
1
|
1
|
Монтаж
стеновых панелей серии 1.432-5 длиной 6 м и массой до 6 т.
|
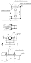
12 Траверса Тр-20-5 в
комплекте: 1 - траверса; 2 - стропы 1СК-6,3/2000. ВНИПИ Промстальконструкция.
Шифр 29700-110, ГОСТ 25573-82
<#"889337.files/image147.gif">85332,111Монтаж
панелей стен и перегородок серий 1.432-11 и 1.431 длиной 6 м, массой до 8 т.
|
|
|
|
|
|
|
|
|
|
13
|
Строп
двухветвевой 2СТ-10/4000 в комплекте: 1 - строп 2СТ-10/4000; 2 - строп
ВК-2/1600; 3 - пружинный замок Пр3,2; 4 - подкладка под канат; 5 - канат для
расстроповки. ВНИПИ Промстальконструкция. Шифр 29700-20; -103; -109
|
|
10
|
112,2
|
4,6
- 5,1
|
1
|
1
|
Монтаж
и укрупнительная сборка ферм и панелей фонарей серии 1.464-11; -13 массой до
2 т, длиной 6 и 12 м.
|
|
14
|
Строп
двухветвевой 2СТ-10/4000 в комплекте: 1 - строп 4СК-10/4000; 2 - пружинный
замок Пр3,2; 3 - строп ВК-2/1600; 4 - канат для расстроповки; 5 - проектный
сухарь. ВНИПИ Промстальконструкция. Шифр 29700-13; -103; -109
|
|
2
|
115,2
|
4
|
1
|
1
|
Монтаж
вертикальных связей серии 1.424-4 массой до 2 т по колоннам.
|
|
15
|
Траверса
Тр-2-1 в комплекте: 1 - траверса; 2 - строп 2СТ-10/4000. ВНИПИ
Промстальконструкция. Шифр 29700-24; -103; -119
|
|
2
|
128,8
|
4,5
|
1
|
1
|
Монтаж
крановых рельсов КР50-КР100 длиной до 6 м и массой до 2 т.
|
|
16
|
Опорное
приспособление. ПКК треста Сибстальконструкция. Шифр 2008-01; -02; -04
|
|
-
|
77
|
-
|
1
|
1
|
Перевод
колонны в вертикальное положение: а) из положения «плашмя», б) из положения
«на ребро».
|
|
17
|
Кондуктор.
ПК треста Уралстальконструкция. Шифр 2801 М-5; -6; -7
|
|
-
|
446
|
1,4
|
1
|
1
|
Временное
крепление и выверка двухветвевых колонн массой до 35 т.
|
|
16
|
Комплект
приспособлений и инструмента в составе: 1 - вкладыш клиновой инвентарный; 2 -
ограждение. пч цнииоМТп 323-2.00.000
|
-
|
725
|
-
|
1
|
1
|
Выверка
и временное закрепление железобетонных колонн массой до 24 т в стаканах
фундаментов.
|
|
19
|
Инвентарная
распорка. ПКК треста Сибстальконструкция. Шифр 2008-27
|
|
-
|
140
|
-
|
1
|
1
|
Выверка
и временное крепление железобетонных колонн в плоскости ряда при шаге 6 м.
|
|
20
|
Расчалка
с карабином и винтовой стяжкой. 1 - струбцина; 2 - расчалка; 3 - якорь..
ВНИПИ Промстальконструкция. Шифр 1798М-10
|
|
-
|
13
|
-
|
4
|
4
|
Временное
крепление стропильных ферм и колонн.
|
|
21
|
Инвентарная
распорка. 1 - струбцина; 2 - распорка; 3 - плита. ВНИПИ Промстальконструкция.
Шифр 4234Р-44
|
|
-
|
63
|
-
|
4
|
4
|
Временное
крепление стропильных ферм при шаге 6 м.
|
|
22
|
Крышевой
кондуктор-распорка. 1 - рама; 2 - стрела; 3 - лебедка. ЦЭКБстроймехавтоматика
ЦНИИОМТП. Проект 1524.00.000
|
|
1
|
2900
|
-
|
4
|
4
|
Временное
крепление и выверка монтируемых стропильных ферм с шагом 6 м.
|
|
23
|
Лестница
секционная приставная с площадкой; монтажная. ВНИПИ Промстальконструкция,
Саратовская группа. Шифр 17203Р
|
|
-
|
853
|
6
- 18
|
2
|
2
|
Обеспечение
рабочего места на высоте от 6 до 18 м.
|
|
24
|
Лестница
секционная приставная с площадкой; монтажная. ВНИПИ Промстальконструкция,
Ленинградский отдел. Шифр 16368Р
|
|
-
|
1289
|
5
- 20
|
2
|
2
|
Обеспечение
рабочего места на высоте от 5 до 20 м.
|
|
25
|
Мостик
переходный монтажный. ЦЭКБстроймехавтоматика ЦНИИОМТП. Проект 4444.00.700
|
|
-
|
490
|
-
|
2
|
2
|
Обеспечение
безопасности при монтаже связей светоаэрационных фонарей.
|
|
26
|
Люлька
подвесная. ВНИПИ Промстальконструкция. Шифр 29800-15; -07
|
|
0,5
|
-
|
-
|
2
|
2
|
Подъем
рабочих, инструмента и материалов при установке панелей стен длиной 6 м.
Подвешивается внутри здания.
|
|
27
|
Подмости
монтажные. 1 - колонна; 2 - подмости. ВНИПИ Промстальконструкция. Шифр
29800-19; -20
|
|
-
|
39
|
-
|
1
|
1
|
Обеспечение
рабочего места на высоте.
|
|
28
|
Площадка
с лестницей. 1 - колонна; 2 - площадка с лестницей. ПК Главстальконструкция.
Шифр 229
|
|
-
|
118
|
-
|
1
|
1
|
Обеспечение
рабочего места на высоте.
|
|
29
|
Маршевая
лестница. ВНИПИ Промстальконструкция. Шифр 29800-01
|
|
0,2
|
-
|
До
18
|
2
|
2
|
Подъем
рабочих к месту проведения работ на высоте до 18 м.
|
|
30
|
Будка
изолировщика с комплектом оборудования и инструмента. ЦНИИОМТП. Проект
3295.14.000
|
|
-
|
3000
|
-
|
1
|
1
|
Герметизация
стыков панелей наружных стен.
|
|
31
|
Временное
ограждение. ВНИПИ Промстальконструкция. Шифр 29800-20; -3
|
|
-
|
-
|
-
|
1
|
1
|
Обеспечение
безопасности работ на покрытиях.
|
|
32
|
Стойка
для крепления предохранительного каната. ВНИПИ Промстальконструкция,
Ленинградский отдел. Шифр 29800-13; -3
|
|
30
|
-
|
-
|
1
|
1
|
Обеспечение
безопасности при работе монтажников на высоте.
|
2.4 Обеспечение контроля качества
строительных и монтажных работ
конструкция кран захватка монтаж
Методы контроля качества строительной продукции
Различают внутренний и внешний контроль
качества.
Внутренний контроль. Качество строительной
продукции определяется по результатам производственного контроля и оценивается
в соответствии со специальной инструкцией по оценке качества
строительно-монтажных работ.
Данные результатов контроля должны фиксироваться
в журналах работ приведены виды внутреннего контроля.
Виды внутреннего контроля
|
Вид
контроля
|
Содержание
|
|
По
времени проведения
|
|
Входной
|
Проверка
поступающих материалов и изделий
|
|
Операционный
|
Осмотр
и замеры в процессе работ
|
|
Приемочный
|
Приемка
завершенных работ с составлением акта на скрытые работы
|
|
По
объему проверок
|
|
Сплошной
|
Проверка
всех изделий
|
|
Выборочный
|
Проверка
части изделий
|
|
По
периодичности
|
|
Непрерывный
|
Проверка
в течение всего времени выполнения работ
|
|
Периодический
|
То
же, через определенные промежутки времени
|
|
Летучий
|
Эпизодические
проверки
|
|
По
средствам проведения (методу)
|
|
Визуальный
|
Осмотр
без измерительных инструментов
|
|
Измерительный
|
Осмотр
с применением измерительных инструментов, в том числе лабораторных
|
|
Регистрационный
|
Осмотр
методом анализа документации (проектов, паспортов, сертификатов)
|
При входном контроле проектной документации
следует проанализировать всю представленную документацию, включая проект
организации строительства и рабочую документацию, проверив при этом: ее
комплектность; соответствие проектных осевых размеров и геодезической основы;
наличие согласований и утверждений; наличие ссылок на материалы и изделия;
наличие перечня работ и конструкций, показатели качества которых влияют на
безопасность объекта и подлежат оценке соответствия в процессе строительства;
наличие предельных значений контролируемых по указанному перечню параметров,
допускаемых уровней несоответствия по каждому из них; наличие указаний о
методах контроля и измерений, в том числе в виде ссылок на соответствующие
нормативные документы. При обнаружении недостатков соответствующая документация
возвращается на доработку.
Входным контролем в соответствии с действующим
законодательством проверяют соответствие показателей качества покупаемых
(получаемых) материалов, изделий и оборудования требованиям стандартов,
технических условий или технических свидетельств на них, указанных в проектной
документации и (или) договоре подряда. При этом проверяется наличие и содержание
сопроводительных документов поставщика (производителя), подтверждающих качество
указанных материалов, изделий и оборудования. При необходимости могут
выполняться контрольные измерения и испытания указанных выше показателей.
Методы и средства этих измерений и испытаний должны соответствовать требованиям
стандартов, технических условий и (или) технических свидетельств на материалы,
изделия и оборудование. Материалы, изделия, оборудование, несоответствие
которых установленным требованиям выявлено входным контролем, следует отделить
от пригодных и промаркировать. Работы с применением этих материалов, изделий и
оборудования следует приостановить. Застройщик (заказчик) должен быть извещен о
приостановке работ и ее причинах.
Входной контроль должен возлагаться на службу
производственно-технологической комплектации предприятия-изготовителя,
инженерно-технический персонал стройки и строительные лаборатории.
Операционный контроль должен осуществляться при
выполнении производственных операций или строительных процессов и обеспечивать
своевременное выявление дефектов и причин их возникновения, а также
своевременное принятие мер по их устранению и предупреждению.
Операционным контролем исполнитель работ
проверяет: соответствие последовательности и состава выполняемых
технологических операций технологической и нормативной документации,
распространяющейся на данные технологические операции; соблюдение
технологических режимов, установленных технологическими картами и регламентами;
соответствие показателей качества выполнения операций и их результатов
требованиям проектной и технологической документации, а также
распространяющейся на данные технологические операции нормативной документации.
Места выполнения контрольных операций, их частота, исполнители, методы и средства
измерений, формы записи результатов, порядок принятия решений при выявлении
несоответствий установленным требованиям должны соответствовать требованиям
проектной, технологической и нормативной документации.
Основные рабочие документы при операционном контроле
качества - схемы операционного контроля, разрабатываемые в составе проектов
производства работ.
Приемочный контроль производится для проверки и
оценки качества законченных строительством объектов или их частей, а также
скрытых работ и отдельных ответственных конструкций.
Все скрытые работы подлежат приемке с
составлением актов их освидетельствования, которые должны составляться на
завершенные процессы, выполненные самостоятельными подразделениями
исполнителей.
Отдельные ответственные конструкции по мере их
готовности подлежат приемке в процессе строительства с составлением акта
промежуточной приемки этих конструкций. В обязательном порядке производится, в
частности, приемка фундаментов под оборудование.
Готовность фундаментов под монтаж должна быть оформлена
актом, подписанным представителями заказчика, строительной и монтажной
организаций. К приемо-сдаточному акту о готовности фундаментов под оборудование
должен быть приложен формуляр на фундамент с указанием: проектных и фактических
отметок поверхностей фундаментов; проектных и фактических основных размеров
фундаментов; расположения и отметок металлических деталей и реперов, заложенных
в тело фундамента, или скоб, закрепленных на конструкциях зданий, фиксирующих
главные оси фундаментов; акта на освидетельствование основания под фундаменты;
документации, характеризующей качество применяемых материалов и выполненных
работ (журналы испытания бетона, бетонирования, акты скрытых работ на укладку
арматуры и т.п.); акта на скрытые работы по виброизоляции фундаментов.
Внешний контроль. Кроме производственного
контроля за качеством строительства осуществляется внешний контроль со стороны
государственных и ведомственных органов контроля и надзора. Проектная
организация осуществляет авторский контроль, застройщик - технадзор заказчика.
Авторский надзор проектных организаций за
качеством строительства осуществляется совместно с технадзором заказчика и
другими органами контроля качества строительства.
Авторский надзор осуществляется на основании
договора (распорядительного документа) и проводится, как правило, в течение
всего периода строительства и ввода в эксплуатацию объекта, а в случае
необходимости - и начального периода его эксплуатации. При осуществлении
авторского надзора за строительством объекта регулярно ведется журнал
авторского надзора за строительством, который составляется проектировщиком и
передается заказчику. Основные обязанности лица, осуществляющего авторский
надзор, заключаются в проведении выборочной проверки соответствия производимых
строительных и монтажных работ рабочей документации и требованиям строительных
норм и правил, выборочного контроля за качеством и соблюдением технологии
производства работ, связанных с обеспечением надежности, прочности,
устойчивости и долговечности конструкций и монтажа технологического и
инженерного оборудования, своевременном решении вопросов, связанных с
необходимостью внесения изменений в рабочую документацию в соответствии с
требованиями ГОСТ Р 21.101-97 "Основные требования к проектной и рабочей
документации" и контроля за исполнением, информировании застройщика
(заказчика) о несвоевременном и некачественном выполнении указаний
специалистов, осуществляющих авторский надзор, для принятия оперативных мер по
устранению выявленных отступлений от рабочей документации и нарушений
требований нормативных документов. Лица, осуществляющие авторский надзор,
вправе, а в случаях, предусмотренных федеральными законами или договором с
застройщиком (заказчиком), обязаны участвовать в освидетельствовании скрываемых
возведением последующих конструкций работ, от качества которых зависят
прочность, устойчивость, надежность и долговечность возводимых зданий и
сооружений, и в приемке в процессе строительства отдельных ответственных
конструкций.
Технический надзор заказчика контролирует
качество строительных материалов, оборудования и выполненных
строительно-монтажных работ, их соответствие проектам, сметам, СНиПу и
государственным стандартам. Работники технического надзора заказчика несут
ответственность за плохое качество работ, принятых от строителей,
несвоевременное оформление актов на скрытые работы и систематически фиксируют в
журналах работ свои замечания по качеству выполненных работ. Без подписи
заказчика "К производству работ" рабочие чертежи считаются
недействительными.
В целях осуществления технического надзора
застройщик (заказчик) может выполнять: проверку наличия у исполнителя работ
документов о качестве (сертификатов в установленных случаях) на применяемые им
материалы, изделия и оборудование, документированных результатов входного
контроля и лабораторных испытаний; контроль соблюдения исполнителем работ
правил складирования и хранения применяемых материалов, изделий и оборудования;
при выявлении нарушений этих правил представитель технадзора может запретить
применение неправильно складированных и хранящихся материалов; контроль
соответствия выполняемого исполнителем работ операционного контроля указанным
требованиям; контроль наличия и правильности ведения исполнителем работ
исполнительной документации, в том числе оценку достоверности геодезических
исполнительных схем выполненных конструкций с выборочным контролем точности
положения элементов; контроль за устранением дефектов в проектной документации,
выявленных в процессе строительства, документированный возврат дефектной документации
проектировщику, контроль и документированная приемка исправленной документации,
передача ее исполнителю работ; контроль исполнения исполнителем работ
предписаний органов государственного надзора и местного самоуправления;
контроль соответствия объемов и сроков выполнения работ условиям договора и
календарному плану строительства; оценку (совместно с исполнителем работ)
соответствия выполненных работ, конструкций, участков инженерных сетей,
подписание двухсторонних актов, подтверждающих соответствие; контроль за
выполнением исполнителем работ требования о недопустимости выполнения
последующих работ до подписания указанных актов; заключительную оценку
(совместно с исполнителем работ) соответствия законченного строительством
объекта требованиям законодательства, проектной и нормативной документации. Для
осуществления технического надзора застройщик (заказчик), при необходимости,
может сформировать службу технического надзора, обеспечив ее проектной и
необходимой нормативной документацией, а также контрольно-измерительными
приборами и инструментами.
2.5 Календарное планирование
ОБЩИЕ ПОЛОЖЕНИЯ
В составе проекта производства работ календарные
планы являются одним из основных документов, которые на основе подсчитанных
объемов строительно-монтажных работ и принятых методов производства определяют
сроки строительства и очередность возведения зданий и сооружений.
Календарные планы служат основой для разработки
графиков потребности в рабочих кадрах, расхода и завоза строительных
материалов, изделий и конструкций.
Календарный план производства работ по объекту в
виде линейного графика обычно разрабатывают в следующем порядке:
Определяют номенклатуру работ, включаемую в
календарный план.
Рассчитывают объемы работ.
Способы и методы производства работ и средства
механизации принимают в соответствии с технико-экономическим обоснованием.
Определяют трудоемкость работ (чел./дн.) и
потребное количество маш./смен.
работ основных строительных работ.
Устанавливают последовательность выполнения
работ.
Устанавливают состав бригад и звеньев.
Устанавливают сменность работ.
Устанавливают продолжительность отдельных видов
работ, возможность их совмещения, уточняют сроки начала и окончания работ.
Составляют графики движения рабочих, графики
расхода материалов и деталей, работы основных машин.
Сравнивают расчетные сроки строительства с
директивными и при необходимости производят коррекцию календарного плана.
ОПРЕДЕЛЕНИЕ СОСТАВА И ОБЪЕМА РАБОТ НА ОБЪЕКТЕ
После анализа рабочих чертежей
(архитектурно-конструктивной части) устанавливается номенклатура работ по
объекту, степень укрупнительной сборки конструкций на площадке и др. В
соответствии с принятым вариантами методов производства работ производится
разбивка объекта на захватки, ярусы и др.
Состав и объем работ по объекту приводится в
таблице ”Календарный план ”.
ВЕДОМОСТЬ ОПРЕДЕЛЕНИЯ ПОТРЕБНОСТЕЙ В ОСНОВНЫХ
РЕСУРСАХ
Определение потребностей в строительных
материалах, изделиях и конструкциях.
Табл. 9 - Ведомость потребности в строительных
конструкциях, изделиях, материалах и оборудовании
|
№
п/п
|
Наименование
|
Единица
измерения
|
Всего
по строительству
|
Примечание
|
|
А
|
Б
|
В
|
Г
|
Д
|
|
1.
|
Арматурные
каркасы и сетки массой до 100кг
|
шт.
|
100
|
для
устройства фундаментов
|
|
2.
|
Деревянная
опалубка щиты до 2м2
|
м2
|
3310
|
|
|
3.
|
Бетон
В15
|
м3
|
1047,134
1319,25
|
для
устройства фундаментов для устройства полов
|
|
4.
|
Фундаментные
балки ж/б
|
шт.
|
62
|
для
монтажа основного каркаса пром. здания
|
|
5.
|
Колонны
основного каркаса ж/б
|
шт.
|
106
|
|
|
6.
|
Подкрановые
балки ж/б
|
шт.
|
61
|
|
|
7.
|
Стропильные
фермы ж/б
|
шт.
|
61
|
|
|
8.
|
Плиты
покрытия ж/б
|
шт.
|
482
|
|
|
9.
|
Колоны
фахверка
|
шт.
|
29
|
|
|
10.
|
Стеновые
панели керамзитобетонные
|
шт.
|
943
|
|
|
11.
|
Пенополистирол
|
м2
|
8795
|
для
устройства кровли
|
|
12.
|
Цементно-песчаный
раствор В7,5
|
м3
|
175,9
175,9
|
для
стяжки кровли для стяжки пола
|
|
13.
|
Наплавляемый
рулонный кровельный материал
|
м2
|
16790
|
для
устройства кровли
|
|
14.
|
Оконный
блок
|
шт.
|
1245
|
для
монтажа основного каркаса пром. здания
|
|
15.
|
Ворота
со встроенными дверными блоками
|
шт.
|
8
|
|
|
16.
|
Известковый
раствор
|
л
|
3760
|
для
отделочных работ
|
|
17.
|
Масляная
краска
|
л
|
3760
|
|
|
18.
|
Гравий
|
м3
|
175,9
|
для
устройства кровли
|
|
19.
|
Песок
среднезернистый (Fоснх0,2)
|
м3
|
239,076
|
для
устройства фундаментов (подсыпка)
|
|
20.
|
Материалы
для водопровода и канализации
|
-
|
-
|
-
|
|
21.
|
Материалы
для электроснабжения
|
-
|
-
|
-
|
|
22.
|
Материалы
для отопления и вентиляции
|
-
|
-
|
-
|
|
23.
|
Привозной
грунт
|
м3
|
11906,521
|
Для
обратной засыпки
|
Определение потребности основных строительных
машинах и механизмах.
Табл. 10 - Ведомость потребности в основных
строительных машинах и механизмах
|
№
п/п
|
Наименование
строительной машины или механизма
|
Марка
|
Ед.изм.
|
Кол-во
|
|
А
|
Б
|
Г
|
В
|
Д
|
|
1.
|
Бульдозер
|
ДЗ
- 18
|
шт.
|
1
|
|
2.
|
Экскаватор
|
ЭО-5111
|
шт.
|
1
|
|
3.
|
Автомобильный
кран г/п 25т
|
КС-45717
|
шт.
|
1
|
|
4.
|
Кран
гусеничный г/п 100т
|
СКГ-100
|
1
|
|
5.
|
Кран
гусеничный г/п 25т
|
ДЭК-25Г
|
шт.
|
1
|
|
6.
|
Самосвал
|
ЗИЛ
- ММЗ - 555
|
шт.
|
5
|
|
7.
|
Грузовой
автотранспорт
|
КамАЗ-55111
|
шт.
|
2
|
|
8.
|
Автобетононасос
|
СБ-207
|
шт.
|
1
|
|
9.
|
Автобетоносмеситель
|
58147Z
|
шт.
|
3
|
|
10.
|
Ручная
электрическая трамбовка
|
ИЭ-4504
|
шт.
|
1
|
|
11.
|
Растворонасосы
|
СО
48
|
шт.
|
1
|
|
12.
|
Сварочный
аппарат
|
ВД-43
|
шт.
|
2
|
|
13.
|
Автовышки
|
"MANITOU"
MRT 2540
|
шт.
|
2
|
|
14.
|
Краскораспылитель
|
СО
- 71Б
|
шт.
|
2
|
|
15.
|
Красконагнетательный
бак
|
СО
- 12Б
|
шт.
|
1
|
|
16.
|
Поверхностный
виброуплотнитель
|
ВУ
- 155
|
шт.
|
2
|
|
17.
|
Насос
|
ХМс
6,3/25К - 3/2
|
шт.
|
3
|
Табл. 11 - Транспортные средства для перевозки
сборных железобетонных конструкций
|
№п/п
|
Наименование
элемента
|
Вес
элемента, т
|
Наименование
транспортного средства
|
Грузоподъемность,
т
|
Габаритные
размеры, мм
|
Кол-во
перевозимых элементов за 1 раз
|
Потребное
кол-во машин
|
|
А
|
Б
|
В
|
Г
|
Д
|
Е
|
Ж
|
З
|
|
1.
|
Колонна
крайнего ряда 2-ветвевая,
|
14,8
|
Полуприцеп-платформа
Б-18
|
24
|
18000
1650 1610
|
1
|
24/1=24
|
|
2.
|
|
9,7
|
Полуприцеп-платформа
Б-18
|
24
|
18000
1650 1610
|
2
|
36/2=18
|
|
3.
|
Колонна
среднего ряда 2-ветвевая,
|
17,9
|
Полуприцеп-платформа
Б-18
|
24
|
18000
1650 1610
|
1
|
12/1=12
|
|
4.
|
Колонны
фахверка
|
3,145
|
Полуприцеп-платформа
ББ-20
|
20
|
17000
2640 2830
|
3
|
16/3=6
|
|
5.
|
Подкрановая
балка L=6м и
|
4,18
|
Полуприцеп
- платформа ПП20-П0
|
20
|
12000
2600 1600
|
4
|
64/4=16
|
|
6.
|
Стеновые
панели L=6м Н=1,8м и 1,2м
|
1,2
|
Полуприцеп
- панелевоз НАМИ-790
|
16
|
9900
2650 3750
|
5
|
313/5=63
|
|
7.
|
|
1,7
|
Полуприцеп
- панелевоз НАМИ-790
|
16
|
9900
2650 3750
|
8
|
29/8=4
|
|
8.
|
Стеновые
панели доборные
|
0,25
|
Полуприцеп
- панелевоз НАМИ-790
|
16
|
9900
2650 3750
|
37
|
86/37=2
|
|
9.
|
Плиты
покрытия 6х3м
|
2,65
|
Полуприцеп
- панелевоз УПЛ-0906
|
9
|
9900
2650 3725
|
3
|
128/3=43
|
|
10.
|
Ферма
L=24м L=18м L=15м (полуферма)
|
12,2
8,3 8,375
|
Полуприцеп
- фермовоз 65:ПФН2424 (УПФ18 (24) 20)
|
90
|
27045
2500 3400
|
1
|
90/1=90
|
Составление графика, изменение численности
работающих.
На основе календарного плана составляют график
потребности в рабочих кадрах по объекту по форме, предусмотренной СНиП
3.01.01-85. Однако этот график, содержащий лишь среднесуточное количество
рабочих по месяцам строительства, не даёт представления об изменении числа
рабочих на каждый день месяца, что является важным для оценки равномерности
использования рабочих бригад. Поэтому необходимо также строить график изменения
числа рабочих на каждый день.
Ежедневное общее число рабочих получают путём
суммирования количества всех рабочих, работающих в этот день на всех
строительных процессах, а для рабочих одной профессии - суммированием числа
рабочих данной профессии.
Следует стремиться к тому, чтобы число рабочих
данной профессии на объекте по возможности сохранялось постоянным. При
неравномерном графике движения рабочих по профессиям необходимо исправить
календарный план, изменив сроки начала или окончания выполнения отдельных
строительных процессов. При этом не должна нарушаться технологическая
последовательность строительства объекта.
Составление графика поступления строительных материалов,
изделий и конструкций.
График потребности в материалах, полуфабрикатах,
конструкциях и изделиях составляют на основе календарного плана (см.
календарный план).
Составление графика работы машин и механизмов.
Сроки начала и окончания работы основных
строительных машин устанавливают по календарному плану (см. календарный план).
Показатели календарного планирования (ТЭП).
Об оптимальности принятых решений в календарном
плане, судят, главным образом, по двум показателям:
.Коэффициент установившегося потока:
Где:
- число дней по СНиП ;
- всего рабочих дней по календарному
плану;
.Коэффициент неравномерного движения
рабочих:
В календарных планах приводится так
же основные технико-экономические показатели: (приведено в графической части.)
2.6 Проектирование строительного
генерального плана
ОБЩИЕ ПОЛОЖЕНИЯ (исходные данные и
порядок проектирования)
Исходными материалами для разработки
строительного генерального плана должны служить:
задание на разработку, выдаваемое
строительной организацией как заказчиком проекта производства работ, с
обоснованием необходимости разработки его на здание (сооружение) в целом, его
часть или вид работ и с указанием сроков разработки;
проект организации строительства;
необходимая рабочая документация;
условия поставки конструкций,
готовых изделий, материалов и оборудования, использования строительных машин и
транспортных средств, обеспечения рабочими кадрами строителей по основным
профессиям, производственно-технологической комплектации и перевозки
строительных грузов, а в необходимых случаях также условия организации
строительства и выполнения работ вахтовым методом;
материалы и результаты технического
обследования действующих предприятий, зданий и сооружений при их реконструкции,
а также требования к выполнению строительных, монтажных и специальных
строительных работ в условиях действующего производства.
Строительный генеральный план
включает в себя:
границы строительной площадки и виды
ее ограждений;
действующие и временные подземные,
наземные и воздушные сети и коммуникации;
постоянные и временные дороги;
схемы движения средств транспорта и
механизмов;
места установки строительных и
грузоподъемных машин;
пути их перемещения и зоны действия,
размещения постоянных, строящихся и временных зданий и сооружений;
места расположения знаков
геодезической разбивочной основы;
опасных зон, путей и средств подъема
работающих на рабочие ярусы (этажи);
проходы в здания и сооружения;
размещение источников и средств
энергообеспечения и освещения строительной площадки;
расположение заземляющих контуров;
мест расположения устройств для
удаления строительного мусора;
площадок и помещений складирования
материалов и конструкций;
площадок укрупнительной сборки
конструкций;
расположение помещений для
санитарно-бытового обслуживания строителей, питьевые установки и места отдыха;
зоны выполнения работ повышенной
опасности.
Общие принципы проектирования
стройгенплана:
Стройгенплан является частью
комплексной документации на строительство, и его решения должны быть увязаны с
остальными разделами проекта.
Решения стройгенплана должны
отвечать требованиям строительных нормативов.
Стройгенплан должен обеспечивать
наиболее полное удовлетворение бытовых нужд работающих на строительстве; это
требование реализуется путём продуманного подбора и размещения бытовых
помещений, устройств и пешеходных пут.
Временные здания, сооружения и
установки (кроме мобильных) располагают на территориях, не предназначенных под
застройку до конца строительства.
Решения стройгенплана должны
обеспечивать рациональное прохождение грузопотоков на площадке путём сокращения
числа перегрузок и уменьшения расстояний перевозок. Это требование прежде всего
относится к массовым, а также особо тяжёлым грузам.
Правильное размещение монтажных
механизмов, установок для производства бетонов и растворов, складов, площадок
укрупнительной сборки - основное условие решения этой задачи
Принятые в стройгенплане решения
должны отвечать требованиям техники безопасности и условиям охраны окружающей
среды.
Затраты на временное строительство
должны быть минимальными. Сокращение затрат достигается: использованием
постоянных объектов, уменьшением объёма временных зданий, сооружений и
устройств с использованием инвентарных решений.
РАЗМЕЩЕНИЕ МАШИН И МЕХАНИЗМОВ НА
ПЛОЩАДКЕ СТРОИТЕЛЬСТВА