Материал: Оборудование для кустового бурения скважин

Внимание! Если размещение файла нарушает Ваши авторские права, то обязательно сообщите нам

Техническая характеристика.

Полезный объем резервуаров, м3:

бурового раствора 120

технической воды 40

жидких химических реагентов 18

Количество вертикальных шламовых насосов ВШН-150 1

Количество горизонтальных шламовых насосов 6Ш8-2 4

Количество гидравлических перемешивателей бурового раствора 8

Суммарная мощность электрооборудования, кВт 162,4

Масса оборудования, кг 79000

Рис.9 Циркуляционная система ЦС2-3000ЭУК

В состав циркуляционной системы входят следующие основные узлы: блок очистки бурового раствора 1 (рис.9) с виброситом ВС-1, гидроциклонным пескоотделителем ПГ-50, илоотделителем ИГ-50, дегазатором ДВС-Ш и вертикальным шламовым насосом; четыре резервуара 2 бурового раствора со встроенными коммуникациями и гидравлическими перемешивателями; две группы спаренных горизонтальных шламовых насосов 5, емкость 4 технической воды; резервуар 5 химреагентов; центробежный водяной насос 6 и растворопроводы 7 и 5, связывающие блок очистки с вышечно-лебедочным блоком и резервуарами ЦС соответственно. Кроме того, в состав системы входят электрооборудование, запорная арматура и быстросъемные соединения, а по согласованию с заказчиком дополнительно поставляется блок приготовления раствора из порошкообразного материала (БПР).

3.2 Циркуляционная система ЦСЗ-ЗОООЭУК


ЦСЗ-ЗОООЭУК является модификацией циркуляционной системы ЦС2-3000ЭУК. Отличительной особенностью системы является установка блока очистки на самостоятельный колесно-рельсовый ход и передвижение его в процессе разбуривания куста скважин вместе с вышечно-лебедочным блоком.

Такая модификация позволяет сократить протяженность растворопровода от устья скважины до блока очистки и тем самым способствует обеспечению заданных уклонов растворопровода при разбуривании большого числа скважин в кусте. Кроме того, за счет перемещения блока очистки практически исключается скопление вблизи него выбуренной породы, что, в свою очередь, снижает трудоемкость работ, связанных с демонтажем блока и высвобождением металлоконструкций основания от шлама.

Вместе с тем для ускорения монтажа и повышения транспортабельности циркуляционной системы в качестве основания и укрытия резервуаров можно использовать типовые конструкции насосного блока буровой установки БУ-3000ЭУК.

На рис.10 приведена схема взаимного расположения на площадке блока 1 очистки бурового раствора, вышечно-лебедочного блока 2 и шламового амбара. Блок очистки для установки его на направляющих 3 развернут здесь относительно вышечно-лебедочного блока на 90° и вибросито смонтировано в торцевой части.

Передвижное основание блока очистки выполнено в виде сварной рамы 4 с шарнирно закрепленными к ней и установленными на рельсы направляющих четырьмя тележками 5. Направляющие собираются из четырех металлических опор длиной по 12,5 м и располагаются в два ряда. Расстояние между рядами фиксируется винтовыми стяжками 6. Блок очистки системы передвигается в кусте одновременно с вышечно-лебедочным блоком буровой установки с помощью тракторной тяги.

Рис.10. Схема монтажа блока очистки циркуляционной системы ЦСЗ-ЗОООЭУК

4. Новые модификации буровых установок для кустового строительства скважин


4.1 Эшелонная установка бурового оборудования


Эшелонное расположение бурового оборудования при кустовом строительстве скважин предусматривает совместную компоновку вышечно-лебедочного, насосного и резервуарного блоков на направляющих и передвижение в кусте всего комплекса оборудования, участвующего в бурении.

В Западной Сибири с эшелонным расположением блоков монтировались буровые установки БУ75БрЭ-70 и БУ-3000ЭУК. Однако в принципе в таком исполнении может быть смонтирована любая буровая установка, непременным условием при этом является монтаж оборудования на крупных блоках.

На рис.11 представлена буровая установка БУ-3000ЭУК с эшелонным расположением оборудования. Как видно из рисунка, на направляющие установлены вышечно-лебедочный блок, насосный блок и блок резервуаров. Кроме оборудования, входящего в комплект поставки буровой установки БУ-3000ЭУК, при переводе на эшелонную компоновку используются конструкции серийного основания и укрытия насосного блока для размещения; резервуаров циркуляционной системы, две направляющие балки и восемь ходовых колес с опорами. Дополнительно изготовляются кронштейн под вибросита для установки их на вышечно-лебедочном блоке и две пары колесных балок, необходимых для перевода насосного блока и блока резервуаров буровой установки на новую компоновку.

Кронштейн вышечно-лебедочного блока представляет собой пространственную ферму, изготовленную из труб с площадками для обслуживания вибросит и перильными ограждениями.

Колесные балки изготавливаются из проката. На концах каждой балки устанавливается по одному ходовому колесу. Для закрепления колес к балке используются болтовые соединения.

Первичный монтаж буровой установки БУ-3000ЭУК с эшелонным расположением оборудования для ускорения строительства буровой рекомендуется вести одновременно на двух объектах. Первый из них - вышечно-лебедочный блок монтируется непосредственно на скважино-точке, второй - на некотором удалении, достаточном для свободного проезда техники между объектами. Это позволяет лучше организовать работу отдельных звеньев вышкомонтажной бригады, а также обеспечить условия для соблюдения необходимых требований техники безопасности.

Расчленение буровой на два объекта лучше всего производить следующим образом. Сначала полностью монтируются направляющие. Затем одна или две пары направляющих балок в середине путепровода демонтируются, в результате чего образуется два участка, на одном из которых можно производить сборку вышечно-лебедочного блока, на другом - насосного и резервуарного. После окончания монтажа всех блоков направляющие вновь устанавливаются на свои места, и насосно-циркуляционная группа оборудования передвигается на колесно-рельсовом ходу с помощью тракторной тяги и состыковывается с вышечным блоком.

Рис.11 Общий вид буровой установки БУ-30ООЭУК с эшелонным расположением оборудования: 1 - вышечно-лебедочный блок; 2 - компрессорная станция; 3 - воздухоосушка; 4 - ресивер; 5 - основание блока резервуаров; 6 - гидромешалка; 7 - основание насосного блока; 8 - вибросито; 9 - кронштейн; 10 - растворопровод; 11 - шламовый насос; 12 - гидроциклон; 13 - илоотделитель; 14 - дозировочная емкость; 15 - переходная площадка; 16 - балка грузоподъемного механизма; 17 - укрытие; 18 - резервуар; 19 - буровой насос; 20 - электропривод насоса; 21 - направляющая

4.2 Буровая установка БУ-3000ЭУК-1


Используя опыт кустового бурения скважин на предприятиях Главтюменнефтегаза и опыт эксплуатации буровых установок БУ-ЗОООЭУК, в Г10 "Уралмаш" разработана и освоена производином установка БУ-3000ЭУК-1 с эшелонным расположением блоков.

При разработке новой буровой установки в целях унификации максимально использованы серийно изготовляемые узлы и оборудование с установки БУ-3000ЭУК. Исключение составили блок резервуаров, блок компрессоров и электрооборудования, а также общая компоновка оборудования.

Вместе с тем переработаны с использованием серийных узлов и деталей механизм перемещения и выравнивания, основание и укрытие насосного блока, воздухопровод и разводка электрокабелей.

Техническая характеристика буровой установки БУ-3000ЭУК-1 и состав основного оборудования в целом соответствуют характеристике и составу оборудования базовой установки БУ-3000ЭУК. При этом в состав основного оборудования установки БУ-3000ЭУК-1 вошли дополнительно: основание и укрытие блока резервуаров, основания блока компрессоров и электрооборудования, направляющие балки путепровода и колеса.

В состав комплектующего оборудования новой установки вошли также циркуляционная система ЦСЗ-ЗОООЭУК и манифольд нагнетательный для кустового бурения в блочном исполнении.

Основное оборудование буровой установки БУ-3000ЭУК-1 размещено на вышечно-лебедочном, насосном и резервуарном блоках, а также на блоке компрессоров и электрооборудования (рис.12).

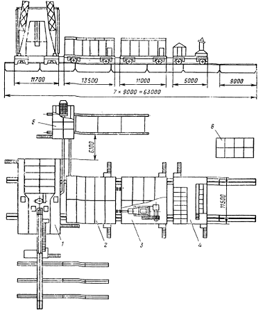
Для совместного передвижения в кусте бурового комплекса насосный блок, блок резервуаров и компрессорный блок установки снабжены ходовыми колесами и перемещаются в процессе разбуривания куста скважин вместе с вышечно-лебедочным блоком по направляющим балкам. Количество балок здесь увеличено с четырех пар до семи, а общая длина путепровода достигает 63 м.

Вышечно-лебедочный блок буровой установки БУ-3000ЭУК-1, со всем расположенным на нем оборудованием, полностью соответствует блоку буровой установки БУ-3000ЭУК.

На насосном блоке, так же как и на базовой установке, расположены два буровых насоса с электроприводами, шкафы и пульты управления насосами.

Конструкция основания блока аналогична конструкции основания блока резервуаров и отличается от последнего только общими габаритами, а также длиной и высотой верхних рам.

Конструкция укрытия также аналогична укрытию блока резервуаров. При этом в укрытии насосного блока исключены дефлекторы и окна в панелях стен.

На блоке компрессоров и электрооборудования размещены распределительное устройство, установка для осушки воздуха и компрессорный блок. Последний полностью заимствован с буровой установки БУ-3000ЭУК.

Основание блока состоит из двух нижних (продольных) и двух верхних рам, соединенных между собой болтами. К нижним рамам закрепляются ходовые колеса блока, а к верхним - кронштейны под тяжеловозы. Конструкция основания, как и оснований насосного блока и блока резервуаров установки, предусматривает возможность разделения всей сборки на две транспортные единицы для перевозки их на платформах ПП-40Бр.

Энергоблок, включающий дизель-электрическую станцию, основание и укрытие, полностью заимствован с установки БУ-3000ЭУК и размещается на площадке стационарно. Для разбуривания куста скважин он комплектуется необходимым запасом кабеля. В случае необходимости блок можно передвигать в пределах куста волоком.

Рис.12 Общий вид буровой установки БУ3000ЭУК-1: 1 - вышечно-лебедочный блок; 2 - блок резервуаров; 3 - насосный блок; 4 - блок компрессоров и электрооборудования; 5 - блок очистки ЦСЗ-ЗОООЭУК; 6 - энергоблок.

. Ремонт специальных буровых установок для кустового строительства скважин

На время ведения прострелочных работ (перфорации эксплуатационных колонн, ремонтных работ и т.д.) вокруг скважины устанавливается опасная зона радиусом не менее 10 м. Прострелочные работы должны проводиться с соблюдением требований безопасности.

Освоение скважин на кусте независимо от способа их последующей эксплуатации должно производиться в соответствии с планом работ, утвержденным техническим руководителем предприятия и согласованным с заказчиком. Подготовка к работам по освоению скважин и сам процесс освоения должны соответствовать установленным требованиям безопасности.

При освоении скважин с использованием инертных газов с помощью передвижного компрессора, последний должен устанавливаться на расстоянии не менее 25 м от устья скважины.

Устья скважин на кусте должны быть оборудованы (в зависимости от способа эксплуатации) однотипной арматурой, а их колонные фланцы должны быть расположены на одном уровне от поверхности кустовой площадки.

Необходимость и порядок установки на высокодебитных скважинах, а также на скважинах с высоким газовым фактором клапанов-отсекателей и дистанционно управляемых устьевых задвижек определяются проектом исходя из условия обеспечения безопасности работ.

С вводом в эксплуатацию первой скважины на кусте должен быть установлен порядок контроля загазованности воздушной среды всей территории кустовой площадки. Разработка графика, определение места отбора проб и порядок контроля осуществляются представителем пользователя недр (заказчиком). Реализация этого контроля возлагается на ответственного руководителя работ на кустовой площадке.

После завершения работ по бурению и освоению скважин кустовая площадка должна быть освобождена от бурового оборудования, не использованных при строительстве материалов, инструментов, отходов бурения и т.п. После сдачи заказчику кустовой площадки или ее части по акту подрядчик не несет никакой ответственности за инциденты и происшествия на этой территории. Прием в эксплуатацию каждого опасного производственного объекта на кустовой площадке производится в установленном порядке.

. В пределах запретных (опасных) зон у эксплуатирующихся скважин не допускается присутствие лиц и транспортных средств, не связанных с непосредственным выполнением работ.

Работы по ремонту скважин должны проводиться специализированной бригадой по плану, утвержденному техническим руководителем предприятия. План работ должен включать необходимые мероприятия по промышленной безопасности и охране окружающей среды.

Ремонт скважин без остановки соседних скважин допускается при условии разработки и реализации специальных мероприятий, исключающих возможность опасного воздействия на работающие скважины. Указанные мероприятия должны быть предусмотрены в плане работ. При дополнительном вскрытии продуктивных отложений соседние скважины должны быть остановлены и при необходимости заглушены.

Допускается одновременная работа двух специализированных бригад по ремонту или освоению скважин на одной кустовой площадке. Инструкция по безопасности ведения таких работ разрабатывается предприятием и согласовывается с соответствующим территориальным органом Госгортехнадзора России.

При ремонте скважины на газлифтных кустах перед расстановкой оборудования нагнетание газа в ремонтируемую скважину, а также в соседние скважины слева и справа на период расстановки оборудования прекращается. Установка специальной техники на трассах газопроводов газлифта запрещается.

Демонтаж буровой установки с кустовой площадки, транспортирование ее блоков и узлов производятся при остановке скважин, находящихся в опасной зоне.

Заключение


Кустовое бурение находит широкое применение в нефтедобывающей промышленности. Особенно важен этот метод в Западной Сибири, где месторождения расположены в болотистой зоне и тундре.

Отечественный и зарубежный опыт показал, что бурение скважин кустами дает возможность значительно сократить строительно-монтажные работы, уменьшить объем строительства дорог, водопроводов, линий электропередач и связи и т.д., упростить обслуживание эксплуатируемых скважин и сократить объемы перевозок. В настоящее время кусты скважин становятся крупными промышленными центрами с базами материально-технического снабжения, вспомогательными цехами и т.д. В целом кустовой способ бурения сокращает затраты на обустройство промысла, упрощает автоматизацию процессов добычи и обслуживания, а также способствует охране окружающей среды при освоении нефтяных и газовых месторождений. В этом случае можно полнее осуществлять сбор всех продуктов отхода бурения и уменьшать вероятность понижения уровня грунтовых вод на огромных территориях, которое может возникнуть вследствие нарушения целостности водоносных горизонтов.